видео-инструкция как сделать самодельную лодку своими руками, постройка, проекты, чертежи и выкройки, фото и цена
Все фото из статьи
Очень многие хотели бы иметь в собственности плавательное средство, но, как известно, стоимость готовых вариантов очень высока и не по карману большинству покупателей. Если вы думаете, что сделать хороший каютный катер из фанеры своими руками без определенных навыков невозможно, то это далеко не так, и в данном обзоре мы расскажем, как можно реализовать подобный проект в домашних условиях.
На фото: если вы готовы потратить время и силы, то сможете получить роскошный катер, который обойдется в десятки раз дешевле готового варианта
Что понадобится для работы
На самом деле полный перечень очень велик, поэтому мы расскажем об основных комплектующих, чтобы у вас под рукой были все самые главные материалы, без которых процесс не возможен:
| Фанера | Чаще всего используется материал толщиной 4-5 мм, он весит немного, что упрощает работу и при этом обладает достаточно высокой надежностью. Также вам понадобится вариант толщиной 10 мм, из него будут изготавливаться шпангоуты. Количество фанеры зависит от выбранного вами проекта, поэтому расчет производится индивидуально в каждом отдельном случае |
| Деревянный брусок | Чаще всего используются бруски размером 50х20 мм, но могут применяться и другие типоразмеры пиломатериалов. Эти элементы применяются для создания каркаса, повышающего жесткость конструкции |
| Медная проволока | С ее помощью стягиваются элементы киля, лучше выбирать вариант толщиной 3-4 мм, чтобы проволока не рвалась при скручивании и обеспечивала высокую надежность фиксации |
| Эпоксидная смола | С ее помощью будет производиться склеивание элементов и обработка поверхности, количество состава также может варьироваться, так как его расход зависит от множества факторов. Важно выбирать хорошие варианты составов, чтобы обеспечить наилучшее качество проведения работ, не стоит экономить на эпоксидке |
| Стеклоткань | С ее помощью будет проводиться укрепление всех имеющихся стыков, а также армирование поверхности для увеличения прочности. Важно, чтобы материал был достаточной ширины для того, чтобы закрывать поверхности при оклеивании катера |
Совет! Также у вас в наличии должен быть необходимый измерительный инструмент – рулетка, угольник и карандаш, а также электрический лобзик для резки всех деревянных элементов. Точность измерений очень важна, как и высокое качество резки.

Стеклоткань позволяет делать самодельные катера из фанеры очень надежными и долговечными
Описание рабочего процесса
Отметим сразу – изготовление катера своими руками процесс довольно длительный, к тому же у вас должно быть помещение, в котором будут производиться работы, чаще всего используется гараж или другое строение достаточного размера.
Сооружение корпуса
Процесс производится в следующей последовательности:
- Можно сделать чертежи катера своими руками из фанеры, но гораздо проще найти готовый вариант с подходящими вам параметрами, так как есть множество важных нюансов, которые не знают те, кто не является специалистом в области постройки плавательных средств. Лучше всего проконсультироваться со знатоками, чаще всего они могут предложить проект или порекомендовать хороший вариант;

Лучше найти готовые чертежи и выкройки катера из фанеры – своими руками сделать их непросто, и вы сможете сэкономить очень много времени и исключить ошибки и просчеты
- Работа начинается с того, что листы сращиваются между собой, это можно сделать с помощью прикрепления накладки, которая закрепляется эпоксидкой и саморезами, важно, чтобы у вас в итоге получились элементы нужной длины. На следующий день можно продолжать рабочий процесс;
- Чтобы постройка катера из фанеры своими руками проходила максимально качественно и быстро, необходимо на все заготовки нанести координатную сетку размером 100 на 100 мм. Это упростит изготовление элементов, ведь они имеют неправильную форму и точно вырезать их, не имея ориентиров, очень и очень сложно;
Совет! Для того, чтобы выводить идеальные изогнутые линии, проще всего использовать пластиковые планки или короб для прокладки проводов, который прикрепляется саморезами и по которому производится резка. Лучше всего работать электролобзиком, он наиболее качественно режет изогнутые линии.

Изогнутые линии – самая ответственная часть работы при раскройке элементов
- После того, как все заготовки нарезаны, можно приступать к следующей стадии.
Сборка
Процесс состоит из данных работ:
- Все проекты катеров из фанеры состоят из одинаковых элементов, поэтому последовательность операций всегда аналогична. В первую очередь скрепляются элементы днища, для этого вдоль соединения на расстоянии 15-20 мм сверлятся отверстия под проволоку и части стягиваются. При этом не стоит прикладывать слишком большое усилие, чтобы не повредить материал;
- Далее устанавливаются поперечные элементы жесткости, которые называются шпангоутами, их проще всего вырезать из фанеры толщиной 9-10 мм. Они приклеиваются эпоксидной смолой и дополнительно прикручиваются саморезами. Также крепятся продольные рейки 50х20, которые называются стрингерами. В шпангоутах можно сразу же сделать вырезы под лаги, чтобы впоследствии не работать в стесненных условиях;
- Затем устанавливаются бортовые элементы, в них делаются вырезы под стрингеры и ставятся сами элементы жесткости, после этого можно приклеивать и прикручивать саморезами фанеру для бортов. Соединения изнутри для дополнительной прочности промазываются эпоксидной смолой и закрываются одним слоем стеклоткани;

Так выглядит процесс сборки
- После того, как все элементы скреплены между собой, необходимо перевернуть конструкцию. Для этого ее проще всего вынести и сделать это на улице, так как помещение такой площади, чтобы сделать это внутри, найти очень сложно. Для того чтобы не повредить конструкцию, ее проще всего уложить на старые автомобильные покрышки;
- Далее необходимо выкрутить все саморезы изнутри и заделать их эпоксидной смолой, после этого замазываются и все соединения, чтобы заполнить щели и сделать поверхность максимально ровной. После высыхания первого слоя производится наклеивание стеклоткани шириной 10 см, затем клеится полоса 17 см, а третий элемент должен иметь еще большую ширину, чтобы перекрывать два первых, это позволяет придать всем изгибам жесткость;

Чтобы фанерные катера были надежными, необходимо тщательно проклеивать все соединения
- Далее наружная часть оклеивается всплошную, лучше сделать это в 2-3 слоя. После высыхания производится шлифовка и шпаклевка поверхности для того, чтобы она стала ровной;
- Когда поверхность выровнена, можно перевернуть конструкцию для того, чтобы заполнить все полости пенопластом и обшить их листами фанеры изнутри. Сооружение каюты производится по заранее выбранному эскизу, следует помнить, что чем сложнее конфигурация, тем больше времени пойдет на сборку конструкции.
Каюта также оклеивается стеклотканью для усиления
Последний этап – грунтовка влагостойкими составами и окрашивание, важно использовать качественные композиции, их цена выше, но тут не стоит экономить. Если вам не нужен катер, и вы хотите узнать, как сделать лодку, то все производится так же за исключением того, что не требуется сооружение каюты.
Вывод
Конечно, чтобы сделать полноценную конструкцию придется потратить много времени и разобраться в конструктивных особенностях плавсредств. Зато конечный результат будет радовать вас на протяжении многих лет.
Видео в этой статье поможет лучше понять некоторые важные нюансы, а если у вас есть вопросы, то мы ответим на них в комментариях.
rubankom.com
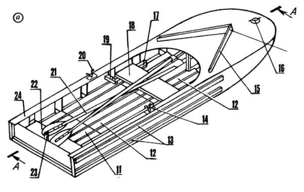
Постройка каютного катера Пиран
Фомин Евгений
В этой статье я расскажу о процессе постройки каютного крейсера «Пиран», который был построен за 1 год (2008-2009 гг.)
Тактико-технические характеристики (ТТХ):
Длина: 5300 мм
Высота борта: 800 мм
Высота борта (общая): 1200 мм
Килеватость: 15°
Транец: 508 мм
В августе 2008 года я закончил свой первый катер, конец августа и начало сентября много катался, радовался, но быстро понял, что 3.3 метра — это очень мало Поэтому было принято решение о начале работ по постройке нового катера. Стал штудировать интернет в поисках подходящего проекта. Ну и как обычно я не нашел то, что мне бы понравилось и снова я решил делать все сам. В Carene сделал корпус лодки. Друзья разрешили попользоваться обычным железным гаражом (6х3 м) в гаражном кооперативе. И 20 сентября купил фанеру и работа началась.


Первым делом удлиннил листы фанеры — для этого использовал накладку и кучу саморезов. За день склеили все необходимые листы.

На следующий день разметка. Делаю координатную сетку 100х100 мм и отмечаю точки по проекту. Далее чтобы получить изогнутую линию использую длинную пластиковую планку или короб для проводов. Устанавливаю по точкам и привинчиваю саморезами, далее обвожу карандашем.

Планки днища и борта выпиливаются по вычерченным линиям, днищевые планки скрепляются по линии киля на проволоке. Проволоку использовал медную — покупал на рынке электрический провод и снимал оплетку. Проволоку желательно потолще, чтобы при закручивании не рвалась. А еще лучше стальную проволову использовать. По линии киля насверливаются дырки в планках днища друг напротив друга в 1.5-2 см от края. Где давление сильное дырки должны быть чаще, следите чтобы проволока не рвала фанеру — ничего страшного, но неприятно.
Далее вклеиваются днищевые стрингеры и устанавливаются шпангоуты на свои места. Накладки укрепляющие стык удлиннения листа фанеры прибавили проблем. В следующий раз буду удлиннять листы встык и проклеивать стеклотканью. Все шпангоуты я сделал за 1 день из 9 мм ФСФ хвойной фанеры и обложил рейкой 50х20. Транец — пирог из 20 мм фанеры, окладка доской 100х20 мм и закрыто снова 20 мм фанерой ФСФ. Получился мощный и очень тяжелый


Устанавливаем бортовые стрингеры и примеряем борта.

В шпангоутах вырезаются выемки под лаги пола трюма. В корме эти рейки врезаются в транец, тем самым укрепляя его и привязывая ко всему силовому набору корпуса. Изнутри все стыки проклеены 1 слоем стеклоткани. Под стеклоткань укладывалась галтель. К бортовым стрингерам приклееваются борта.



Обогреваем гараж газовой пушкой

Корпус собран
Корпус собрали быстро — наверно месяц. Вынесли все из гаража, приготовились к перевороту.



Перевернули корпус и положили его на шины.

Занесли корпус в гараж, все материалы и инструменты и другую шнягу занесли под корпус тем самым освободив место в гараже для работы.

Замазываем все дырки от саморезов эпоксидкой с аэросилом. Скулы и киль тоже промазываем, забивая щели.

Чистой смолой (без аэросила) кисточкой наносим на скулу под ленту стеклоткани. Стеклоткань нарезаем полосками. Первый слой лент стеклоткани шириной примерно 10 см, второй примерно 15-17 см, третий слой примерно 20-22 чтобы каждый следующий слой перекрывал предыдущий. Лента накладывается на чистую смолу и с помощью технического фена и резинового шпателя ткань пропитывается смолой. Там где смолы мало — надо добавить не пересушивая. Нагретая смола может впитываться в фанеру и ее может не хватать чтобы пропитать ткань — добавьте еще. Ткань должна очень хорошо пропитаться. Плохо пропитанная ткань отслаивается от фанеры!!!!

После первого слоя лент стеклоткани укладывается второй и третий слои.

После проклейки скул и киля необходимо оклеить весь корпус. Корпус промазывается чистой смолой и на него накладывается полотно стеклоткани. Таким образом стеклоткань не скользит по корпусу и не падает постоянно.

Феном и резиновым шпателем пропитываем стеклоткань. Товарищ разлил остатки чистой смолы, чтобы я ею допитывал ткань. Процесс достаточно нудный и липкий, но совсем не сложный. Всю операцию по оклейке корпуса стеклопластиком мы с товарищем сделали за 1 день с утра и почти до ночи.

Лишняя ткань на следующий день срезалась. Полотна клались таким образом, чтобы края полотна снова накрывали скулы и киль. В итоге на киле 7 слоев ткани, на скулах 6, днище оклеено 2 слоями и борта в 1 слой стеклоткани.


И тут мы вспомнили, что забыли про реданы. Реданы изготовил из рейки 50х20 мм, распилив ее вдоль под углом ручной циркулярной пилой. Несколько реек конечно было загублено перед тем как я понял как надо вести пилу по рейке, чтобы получалась ровная линия пила и близкий идеальному треугольник сечения. Конец рейки заострен. Чтобы рейка гнулась, а не ломалась в ней лобзиком делаются компенсирующие сжатие прорези. При креплении реданов к корпусу будьте осторожны, т.к. рейки стали очень хрупкими и саморез может разломить ее вдоль. Кончики реданов были вот таким нехитрым способом прижаты к корпусу на время засыхания смолы.
Потом саморезы выкручиваются, дырки замазываются смолой, корпус долго и упорно шпаклюется и шлифуется. И наконец-то наступает момент окраски.
Как и раньше, я использую систему покраски от Akzo Nobel — International. Данная система покраски предусматривает укладку трех слоев эпоксидного грунта International Interprotect. Решил укладывать краскопультом впервые. По этому случаю был приобретен компрессор 50л. В таре смешал компоненты грунта и добавил растворитель №10 на глазок. Дунулась полученная смесь замечательно. Сушка между слоями 1-2 суток, т.к. ударили сильные морозы и грунт долго не мог высохнуть. В итоге три слоя грунта уложены, шероховатость небольшая. За несколько дней весь грунт был пройден вручную шкуркой №180-№320. Далее также из краскопульта дунул в 3 слоя днищевую краску необростайку — International Trilux




Корпус снова перевернут и установлен на прицеп. Больше переворачивать корпус не будем. Укладываю пенопласт в блоки плавучести. Пенопласта уложено около 1м3. Такой объем пенопласта не позволит катеру утонуть. Пенопласт укладывался не только под пол трюма, но и в борта и в подволок каюты, вобщем куда только можно было его запихать.








Началась работа по возведению надстройки. Надстройка фигурная, сложная, многоступенчатая. Любая сложная задача выполнима, если ее поделить на много небольших решаемых задачек. Устанавливается первый ряд планок, потом второй, за ним третий и так до конца. Так как проекта надстройки не существовало на бумаге, а только в моей голове, дизайн придумывался по ходу работы.

Сначала крепилась планка 40х10 мм, смотрелось со стороны как это выглядит, включалась фантазия. Вобщем оценивался дизайн «выпуклым глазом» Далее к утвержденной высоте рейки прикладывалась фанера, очерчивалась, выпиливалась, подгонялась и приклеивалась.









Началась установка бимсов и карлингсов, установлен каркас переборки каюты.

Установлены карлингсы и сделана площадка под якорный роульс. Внутри каюты в якорном ящике — носовой отсек — будет устанавливаться электрическая лебедка от квадроцикла.


Примерка якороного роульса и якоря.


В каюте сделаны стенки и V-образный диван

Вид из каюты. Под полом кокпита разместился топливный бак из 4мм алюминия свареный на заказ по моим размерам на 162л.




Укладывается пенопласт в стенках каюты. Пенопласт нарезался под нужные размеры и приклеивался к стенке эпоксидкой. Видны перекладины пола кокпита. Пол кокпита поднят над полом трюма на 50 см. Перекладины пола кокпита сделаны сэндвичем из 9мм ФСФ фанеры, рейки 50х20 мм и снова 9мм ФСФ фанера. Этот пирог склеен. Всего установлено 7 перекладин. Длина каждой перекладины 1700 мм. Прочность перекладин была очень высокой — пол кокпита выдержал 8 человек и не хруснул. Гнутая фанера — это будущая сдвижная дверца в каюту. Делалась она так: 4мм фанера гнулась, фиксировалась, обмазывалась смолой и на нее приклеивалась еще 4мм фанера. После застывания смолы фанера держит форму.

Установлены стенки трюма из 4мм фанеры и трюм задут грунтовкой Interprotect.

Для придания красивого скругления заднему торцу борта было решено использовать монтажную пену. Пена задувалась в полость, после застывания она обрезалась и шкурилась. Далее рекомендую оклеить эту конструкцию в несколько слоев стеклотканью. Я этого не сделал и очень жалею. Я сделал так: эту зашкуренную пену я обмазал кистью смолой, потом зашпаклевал и зашкурил. Она конечно жесткая, но все равно хлипковат этот декоративный узел. Если кто-то с силой нажмет — то будет вмятина.



Занялся рецессом. Рецесс тоже сложный, весь закругленный, красивый. Полукруглый рецесс сделан из 4мм фанеры. Слева и справа от рецесса 2 платформы вровень с транцем. В боковых стенках рецесса сделаны лючки.




Сделал переборку каюты гнутую. Дверца будет сдвижной в каюту влево. Сделал диванчик в кокпите. Купил палубный люк. Палуба наклеена, в каюте проложены провода под освещение. Будут установлены 4 потолочных светильника. Купил 4 галогеновые лампочки на 12В и при включении всех через некоторое время в каюте становится очень жарко. Можно использовать как отопление в прохладные дни А лучше найти и поставить светодиодные лампочки.

Наклеены декоративные накладки на палубу и на верхний ряд надстройки. Такие вещи очень важны с точки зрения эстетического вида будущего катера. Большие и плоские элементы смотрятся хуже, чем красивая рельефная поверхность.




Весь корпус зашпаклеван, зашкурен и окрашивается грунтовкой в 3 слоя. Днище уже покрашено, поэтому его замаскировал.

Обрабатываю входную дверь в каюту.



Корпус покрыт 3 слоями грунтовки и 3 слоями подмалевка International.










Это вид изнутри на приборную панель. Панель склеена за несколько часов с помощью поксипола, т.к. возможности зафиксировать все мелкие элементы на сутки было невозможно. Пока поксипол застывал — 10 минут — элементы удерживались вместе руками. После застывания поксипола все стыки дополнительно кроклеивались эпоксидной смолой с аэросилом — укладывались галтели. Таким образом можно быстро собрать сложную конструкцию из мелких элементов.

Фотографий окраски корпуса краской International Perfection я почему-то не нашел. В итоге моих долгих мучений получился такой катер. Очень много раз я его перекрашивал и все равно результат мне не нравился, т.к. краска постоянно текла. Было очень много подтеков, а когда я снял маскировку, то оказалось, что синяя краска затекала за малярный скотч. Вобщем качество покраски было ужасным. Уже середина июля и очень хочется на воду. Отчаявшись, я вспомнил, что зимой на выставке MIBS-2009 я познакомился с представителем компании International. Позвонил ему, рассказал обо всем. Он приехал, оценил и пригласил меня в учебный центр компании Akzo Nobel в профессиональную покрасочную камеру.

Прибыли на место.

Обследуем… вот так плохо покрасил.

Сразу же за работу — сдирать все что я накрасил. Шлифуем.

Сошлифовали мою краску.

Закатили в камеру для покраски.

Уложили первый слой подмалевка.

Маляр Серега укладывает второй слой подмалевка.

Второй слой подмалевка уложен.

Положили три слоя подмалевка. Закрыли все что я накрасил.

Выкатили из камеры в зону подготовки, чтобы зашкурить подмалевок.


Лодка замаскирована для окраски бортов.


Началась окраска.

Результат обалденный. Борт — зеркало. Сверкает!!!


Краска International

Замаскировали для покраски белым цветом.

Вот так блестит!!!




Выкатили во двор, ждем мотор.

Привезли мотор Mercury 115 EFI. 4-тактный красавец, масса 185 кг.

Для погрузки организовали тельфер.

Повесили мотор, готовимся к отправлению. Завтра на воду!!!



И вот наконец-то на воде на Оке.






boatportal.ru
Чертежи лодки из фанеры своими руками. Терминология. Характеристики листов. Требования условий эксплуатации. Размеры
Капитан Врунгель считал, что, как корабль назовёшь, он так и поплывёт. Не будем спорить со старым, испытанным морским волком, но всё-таки выдвинем и своё мнение – насколько более тщательно и аккуратно вы подготовите чертежи лодки из фанеры своими руками, так она и будет служить вам долгие годы и в любую погоду. Именно чертежи судна и определят все ваши дальнейшие решения.
Именно они введут вас в этот мир судостроения, в котором правит англо-голландская терминология. А разбираться в терминологии элементов конструкции лодок, а значит успешно читать предлагаемый чертёж, принципиально важно.
До того, как вы разместите в лодке, сделанной своими руками, пару вёсел, необходимо пройти немалый путь и для начала завести себе чертеж лодки из фанерыСогласно старой аксиоме начинать от печки
Чертежи самодельной лодки из фанеры обязательно должны включать строгие указания способов крепления всех элементов — это ключевой вопрос всей конструкцииДействительно, терминология, если вы бросаетесь в такую бездонную область, как построение лодки, имеет огромное и решающее значение. Предлагаем вашему вниманию её основы, касающиеся конструкции лодок, и которые повсеместно фигурируют на чертежах.
Терминология
Поэтому очень внимательно усвойте эти термины, они буквально пронизывают любой сколько-нибудь стоящий чертеж лодки из любого материала.
Вид сбоку
На виде сбоку отмечаем следующие конструктивные элементы лодки, и нельзя сказать, какой из них наиболее важен, какой менее, все элементы обязательны к использованию:
- A – шпангоут. Вы можете выбрать вариант обычной плоскодонки, без шпангоутов, но когда речь идёт о таком стремлении, брошенном в Интернет, как «чертежи фанерная лодка своими руками», надёжность и прочность конструкции выступает на передний план, а значит – шпангоуты обязательны;
- Шпация – расстояние между двумя шпангоутами. Важнейшая характеристика конструкция любой лодки;
- B — ахтерштевень;
- C — форштевень;
- D – брус
- E – кильсон. Очень желательный элемент конструкции, который, правда, часто для лодок отбрасывается;
- F – привальный брус. Без этого элемента не обойтись, если вы собираетесь в лодке делать и надстройку. Для открытых моделей привальный брус не используется.
- I – брештук. Очень советуем этим элементом не пренебрегать, от него сильно зависит прочность всей конструкции.
- J – кница. Кница также предельно важна в обеспечении прочности лодки.
- K – стрингер. Также незаменимый элемент, если подходит к постройке предельно внимательно.
Вид сверхуВид сверху вводит ещё несколько важных терминов:
- A – бимс;
- B – полубимс. Переходит в полный бимс, если вы не сооружаете на лодке надстройку;
- C – каренгс;
- D – мидельвейс.
Вид с бакаВид с бака вводит термины, которые будут принципиально важны на более продвинутом этапе строительства, когда появляется необходимость укрепить корпус лодки и установить парус и киль, улучшив к тому же и ходовые качества:
- A – шпунтовые пояса;
- B – киль. Обеспечивая вес киля процентов в 50 от веса всей лодки, вы значительно повышаете её остойчивость. Ведь никогда не знаешь, как на тебе или на будущих пассажирах скажется качка, а солидный запас сосательных конфет и даже имбиря мало чем сможет помочь в продлении удовольствия присутствия на воде, разве что быстро добраться до берега;
- C – степс. Обязателен, если вы ставите мачту;
- D – шпунт;
- E – пяртнерс. Так называется отверстие в надстройке для прохода мачты. Само собой, если у вас нет надстройки, то о пяртнерсе можете пока забыть;
- F – бархоут. Очень ответственный шпунтовый пояс на уровне ватерлинии, воды;
- H – ширстрек. Самый верхний шпунтовый пояс.
- G – уровень воды;
- I – ватервейс. Данный элемент уже является элементом надстройки.
Можно без преувеличения сказать, что чем точнее и скрупулёзнее будут выполнены чертежи фанерной лодки, тем удачнее будет её плавание в будущем после постройкиФанера
Самым распространённым материалом для изготовления лодок сегодня, безусловно, является углепластик. Но этот материал – вотчина промышленности. Когда речь идёт о самостоятельном творчестве, то на передний план выходит такой «народный» материал, как фанера.
Фанера или по-другому, древесно-слоистая плита – строительный материал, создаваемый склеиванием специально выработанного шпона. Обычно количество слоёв шпона нечётное и, в любом случае, больше 3. Чтобы повысить прочность фанеры, каждый последующий слой шпона своими волокнами древесины перпендикулярен волокнам предыдущего слоя.
Шпангоуты – основа основ любого плавающего средства. Чертежи фанерных лодок, претендующих на нечто большее, чем звание плоскодонки, должны иметь отдельный вариант — расположение шпангоутов
Характеристики фанеры
При выборе фанеры для строительства лодки очень важно правильно выбрать её тип.
По расположению волокон древесины на внешних слоях различают фанеру:
- Продольную, когда волокна направлены по длинной стороне, и,
- Поперечной – по короткой.
Для строительства лодки лучше выбирать – продольную.
Конечно, возможен и такой изометрический чертёж, но это самый простой вариант для рубрики «чертежи лодки из фанеры бесплатно» — здесь нет шпангоутов, а работа во многом схожа со сборкой детского конструктора, разве что детали в десятки раз больше
По предназначению фанера делится на:
- строительную,
- промышленную,
- упаковочную,
- мебельную, и,
- конструкционную – именно эту и выбираем для наших целей.
Существует классификация фанеры и по отношению к воздействию влаги, что принципиально важно для лодки:
- ФБА – такая фанера считается экологически наиболее чистой, но её выбирать не стоит, она не отвечает жестким требованиям по влагостойкости;
- ФК – так обозначается достаточно устойчивая к влаге фанера;
- ФСФ – а так, с повышенной влагостойкостью;
- ФБ – пропитанная бакелитовым лаком, такая фанера считается самой стойкой и может использоваться даже в агрессивных средах, что важно в нашем случае, и под водой;
- БС – такая уже просто пропитывается бакелитовым клеем. Считайте, что если в вашем распоряжении оказалась такая фанера, то на 50% успех всего дела обеспечен. Такая фанера довольно долгое время специально использовалась в авиа и судостроении. В ней счастливо соединились все качества, необходимые для лодочных дел мастера – прекрасная гибкость, высочайшая прочность, полная водонепроницаемость, а ещё устойчивость к гниению и раскисанию;
- БВ – а вот эта пусть не вводит в заблуждение, она во многом похожа на БС, но не обладает влагостойкостью.
О надстройке можно будет подумать и позже, сначала главное – надёжный корпус. Первое испытание на плавучесть и выравнивание ватерлинии происходит без надстройкиПолезный совет!
При выборе фанеры для строительства лодки советуем обратить внимание на ламинированную фанеру.
По крайней мере, будет просто замечательно, если вы используете такую в качестве шпунтовых поясов или на внешнем стороне корпуса, если он однослойный.
Это очень заметно улучшит ходовые качества вашего творения, ведь вода – среда, в которой существенную роль играет сила трения.
С другой стороны, не стоит использовать ламинированную фанеру внутри лодки.
Её скользкая сама по себе поверхность, да ещё и смоченная водой, может доставить немало неприятностей.
Принципиальная характеристика
Когда речь идёт об использовании фанеры для строительства лодки принципиальным будет выбор фанеры по её качеству, определяемом количеством сучков на метр квадратный наружного слоя.
Здесь различают 5 степеней качества:
- E – так называемое, элитное качество, когда сучки отсутствуют совсем. Излишне, наверное, говорить, что всегда необходимо стремиться к выбору именно такой фанеры;
- Ну, а далее, незамысловатая классификация качества — I, II, III и IV. В последнем случае количество сучков не контролируется.
- I – максимальная длина сучков и коробления не превышает 20 мм;
- II — трещины не более 200 мм, допустимы вставки древесины, а просачивание клея допустимо только на площади в 2% от общей площади листа;
- III – не более 10 штук сучков диаметром не более 6 мм. Вводится даже ограничение на общее количество недостатков – не более 9;
- IV – это самое плохое качество с даже выпавшими сучками и дефектами кромок под 5 мм.
Надёжный инструментарий залог успеха всей работы. Инструкция каждого используемого инструмента должна чётко оговаривать возможность работы с фанеройТребования условий эксплуатации
Скорее всего, для строительства лодки вы выберете фанеру из хвойных пород дерева, как самую распространённую. Существует и березовая фанера, но её использование ограничивается слишком высокой ценой.
Здесь очень важно другое – качество обработки наружной поверхности листа фанеры.
По этому показателю различают фанеру:
- НШ – нешлифованную;
- Ш1 – шлифованная с одной стороны;
- Ш2 — шлифованная с двух сторон.
Здесь
fanera-info.ru
Лодка из фанеры своими руками: размеры и чертежи
При изготовлении лодки из фанеры, вы столкнётесь с двумя основными проблемами. Во-первых, нужно правильно размерить и изготовить детали. Во-вторых, важно правильно собрать каркас лодки. Далее в статье я подробно опишу, как посчитать размеры для всех составных частей, и по ходу построения каркаса буду акцентировать внимание на особо важных моментах.
Размеры и чертежи
Первое, что нужно сделать – определится с размерами лодки. Будем делать лодку 3000 мм длиной, 1400 в ширину и 500 мм высотой.
Определимся с длиной основы каркаса. Для этого нам нужно знать длину лодки, два угла а и b, высоту лодки.
Длину и высоту мы знаем – 3000мм и 500 мм. Угол а – 100, угол b – 120.
Зная эти значения посчитаем длину основы каркаса.
L=3000-(h*tg(a-90)+h*tg(b-90))=2623,где h-высота лодки
Теперь найдем длину носа и транца. Поскольку они находятся под наклоном, то их длина будет больше чем высота лодки.
L транца= √(〖(h*tg(a-90))〗^2+h^2 )=508
L носа= √(〖(h*tg(b-90))〗^2+h^2 )=577
Нужно определится с шириной дна. Возьмем половину от ширины лодки – 700 мм. Нижняя ширина транца будет на 10% меньше, т.е. 630 мм. Максимальной ширины лодка достигает в 1/3 от транца.
В нашем случае, максимальная ширина будет на расстоянии 1000 мм от конца лодки. Таким образом, трансформируем брус, так что бы максимальный изгиб был в точке 1/3*длину лодки от транца.
Длина фанеры для борта будет равна длине трансформированных брусов (верхнего и нижнего соответственно). Ширина будет ровная длине носа с одной стороны и длине транца с другой.
Остальные размеры зависят от ситуации.

Каркас лодки
Основой послужит брус 50*50*2523 мм. К нему с одной стороны прикручиваем транец 50*50*630 мм, под углом 90 градусов. От концов транса к носу прикручиваем деформированные брусы (максимальная выпуклость бруса на 1000 мм от транца).

Делаем 6 равнорасположенных вырезов вдоль всего основания (с нижней стороны). Размеры вырезов 50*25 мм. Вставляем 6 брусов 25*25 мм вдоль проделанных вырезов. Крепим их к основанию и боковым брусам. Нижняя часть каркаса готова.

Прикручиваем нос и транец. Между носом и транцем снова крепим деформированные брусы, но теперь уже по верху. Расстояние между брусами борта в высоту – 500 мм, в ширину 350 мм. По сути борты у нас располагаются под углом к основанию (угол, примерно 120 градусов в точке максимальной выпуклости).

Делаем каркас для бортов
Примечание. Обратите внимание, как прикручены брусы: от края верхнего, до края нижнего бруса. Это важно!
Для сего используем брус 25*25 мм.


На этом каркас для лодки готов, далее будем обшивать каркас фанерой.
Обшивка каркаса
Фанеру к брусам крепим саморезами длиной 20 мм. Сначала крепим борты. Фанера должна плотно прилегать к каркасу.

Затем обшиваем транец и дно лодки

Проклеиваем водоустойчивым клеем все стыки фанер. Обрабатывайте клеем все участки лодки, которые на ваш взгляд, получились уязвимыми.
Далее зашиваем нос лодки и крепим сидения. Обшиваем лодку с внутренней стороны (по желанию). Можно сделать пол и не обшивать борты, все зависит от того, как много у вас фанеры. Не обшивайте лодку с внутренней стороны доской, это добавит лишнего веса.

Все оставшиеся детали так же на ваш вкус, лодка готова и ее можно ставить на воду.
DOCOO — Специально для Самоделки FISH
samodelkifish.ru
чертежи и проекты на фото, видео
Самодельные плавательные средства уже давно приобрели серьезную популярность. Объясняется эта популярность рядом объективных причин:
- невысокая стоимость материалов для изготовления;
- легкость конструкции, ее мобильность и простота сборки;
- обилие всевозможных способов дополнительной обработки фанеры.
Катер из фанеры своими руками: подготовительные работы.

Основание катера из фанеры

Катер в процессе изготовления
Для того чтобы изготовить каютный катер из фанеры своими руками, потребуются следующие материалы.
Фанера
Листы фанеры станут основной составляющей изделия. Толщина листа будет варьироваться от 5 до 15 мм в зависимости от того, какую деталь необходимо изготовить.
Для конструирования плавательного средства потребуется фанера класса ФСФ, которая представляет собой влагоустойчивый материал. При выборе листов необходимо обратить особое внимание на их целостность: проверьте лист на предмет наличия трещин, заусенцев, отслоений и сучков. Этот момент крайне важен, поскольку от этого будет зависеть надежность вашего плавательного средства и ваша безопасность.
Профессионалы рекомендуют для этих целей выбирать максимально большой лист фанеры, потому как с большим листом работать удобнее и легче, плюс экономится время.
Деревянные доски
Этот материал пригодится для изготовления распорок внутри катера. Также из досок будут выполнены сиденья и бортики каютной лодки. Доска должна быть предварительно хорошо обработана и выстругана. Породу дерева лучше выбрать ту, что весит меньше.
Материалы для скрепления деталей между собой


Для соединения могут потребоваться следующие материалы:
- толстая капроновая леска,
- хомут из пластика,
- алюминиевая или медная проволока небольшого сечения.
Специальный клей, подходящий для склеивания древесины
Постройка катеров из фанеры требует обратить должное внимание на клеевой состав, поскольку в местах соединения деталей не должно оставаться просветов. Современный рынок строительных материалов предлагает для этих целей клеи на основе полимерной смолы.
Дополнительные материалы
Если вы задались целью построить самодельный катер из фанеры повышенной износостойкости, вам необходимо запастись дополнительно арсеналом лакокрасочных изделий и пропиток, предотвращающих процессы проникновения в материал катера влаги, следовательно, гниения и разбухания фанеры. Стеклопластик или стеклоткань понадобятся для того, чтобы проклеить швы изделия.
Инструменты
Набор инструментов, нам пригодятся для создания каютного катера:
- пила по дереву,
- лобзик,
- шлифовальная машинка,
- стамеска, молоток,
- кисточки разных размеров для того, чтобы произвести пропитку фанеры, ее лакировку и окраску.
Размеры планируемого изделия могут быть разными, в зависимости от пожелания. Рассмотрим процесс изготовления катера среднестатистических размеров: длина – 350 см, высота – 50 см, ширина – 135 см.
Чертежи катеров из фанеры и раскройка деталей
Прежде, чем приступить к работе, необходимо заняться проведением необходимых расчетов. Для этого рисуются проекты катеров из фанеры. Фото таких чертежей можно увидеть ниже. В процессе расчетов важно учитывать планируемую грузоподъемность катера. К этому вопросу важно отнестись серьезно, потому как правильно рассчитанная грузоподъемность отвечает за функциональность полученного изделия.
Перед раскройкой деталей необходимо произвести разметку фанерных пластин, как показано на фото. Распил осуществляется с помощью электролобзика – этот инструмент позволит сохранить ровный край и избавит от ненужных сколов.
Сборка самодельного катера


Вырезанные из фанеры детали необходимо обработать рубанком и просверлить в каждой детали функциональное крепежное отверстие.
Когда все детали нарезаны, можно приступать к процессу сборки. Последовательно соединяем все детали между собой, обращая внимание на точное соответствие размеров. Если вы упустите этот момент и позже обнаружится зазор в стыковке размеров, то для исправления этой ошибки вам придется разобрать изделие на части и заново собрать его.
Сначала устанавливаем плоский срез кормы, который называется транец, при этом используем козлы. Затем крепим дно катера и его борта таким образом, чтобы свободные концы соединялись в носовой части лодки с охранением определенного угла стыковки.


Следующим этапом будет вшивание шпангоута. Шпангоут представляет собой своего рода ребра жесткости. Выпиливается такой шпангоут из фанеры с толщиной в 6 мм. Для работы потребуется четыре таких детали – крепим их на расстоянии 80 см друг от друга. К внешнему краю конструкции чуть выше ватерлинии монтируем привальный брус, основной функцией которого является смягчение удара корпуса в процессе швартовки.
Из обрезков фанеры изготавливаем палубу. Размеры палубы выбираем самостоятельно, ориентируясь на собственные пожелания.
Внутренняя отделка


Этот этап является одним из важнейших, поскольку он включает герметизацию швов.
- Швы проклеиваются стеклотканью, которая будет защищать их от влаги, а затем промазываются специальным составом из эпоксидной смолы и аэросила. Шпангоуты также промазываются этим составом.
- Все углы на дне самодельного катера усиливаются с помощью уголков для увеличения жесткости.
- Днище застилается настилом, устанавливаются уключины и сиденья.
- После того, как изделие высохнет, займемся отделкой внешней части. Ее необходимо отшлифовать и произвести оклейку стеклотканью, а затем также промазать эпоксидной смесью.
- Теперь можно приступать к окраске. Для этого необходимо обезжирить поверхность и нанести специальную пропитку. Затем шпатлюем поверхность, уделяя особое внимание швам. В конце наносим краску с помощью краскопульта. Если его нет, то подойдут и обычные кисти.
Лучший результат будет, если пользоваться кистями, но можно применить краскопульт. Все этапы строительства подробно описаны на видео.
Готовый катер принесет вам и вашей семье массу удовольствия. Наслаждайтесь водными прогулками на катере, сделанном своими руками.
thefanera.ru
Самодельные лодки из фанеры. Лодка своими руками: чертежи
Многие предпочитают иметь личное плавсредство. Так как фирменные довольно много стоят, отличным выходом могут стать самодельные лодки из фанеры.

На судне, о котором пойдёт речь, может удобно разместиться три человека, к тому же его вес мал, как у обычной байдарки. Оно подходит как для рыбалки, так и для прогулок с друзьями или семьёй. При необходимости лодку можно оборудовать мотором или парусом.
Фанера — прочный материал, поэтому сделанные из неё самодельные моторные лодки могут разгоняться до очень приличных скоростей, при этом будут стабильны и безопасны.
Параметры будущей лодки
Рассматриваемое плавсредство будет иметь 4.500 мм в длину, ширина её — 1050 мм, а глубина — 400 мм. Такие параметры позволяют универсально использовать лодку.
Материал для изготовления
Чтобы корпус получился прочный и легко выдерживал нагрузки, лучше выбирать трехслойную фанеру, не имеющую сучков, с толщиной листов от 4 до 5 мм, и обязательно пропитанной клеем на смоляной основе. Из такого материала получаются отличные самодельные деревянные лодки.
Фанера применяется в судостроительстве повсеместно. Ведь из тонких слоёв фанеры, соединённых смоляным клеем, получается очень прочный шпон, который способен выдерживать огромные нагрузки.
Из чего состоит лодка
Основным элементом всей конструкции является киль. Он словно хребет лодки и к нему крепится с одной стороны форштевень, который образует нос, а с другой стороны ахтерштевень, образующий корму. Эти конструктивные элементы отвечают за продольную жёсткость судна, за то, чтобы самодельная моторная лодка из фанеры была прочной.
Поперечная жёсткость обеспечивается шпангоутами. Их нижняя часть, которая станет днищем, называется флортимберс, а две верхние боковые части именуются футоксами.
Когда все элементы собраны и надёжно скреплены, каркас обшивают фанерой. После этого для придания конструкции большей жёсткости, верх штевней, а также шпангоутов фиксируют досками – бортами.
Для обшивки корпуса фанерой нужно использовать цельные листы, которые будут полностью закрывать необходимую плоскость. Только так самодельные лодки и катера будут иметь минимальное количество швов. Фанера обшивки ложится на каркас, образуя плавные переходы линий и создавая обтекаемую форму лодки. Есть минимальный излом в ватерлинии только на шпангоутах 2 и 4.
Материалы для постройки лодки
- Фанера 3 листа 1500×1500 мм.
- Доски – сосновые 3 штуки длинной 6.5 м, а толщиной 15 мм.
- Две доски для киля и фальшкилей, длинна которых 6.5 м толщина 25 мм.
- Одна доска для изготовления кормового весла, длина которой 2 м.
- Доска, толщина которой 40 мм, а длина 6.5 м (для изготовления шпангоуты).
- Две доски на вёсла и штевни, длина 2 м, толщина 55 мм.
- Лёгкая ткань 10 м, которой будет покрываться корпус.
- 1 кг гашёной извести.
- 7 кг древесной смолы.
- 4 кг натуральной олифы.
- 2 кг масляной краски.
- Гвозди длиной 75, 50, 30 и 20 миллиметров.
- Уключины для вёсел с болтами и креплениями.
Изготавливаем детали
Создаём шпангоуты, их нужно вычертить на фанере. Чтобы всё было идеально ровно, применяют бумагу-миллиметровку. Делается лодка своими руками по чертежам, которые здесь будут представлены. Начнём с первого.

Первым делом нужно провести вертикальную ось или диаметральную плоскость — ДП. Затем чертятся горизонтальные линии так, чтобы ДП делила их пополам. Их должно быть девять штук, а расстояние между ними равно 5 сантиметрам. Затем на этих горизонтальных линиях ставят отметки, по которым будут создавать изгибы самой лодки. Делать их лучше при помощи металлической линейки, изогнув её по отметинам. Так сделанная лодка своими руками будет иметь идеальные очертания.
Теперь создаём внутренний контур. От нижней горизонтальной линии вверх чертятся ещё две, параллельные ей прямые на расстоянии 60 и 75 мм. После этого от внешнего изгиба к оси на шпангоутах №2, 3 и 4 отмеряется 130 мм. А на шпангоутах №1 и 5 в этих же местах откладывают по 100 мм, потому что они крайние и идут на сужение. Таким образом, вычерчиваем внутреннюю точку прилива на флортимберсе, после чего от неё проводим вниз линию к его верхнему срезу.

Строим внутренний контур футоксов
От внешней части внутрь откладывается 40 мм, по всей длине. А там, где к футоксам присоединяется флортимберс, нужно сделать немного шире, чтобы конструкция была надёжной. Благодаря этому элементу самодельные моторные лодки имеют необходимый запас прочности.
Когда всё сделано, чертёж нужно проверить, перегнув его по осевой линии. Если все контуры совпали — хорошо. Значит, можно делать выкройки из картона для дальнейшего переноса изображения на деревянные заготовки. В случае когда есть неточности, можно воспользоваться половиной, которая идеальна, и по ней сделать выкройки, приложив сначала одной стороной, а потом другой. В чертежах должна быть идеальная симметрия, иначе самодельные лодки из фанеры не получатся крепкими и устойчивыми на воде.

Как переносить изображение с шаблонов на дерево
Когда шаблоны готовы, прикладываем их на доску, толщина которой 40 мм. Расположение должно быть по направлению волокон дерева, нужно рассчитать всё так, чтобы они как можно меньше перерезались.
При черчении шаблонов и выпиливании по ним футоксов, стоит оставлять запас, делая их немного длиннее запланированных размеров. Изготавливая самодельные лодки из фанеры, чертежи делайте добросовестно, учитывая все нюансы! Представленные чертежи вам в этом помогут. Обратите внимание на некий запас на чертеже вида сбоку, а также на иллюстрации шпангоута, который изображён немного выше. Такой запас позволит избежать ошибок при сборке лодочного каркаса.
Когда флортимберсы и футоксы готовы, их кладут на чертёж чтобы отметить все перекрытия в соединениях. Отмечать всё нужно с запасом в миллиметр. Делается это для того, чтобы в процессе подгонки детали можно было более тщательно соединить.

Когда всё идеально сходится, можно крепить соединение гвоздями. Они должны пробить обе части шпангоута насквозь. Вышедший острый конец загните или расклепайте. Таким образом, ваши самодельные лодки из фанеры будут еще более прочными!
Так как к футоксам №2 и 4 прибивается обшивка, их стоит делать толщиной 40 мм, а для остальных можно взять доски тоньше — 30 мм.
Материал для форштевня
Если вы хотите, чтобы у вас получился хороший и прочный форштевень, берите для его изготовления дуб или вяз. Желательно, чтобы на заготовке был изгиб по форме форштевня. Если же не удастся найти, то делается он из двух частей, как показано на рисунке. Сначала выпиливается его форма, а потом края боковых кромок обтачивают под углом 25 градусов к оси лодки. Перед тем как делать плавсредство, нужно детально изучить чертежи лодок такой же конструкции.

Делаем киль
Нужно взять доску, толщина которой 25 мм, а длина — 3,5 м. На её поверхности чертят две линии, расстояние между которыми 70 мм. По ним и делают будущий киль.
Бортовые доски
Две доски обтёсывают, чтобы получились идеально ровные доски шириной 150 мм, а длиной 5 м.
Транец
Задняя стенка кормы, где крепится мотор, называется транец. Его делают из доски толщиной 25 мм. Сверху к нему прибивают брусок для большей прочности каркаса судна.
Каркас лодки

Собираются самодельные лодки из фанеры на верстаке, где устанавливают киль. К нему с одной стороны присоединяют ахтерштевень и закреплённый на нём транец, а с другой — форштевень. Остальные детали корпуса лодки, такие как штевни и шпангоуты, соединяют при помощи мелких гвоздей, шурупов, заклёпок, одним словом, тем что по мнению мастера, будет надёжнее держать.
Всё детально проверяется, чтобы исключить перекосы каркаса. Особенно нужно следить за тем, чтобы штевень и транец были на одной линии с осью. Это проверить очень легко: сверху на них закрепляют верёвку в натяг и смотрят, чтобы эта линия идеально сошлась с осью лодки. Перед созданием судна целесообразно просмотреть различные по конструкции самодельные лодки из фанеры, чертежи которых широко представлены в судомодельных журналах.
Все соединения должны быть проложены тканью, пропитанной смолой. Крепления с тканью соединяют при помощи гвоздей. Вбивают их так, чтобы они вылезли с другой стороны на пять миллиметров.
На киль закрепляются шпангоуты. На них делают пазы, в которые киль плотно закрепится. Вырезают их на полмиллиметра меньшего размера, чем нужно, чтобы в случае скоса была возможность всё поправить. Вообще, делая самодельные лодки и катера, стоит во всех соединениях оставлять зазоры, чтобы подгонять детали уже на собранном каркасе для идеальной его формы. А после этого все соединения прочно закрепляются гвоздями, как было описано выше.
Обшивка лодки фанерой
Для обшивки лодку переворачивают и малкуют шпангоуты. То есть выравнивают их поверхность, чтобы фанера идеально прилегала. Для этого берут металлическую линейку или что-нибудь ровное и упругое и прикладывают к поверхности шпангоута. Так будет отлично видно, где нужно снимать материал.
Чтобы фанера хорошо сгибалась, её распаривают. Нужно в корыто налить воды и развести под ним огонь. Сверху кладут лист фанеры. Вода её распаривает, и она становится более податливой. Идеальной выкройки, по которой можно вырезать обшивку, не существует, хотя многие чертежи лодок и представляют их. В любом случае это только приблизительные формы, потому как всё подгоняют индивидуально.
Волокна наружных слоёв фанеры должны идти вдоль корпуса лодки, так она будет намного прочнее в эксплуатации и при обшивке не лопнет.
Шпаклёвка и окраска
Для большей прочности и исключения протекания лодку нужно обтянуть тканью. Для этого сшивается чехол, который будет покрывать её до бортов. После этого делаются фальшкили для установки их с внешней стороны днища судна. В шпангоутах фальшкилей сверлят отверстия для их дальнейшего скрепления.
После этого делают шпаклёвку для лодки. Берут просеянную через сито известь, заливают в неё смолу, тщательно размешивают, пока она не станет напоминать по консистенции жидкое тесто. Затем делают лопаточку и шпаклюют весь корпус лодки.
Далее корпус до бортов дважды покрывают горячей смолой. На сырое покрытие одевают подготовленный ранее чехол из ткани. Её нужно тщательно обжать для плотного склеивания. Все складки хорошо разравнивают. После прибивают подготовленные фальшкили и сверху уже полностью собранную лодку покрывают смолой в три слоя. Затем её переворачивают килем вниз, отпиливают все ненужные зазоры и вынимают вспомогательные детали, покрывают двумя слоями олифы с разрывом в 35 часов. А затем окрашивают и украшают по желанию, как и другие самодельные лодки, фото которых можно увидеть в журналах или в данной статье.
Регистрирование судна
Регистрация самодельной лодки производится обращением в ГИМС. Там следует написать заявление, в котором указывается тип планируемого судна, паспортные данные, место проживания и телефон. Также нужно приложить чертежи судна со всех проекций, указать все места, где будут установлены механические части, в общем, всю касающуюся изделия информацию. К тому же нужно приложить чеки купленных материалов для постройки лодки. Только после рассмотрения проекта комиссией, будет принято решение о регистрации вашего самодельного плавсредства.
fb.ru
Лодка из фанеры своими руками чертежи выкройки | Своими руками
» Своими руками
Самодельные лодки из фанеры. Лодка своими руками: чертежи
November 30,
Многие предпочитают иметь личное плавсредство. Так как фирменные довольно много стоят, отличным выходом могут стать самодельные лодки из фанеры.

На судне, о котором пойдёт речь, может удобно разместиться три человека, к тому же его вес мал, как у обычной байдарки. Оно подходит как для рыбалки, так и для прогулок с друзьями или семьёй. При необходимости лодку можно оборудовать мотором или парусом.
Фанера — прочный материал, поэтому сделанные из неё самодельные моторные лодки могут разгоняться до очень приличных скоростей, при этом будут стабильны и безопасны.
Параметры будущей лодки
Рассматриваемое плавсредство будет иметь 4.500 мм в длину, ширина её — 1050 мм, а глубина — 400 мм. Такие параметры позволяют универсально использовать лодку.
Материал для изготовления
Чтобы корпус получился прочный и легко выдерживал нагрузки, лучше выбирать трехслойную фанеру, не имеющую сучков, с толщиной листов от 4 до 5 мм, и обязательно пропитанной клеем на смоляной основе. Из такого материала получаются отличные самодельные деревянные лодки.
Фанера применяется в судостроительстве повсеместно. Ведь из тонких слоёв фанеры, соединённых смоляным клеем, получается очень прочный шпон, который способен выдерживать огромные нагрузки.
Из чего состоит лодка
Основным элементом всей конструкции является киль. Он словно хребет лодки и к нему крепится с одной стороны форштевень, который образует нос, а с другой стороны ахтерштевень, образующий корму. Эти конструктивные элементы отвечают за продольную жёсткость судна, за то, чтобы самодельная моторная лодка из фанеры была прочной.
Поперечная жёсткость обеспечивается шпангоутами. Их нижняя часть, которая станет днищем, называется флортимберс, а две верхние боковые части именуются футоксами.
Когда все элементы собраны и надёжно скреплены, каркас обшивают фанерой. После этого для придания конструкции большей жёсткости, верх штевней, а также шпангоутов фиксируют досками – бортами.
Для обшивки корпуса фанерой нужно использовать цельные листы, которые будут полностью закрывать необходимую плоскость. Только так самодельные лодки и катера будут иметь минимальное количество швов. Фанера обшивки ложится на каркас, образуя плавные переходы линий и создавая обтекаемую форму лодки. Есть минимальный излом в ватерлинии только на шпангоутах 2 и 4.
Материалы для постройки лодки
- Фанера 3 листа 1500×1500 мм.
- Доски – сосновые 3 штуки длинной 6.5 м, а толщиной 15 мм.
- Две доски для киля и фальшкилей, длинна которых 6.5 м толщина 25 мм.
- Одна доска для изготовления кормового весла, длина которой 2 м.
- Доска, толщина которой 40 мм, а длина 6.5 м (для изготовления шпангоуты).
- Две доски на вёсла и штевни, длина 2 м, толщина 55 мм.
- Лёгкая ткань 10 м, которой будет покрываться корпус.
- 1 кг гашёной извести.
- 7 кг древесной смолы.
- 4 кг натуральной олифы.
- 2 кг масляной краски.
- Гвозди длиной 75, 50, 30 и 20 миллиметров.
- Уключины для вёсел с болтами и креплениями.
Изготавливаем детали
Создаём шпангоуты, их нужно вычертить на фанере. Чтобы всё было идеально ровно, применяют бумагу-миллиметровку. Делается лодка своими руками по чертежам, которые здесь будут представлены. Начнём с первого.

Первым делом нужно провести вертикальную ось или диаметральную плоскость — ДП. Затем чертятся горизонтальные линии так, чтобы ДП делила их пополам. Их должно быть девять штук, а расстояние между ними равно 5 сантиметрам. Затем на этих горизонтальных линиях ставят отметки, по которым будут создавать изгибы самой лодки. Делать их лучше при помощи металлической линейки, изогнув её по отметинам. Так сделанная лодка своими руками будет иметь идеальные очертания.
Теперь создаём внутренний контур. От нижней горизонтальной линии вверх чертятся ещё две, параллельные ей прямые на расстоянии 60 и 75 мм. После этого от внешнего изгиба к оси на шпангоутах №2, 3 и 4 отмеряется 130 мм. А на шпангоутах №1 и 5 в этих же местах откладывают по 100 мм, потому что они крайние и идут на сужение. Таким образом, вычерчиваем внутреннюю точку прилива на флортимберсе, после чего от неё проводим вниз линию к его верхнему срезу.

Строим внутренний контур футоксов
От внешней части внутрь откладывается 40 мм, по всей длине. А там, где к футоксам присоединяется флортимберс, нужно сделать немного шире, чтобы конструкция была надёжной. Благодаря этому элементу самодельные моторные лодки имеют необходимый запас прочности.
Когда всё сделано, чертёж нужно проверить, перегнув его по осевой линии. Если все контуры совпали — хорошо. Значит, можно делать выкройки из картона для дальнейшего переноса изображения на деревянные заготовки. В случае когда есть неточности, можно воспользоваться половиной, которая идеальна, и по ней сделать выкройки, приложив сначала одной стороной, а потом другой. В чертежах должна быть идеальная симметрия, иначе самодельные лодки из фанеры не получатся крепкими и устойчивыми на воде.

Как переносить изображение с шаблонов на дерево
Когда шаблоны готовы, прикладываем их на доску, толщина которой 40 мм. Расположение должно быть по направлению волокон дерева, нужно рассчитать всё так, чтобы они как можно меньше перерезались.
При черчении шаблонов и выпиливании по ним футоксов, стоит оставлять запас, делая их немного длиннее запланированных размеров. Изготавливая самодельные лодки из фанеры, чертежи делайте добросовестно, учитывая все нюансы! Представленные чертежи вам в этом помогут. Обратите внимание на некий запас на чертеже вида сбоку, а также на иллюстрации шпангоута, который изображён немного выше. Такой запас позволит избежать ошибок при сборке лодочного каркаса.
Когда флортимберсы и футоксы готовы, их кладут на чертёж чтобы отметить все перекрытия в соединениях. Отмечать всё нужно с запасом в миллиметр. Делается это для того, чтобы в процессе подгонки детали можно было более тщательно соединить.

Когда всё идеально сходится, можно крепить соединение гвоздями. Они должны пробить обе части шпангоута насквозь. Вышедший острый конец загните или расклепайте. Таким образом, ваши самодельные лодки из фанеры будут еще более прочными!
Так как к футоксам №2 и 4 прибивается обшивка, их стоит делать толщиной 40 мм, а для остальных можно взять доски тоньше — 30 мм.
Материал для форштевня
Если вы хотите, чтобы у вас получился хороший и прочный форштевень, берите для его изготовления дуб или вяз. Желательно, чтобы на заготовке был изгиб по форме форштевня. Если же не удастся найти, то делается он из двух частей, как показано на рисунке. Сначала выпиливается его форма, а потом края боковых кромок обтачивают под углом 25 градусов к оси лодки. Перед тем как делать плавсредство, нужно детально изучить чертежи лодок такой же конструкции.

Делаем киль
Нужно взять доску, толщина которой 25 мм, а длина — 3,5 м. На её поверхности чертят две линии, расстояние между которыми 70 мм. По ним и делают будущий киль.
Бортовые доски
Две доски обтёсывают, чтобы получились идеально ровные доски шириной 150 мм, а длиной 5 м.
Транец
Задняя стенка кормы, где крепится мотор, называется транец. Его делают из доски толщиной 25 мм. Сверху к нему прибивают брусок для большей прочности каркаса судна.
Каркас лодки

Собираются самодельные лодки из фанеры на верстаке, где устанавливают киль. К нему с одной стороны присоединяют ахтерштевень и закреплённый на нём транец, а с другой — форштевень. Остальные детали корпуса лодки, такие как штевни и шпангоуты, соединяют при помощи мелких гвоздей, шурупов, заклёпок, одним словом, тем что по мнению мастера, будет надёжнее держать.
Всё детально проверяется, чтобы исключить перекосы каркаса. Особенно нужно следить за тем, чтобы штевень и транец были на одной линии с осью. Это проверить очень легко: сверху на них закрепляют верёвку в натяг и смотрят, чтобы эта линия идеально сошлась с осью лодки. Перед созданием судна целесообразно просмотреть различные по конструкции самодельные лодки из фанеры, чертежи которых широко представлены в судомодельных журналах.
Все соединения должны быть проложены тканью, пропитанной смолой. Крепления с тканью соединяют при помощи гвоздей. Вбивают их так, чтобы они вылезли с другой стороны на пять миллиметров.
На киль закрепляются шпангоуты. На них делают пазы, в которые киль плотно закрепится. Вырезают их на полмиллиметра меньшего размера, чем нужно, чтобы в случае скоса была возможность всё поправить. Вообще, делая самодельные лодки и катера, стоит во всех соединениях оставлять зазоры, чтобы подгонять детали уже на собранном каркасе для идеальной его формы. А после этого все соединения прочно закрепляются гвоздями, как было описано выше.
Обшивка лодки фанерой
Для обшивки лодку переворачивают и малкуют шпангоуты. То есть выравнивают их поверхность, чтобы фанера идеально прилегала. Для этого берут металлическую линейку или что-нибудь ровное и упругое и прикладывают к поверхности шпангоута. Так будет отлично видно, где нужно снимать материал.
Чтобы фанера хорошо сгибалась, её распаривают. Нужно в корыто налить воды и развести под ним огонь. Сверху кладут лист фанеры. Вода её распаривает, и она становится более податливой. Идеальной выкройки, по которой можно вырезать обшивку, не существует, хотя многие чертежи лодок и представляют их. В любом случае это только приблизительные формы, потому как всё подгоняют индивидуально.
Волокна наружных слоёв фанеры должны идти вдоль корпуса лодки, так она будет намного прочнее в эксплуатации и при обшивке не лопнет.
Шпаклёвка и окраска
Для большей прочности и исключения протекания лодку нужно обтянуть тканью. Для этого сшивается чехол, который будет покрывать её до бортов. После этого делаются фальшкили для установки их с внешней стороны днища судна. В шпангоутах фальшкилей сверлят отверстия для их дальнейшего скрепления.
После этого делают шпаклёвку для лодки. Берут просеянную через сито известь, заливают в неё смолу, тщательно размешивают, пока она не станет напоминать по консистенции жидкое тесто. Затем делают лопаточку и шпаклюют весь корпус лодки.
Далее корпус до бортов дважды покрывают горячей смолой. На сырое покрытие одевают подготовленный ранее чехол из ткани. Её нужно тщательно обжать для плотного склеивания. Все складки хорошо разравнивают. После прибивают подготовленные фальшкили и сверху уже полностью собранную лодку покрывают смолой в три слоя. Затем её переворачивают килем вниз, отпиливают все ненужные зазоры и вынимают вспомогательные детали, покрывают двумя слоями олифы с разрывом в 35 часов. А затем окрашивают и украшают по желанию, как и другие самодельные лодки, фото которых можно увидеть в журналах или в данной статье.
Регистрирование судна
Регистрация самодельной лодки производится обращением в ГИМС. Там следует написать заявление, в котором указывается тип планируемого судна, паспортные данные, место проживания и телефон. Также нужно приложить чертежи судна со всех проекций, указать все места, где будут установлены механические части, в общем, всю касающуюся изделия информацию. К тому же нужно приложить чеки купленных материалов для постройки лодки. Только после рассмотрения проекта комиссией, будет принято решение о регистрации вашего самодельного плавсредства.
Самодельная лодка из фанеры чертежи
Самодельная лодка из фанеры чертежи которой внимательно изучаем. Приступим к подробному описанию конструкции.
Для постройки представленной модели, будем использовать влагостойкую прочную фанеру разных толщин.
Самодельная лодка из фанеры состоит из тринадцати деталей:
1. Центральный брусок размером 25х45х2500мм. Длинные края выполнены в виде сектора окружности. С низу, прорезаны шесть сквозных пазов размером 25х25мм, для крепления шпангоутов.
2. Носовой элемент. Крепится к передней части центрального бруска, бортам, дну и палубе. Толщина его составляет двадцать пять миллиметров.
3. Корма. Крепится к задней части центрального бруска, бортам, дну и палубе. Толщина ее составляет двадцать пять миллиметров.
4. Шпангоуты. Шесть типов – размеров. Крепятся к центральному бруску в проделанных пазах. Каждый шпангоут имеет свою высоту и ширину. Неизменным размером для каждого остается толщина, угол наклона плоскости крепления борта. Толщина их, составляет двадцать пять миллиметров.
5. Борта. Крепятся к шпангоутам, носовому элементу и корме. Толщина их составляет десять миллиметров.
6. Сиденья. Крепятся при помощи деревянных брусков к шпангоутам и бортам. Толщина их составляет восемнадцать миллиметров.
7. Дно. Крепится к центральному бруску, носовому элементу, корме, шпангоутам и бортам. Толщина его составляет пять миллиметров. Между плоскостями крепления прокладывается полоска мягкой резины. Детали промазываются клеем и сжимаются между собой шурупами по дереву.
Справка: ввинчивать шурупы необходимо в заранее подготовленные отверстия, что позволит избежать растрескивание сжимаемых деталей.
Порядок сборки.
На стапельном столе закрепим центральный брусок. Закрепим к нему шпангоуты, носовой элемент и корму. Шпангоуты необходимо выставить точно по центру, относительно центрального бруска. Для крепления элементов будем использовать клей и шурупы по дереву.
Дополнительно скрепим шпангоуты между собой временными распорками. Разогреем горячей водой или паром заготовки бортов и закрепим их на подготовленный каркас. Для прочности конструкции, установим вначале сиденья и верхнюю палубу, затем уберем временные распорки и перейдем к креплению дна. Интервал между шурупами при креплении, должен составлять 30…40мм.
После полной сборки, произведем чистовую механическую обработку деталей и мест их стыковки, затем обработаем фанеру разогретой до температуры кипения олифой. После высыхания нашего грунта, покроем поверхности самодельной лодки масляными красками разных цветов.
Полученная модель прекрасно держит двоих человек. Можно навешивать мотор мощность не более двух лошадиных сил. Существуют различные чертежи лодок и варианты их исполнения, каждые по своему хороши. Остается выбор за вами.
Чертежи лодок, катеров яхт для самостоятельной постройки. Наборы для самостоятельной постройки лодки. Эпокидная смола, стеклоткань, стеклолента. Литература на лодочно-яхтенную тематику. Книги и журналы по обработке древесины
Желание построить лодку. возникает как маленькая тучка на безоблачном небе. Наконец она закрывает собой все небо. и вы больше н е в состоянии думать о чем-то другом — Артур Рансом
Добро пожаловать в увлекательный мир строительства лодки. Вашему вниманию предлагаются наборы для самостоятельной постройки лодки. Метод сборки СШЕЙ-и-СКЛЕЙ, суть которого состоит в том, что все детали соединяются вместе при помощи скрепок, а затем склеиваются вместе. Метод не тебует особых навыков или специального инструмента. Все детали вырезаются из фанеры повышенной влагостойкости ФСФ толщиной от 6 до 12 мм. Заготовки подогнаны друг к другу, для достижения этого, все наборы пред отправкой Заказчику собираются воедино, делаются фото в поэтапной последовательности. Все это высылается Заказчику на e-mail. Затем все разбирается и упаковывается. Вам остается только собрать все детали заново, проклеить швы и стыки эпоксидной смолой, проклеить швы лодки изнутри и снаружи стеклолентой и у Вас готовый корпус. Все остальное зависит от Вашего вкуса и желания. И у Вас будет лодка, которой нет ни у кого, да и к тому же собранная лично Вами! Многие Заказчики писали, что постройка лодки стала для них семейным проектом, в процессе строительства учавствовали дети, жены, друзья. Вы можете построить небольшую лодку (Орешек-7, Динги-8), которую можно хранить на даче, в гараже, перевозить на крыше автомобиля, к тому же эти лодки имеют опции постройки как под весла, так под парус или двигатель, а можете построить и что-то более сложное. Для этого имеется 15 проектов. В дальнейшем будут добавляться новые проеты лодок. Многие Заказчики присылают фото, на которых запечатлены этапы строительства и уже готовые лодки. Для этого мы добавили галерею, в которой выложены эти фотографии.
Источники: http://fb.ru/article/159365/samodelnyie-lodki-iz-faneryi-lodka-svoimi-rukami-cherteji, http://chertegnik.ru/modelirovanie/325-samodelnaya-lodka-iz-fanery-chertezhi.html, http://svoimi-rukami.com.ua/
Комментариев пока нет!
restart24.ru

