Схема электрическая принципиальная снегохода Тайга СТ-500Д Снегоход Тайга
«http://www.w3.org/TR/xhtml1/DTD/xhtml1-transitional.dtd»>
Схема электрическая принципиальная снегохода Тайга СТ-500Д Снегоход ТайгаУважаемые друзья!
Наш сайт переехал на новый адрес.
Перейдите на ЭТУ ЖЕ СТРАНИЦУ НА НОВОМ САЙТЕ
Там гораздо лучше!
| Снегоход Тайга руководство по ремонту и эксплуатации |
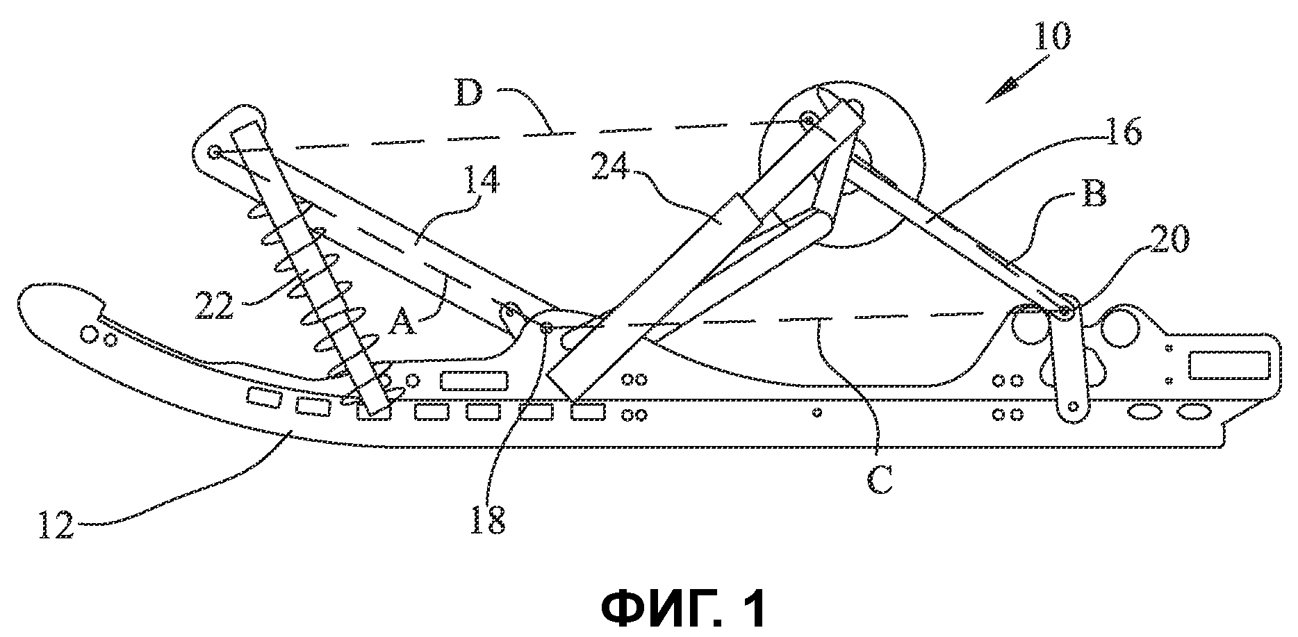
| Электрооборудование Обслуживание электрооборудования Система зажигания Неисправности электооборудования Свечи зажигания Аккумуляторная батарея Электростартер Проверка систем зажигания и освещения Расцветка и назначение проводов Электросхемы | A1
– коммутатор со встроенным
трансформатором; A2 – регулятор
напряжения; BV1 – спидометр;
E1 – фара; E2 – фонарь
задний; EK1 — EK3 – нагреватели; EL1
— EL7 – лампа; F1, F2 –
свеча зажигания; FU – предохранитель;
G1 – основание магдино; GB1 –
аккумулятор; HG1, HG2 – контрольные
лампы; K1 – реле стартера; M1
– стартер; R1, R2 – наконечник
свечи; S1 – замок зажигания;
S2, S3 – выключатель двигателя; S4
– выключатель звукового сигнализатора; S5
– переключатель света фары; S6 –
выключатель стоп-сигнала; S8 –
выключатель нагревателей; SL1
– датчик уровня масла. Схема электрическая принципиальная снегохода «Тайга» СТ-500Д (РЗП)A1 – коммутатор; A2 – регулятор напряжения; BV1 – спидометр; E1 – фара; E2 – фонарь задний; EK1 — EK3 – нагреватели; EL1 — EL7 – лампа; F1, F2 – свеча зажигания; FU – предохранитель; G1 – основание магдино; GB1 – аккумулятор; HG1, HG2 – контрольные лампы; K1 – реле стартера; M1 – стартер; R1, R2 – наконечник свечи; S1 – замок зажигания; S2, S3 – выключатель двигателя; S4 – выключатель звукового сигнализатора; S5 – переключатель света фары; S6 – выключатель стоп-сигнала; S8 – выключатель нагревателей; SL1 – датчик уровня масла; T1 – катушка зажигания. |
| промышленного производства Если Вас интересуют направления: устройство снегохода, принцип работы снегохода, ремонт снегохода, двигатель, схема, чертеж — двигатель двухцилиндровый, двухтактный — много полезной информации Вы сможете найти в разделе Самодельные снегоходы нашего каталога Снегоходной техники — ЗДЕСЬ. Кстати, Вы можете выбрать интересующую Вас категорию в колонке слева, или найти ответ на Ваш вопрос в статьях из меню справа >>>
| |||||
Снегоход Сервис — контакты, телефоны, схема проезда.
Адрес магазина и офиса:
Ярославская область, г. Рыбинск, ул. Герцена, 37
Адрес производства:
Ярославская область, г. Рыбинск, ул. Захарова, 38
Телефон / факс:
- 8 (800) 301-55-44 (звонок бесплатный)
- 8 (4855) 280-900
- 8 (4855) 280-600
- 8 (4855) 280-400
Режим работы:
Офис: пн-пт 8.00-17.00 (по московскому времени), обед 12-13 ч.
Магазин Герцена, 37: пн-пт 9.00-19.00, сб-вс 10.00-16.00 (по московскому времени), без перерыва на обед.
E-mail:
Контакты для направления рекламаций и технических вопросов:
Тел. +79056353398
Реквизиты ООО «ТФ «Снегоход-Сервис»:
ИНН 7610073563, КПП 761001001
Код отрасли по Общероссийскому классификатору отрасли народного хозяйства: ОКОНХ 50.
Код отрасли по Общероссийскому классификатору предприятия и организации: ОКПО 98119684
Банковские реквизиты:
1. Расчетный счет: 40702810212680000081
Банк: ФИЛИАЛ «ЦЕНТРАЛЬНЫЙ» БАНКА ВТБ (ПАО) г. Москва
БИК: 044525411
Корр. счет: 30101810145250000411
2. Расчетный счет: 40702810477190101690
Банк: КАЛУЖСКОЕ ОТДЕЛЕНИЕ N8608 ПАО СБЕРБАНК
БИК: 042908612
Корр. счет: 30101810100000000612
Юридический адрес:
152934, Россия, Ярославская обл., г. Рыбинск, ул. Герцена, д.37
Почтовый адрес: 152934, г. Рыбинск, ул. Герцена, д.37, магазин «Снегоход-Сервис»
ИНН 761000509887
ОГРН 304761005600015
ОКПО 0065003837
Банковские реквизиты:1. Расчетный счет: 40802810112680000023
Банк: ФИЛИАЛ «ЦЕНТРАЛЬНЫЙ» БАНКА ВТБ (ПАО) г.
Москва
БИК: 044525411
Корр. счет: 30101810145250000411
Юридический адрес:
152934, Россия, Ярославская обл., г. Рыбинск, ул. Бородулина, д.17А
Почтовый адрес: 152934, г. Рыбинск, ул. Герцена, д.37, магазин «Снегоход-Сервис»
ИНН 761000874103
ОГРНИП 306761017200021
ОКПО 0129964281
БАНКОВСКИЕ РЕКВИЗИТЫ:1. Расчетный счет: 40802810212680000305
Банк: ФИЛИАЛ «ЦЕНТРАЛЬНЫЙ» БАНКА ВТБ (ПАО) г. Москва
БИК: 044525411
Корр. счет: 30101810145250000411
ЮРИДИЧЕСКИЙ АДРЕС:
152909, Ярославская обл, Рыбинск г, Аббакумовская ул, д.15
Почтовый адрес: 152934, г. Рыбинск, ул. Герцена, д.37, магазин «Снегоход-Сервис»
Филиал г. Москва:
127410, г. Москва
тел. (495) 2320603
Схема проезда в городе Рыбинск
Коробка передач снегохода Буран
Из каких запчастей состоит коробка передач снегохода Буран, подробная ее схема и описание — читайте об этом в нашей статье.
Коробка передач снегохода «Буран» предназначена для передачи крутящего момента от ведущего вала коробки к валам ведущих звездочек гусениц, изменения скорости движения, осуществления заднего хода снегохода и разъединения двигателя с ходовой частью.
Коробка передач (рисунок 3) состоит из корпуса, картера, ведущего вала, вала заднего хода, механизма переключения и цепной передачи, в которую входят:
- звездочки переднего и заднего хода;
- ведомая звездочка;
- механизм натяжения цепи;
- приводная цепь (96 звеньев).
Механизм коробки передач, за исключением ведомой звездочки 10, установленной в картере 9 на шлицевых концах ведущих валов ходовой части, смонтирован в корпусе коробки.
Ведущий вал 4 вращается на двух подшипниках 1 и 6. На ведущем валу помимо узла ведомого шкива вариатора установлены: уплотнительная резиновая манжета 7, ведущая звездочка 5 в блоке с шестерней на игольчатых подшипниках, шестерня заднего хода 2 на игольчатом подшипнике, шестерня включения передач 4 с двухсторонними кулачками, шайбы, при помощи которых регулируется осевой люфт звездочки.
Вал заднего хода 14 установлен в корпусе на двух подшипниках 12. На валу напрессованы звездочка 16, шестерня 13, установлены блок шестерен 15 и манжета 11 Ведущая шестерня привода спидометра выполнена заодно с валом.
Механизм переключения коробки смонтирован в крышке корпуса и состоит из оси 17, вилки переключения 19 с подпружиненным шариком 18, входящим при переключении в одну из четырех канавок оси, и рычага переключения 20. На оси рычага переключения сверху установлен рычаг 21. В крышку ввернута пластмассовая пробка с суфлирующим отверстием.
Механизм натяжения цепи находится в нижней половине корпуса и состоит из натяжного вала 24 и вращающейся на игольчатом подшипнике звездочки 22. Натяжение цепи регулируется поворотом натяжного вала. В требуемом положении вал стопорится болтом 23. Смотровое окно, закрытое резиновой заглушкой 25, предусмотрено для проверки натяжения цепи 26, а также для проверки уровня масла в картере коробки.
Управление коробкой передач осуществляется ручным приводом, состоящим из рукоятки переключения и тяги, соединяющей рукоятку с рычагом механизма переключения.
1 ― подшипник, 2 ― шестерня, 3 ― шестерня, 4 ― вал ведущий, 5 ― ведущая звездочка, 6 ― подшипник, 7 ― манжета, 8 ― корпус. 9 ― картер, 10 ― ведомая звездочка, 11 ― манжета, 12 ― подшипник, 13 ― шестерня, 14 ― вал заднего хода, 15 ― блок шестерен, 16 ― звездочка заднего хода, 17 ― ось переключения, 18 ― шарик, 19 ― вилка, 20 ― рычаг переключения, 21 ― рычаг, 22 ― звездочка, 23 ― болт, 24 ― вал натяжной, 25 ― заглушка, 26 ― цепь
Обзор снегохода БУРАН А
2-тактный, 2-цилиндровый двигатель РМЗ -640, объемом 635 см3 ( 34 л.с.)
труженик зимы для профессионалов
максимальная скорость не менее 65 км/ч
буксировка прицепа до 250 кг
ОПИСАНИЕ МОДЕЛИ
«БУРАН» давно стал настоящим другом для тысяч и тысяч российских снегоходчиков.
Ему доверяют, точно зная: в трудную минуту снегоход не подведёт.
Глобально конструкция «БУРАНА» не меняется уже 45 лет, однако мы адаптировали снегоход к современным техническим требованиям и запросам потребителей. Достоинства машины очевидны: она неприхотлива и долго прослужит верой и правдой своему владельцу.
Короткая рама и уникальная «бурановская» конструктивная схема: «1 лыжа +2 гусеницы» — делают его снежным вездеходом. Снегоход не требует особых навыков езды, и легко маневрирует в лесных зонах.
Литера «А» обозначает модель с короткой платформой.
Модель «БУРАН А» – это классика, по просьбам владельцев его дизайн остался без изменений.
Снегоход «Буран А» выпускается в новом современном дизайне. Мы изменили внешний облик капота и схему его крепления: теперь он откидывается, обеспечивая лёгкий доступ ко всем узлам и агрегатам в подкапотном пространстве. Для повышения комфорта «БУРАН А» оборудовали новым высоким двухуровневым сиденьем со съемной спинкой для пассажира.
Материал капота – литьевой пластик, изготовленный методом инжекционного литья: обеспечит устойчивость к внешним воздействиям — ударам и не раскалываются на морозе.
«БУРАН» требует минимальной технической поддержки и обладает хорошей ремонтопригодностью в полевых условиях вдали от цивилизации.
«БУРАН А» – простой и надёжный снегоход, как автомат Калашникова. Целая армия охотников и рыболов в России не видят ему альтернативы.
В конструкции использована полезная модель №142289
Устройство снегохода
Картинка кликабельна
Снегоход — это моторизованные сани, приводимые в движение двигателем, похожим на двигатель мотоцикла. Управляют снегоходом с помощью рулевых рукояток, соединенных со стоящими впереди лыжами.
На руле есть привод дроссельной заслонки (рычаг газа) и рычаг тормоза, которые позволяют управлять скоростью и торможением машины. Вместо задних колес у нее сплошная резиновая лента типа гусеничной.
Лента, связанная с двигателем передаточными механизмами, цепью и ремнем, продвигает снегоход (рисунок вверху).
Снегоходы очень подвижны и поворотливы. Они не только могут двигаться со скоростью более 85 миль в час, но и забираться на склоны с крутизной 65 градусов. Однако машина среднего класса способна преодолевать подъемы не круче 20 градусов. Снегоходы могут путешествовать по просторам, которые недоступны обычным автомобилям. Поэтому их часто используют для доставки товаров и любой помощи в суровые районы, где мало дорог и много снега. Но чаще всего люди пользуются снегоходом просто для развлечений.
Как снегоход ездит по снегу
Поршни двигателя снегохода вращают первичное сцепление. Дальше ременная передача передает это вращение на вторичное сцепление, которое сидит на промежуточном валу. К дальнему концу промежуточного вала присоединена цепь, и она уже вращает ось двух ведущих зубчатых барабанов. Эти барабаны входят в гнезда сплошной резиновой ленты снегохода.
Вращаясь, барабаны тянут ленту вперед. Механизм передачи этой машины устроен так, что в зависимости от скорости ее движения, снежного покрова и вида местности меняется количество энергии, передаваемой на ленту. Постоянное реагирование на все изменения (с помощью передачи, которая может непрерывно меняться) делает езду на снегоходе очень плавной.
Руление при езде по снегу
При вращении рукояток руля по часовой стрелке лыжи поворачивают направо, при вращении против часовой стрелки — налево.
Торможение на снегоходе
Когда водитель нажимает на рычаг тормоза, несколько тормозных накладок, прижимаясь, давят на диск, укрепленный на промежуточном валу.
Энциклопедия зажиганий снегоходов
Энциклопедия зажиганий снегоходов Буран, Тайга, Тикси.
Зажигание снегохода оказывает огромное влияние на работу двигателя. Именно оно отвечает за своевременность подачи искры на любых оборотах.
Установка комплекта зажигания, не предназначенного для конкретного мотора, или несогласованность частей комплекта, неверно выставленное опережение зажигания, приводят в лучшем случае к нестабильной работе, а в худшем, к ремонту двигателя. Огромный выбор коммутаторов, оснований магдино, маховиков и других комплектующих, вносят невообразимую путаницу при ремонтных работах. Поэтому для правильной замены зажигания снегохода или ремонта, требуется знать основы, о которых далее пойдет речь. Материал актуален на дату создания – лето 2017г. и содержит описание только заводских комплектов зажиганий, не затрагивая альтернативных производителей.
В процессе модернизаций, производителями БСЗ решались технические задачи. Смещалось положение шпоночного паза, материал магнитов, расположение катушек на магдино, расточка и др, менялись точки крепления магдино на картер двигателя. Поэтому при установке сборных БСЗ, на картера разных годов выпуска, для достижения требуемого УОЗ, бывает необходим поворот основания магдино в пределах крепежного паза на угол до 7°.
Имеются случаи соприкосновения магнитов и сердечников катушек магдино – требуется аккуратно сточить сердечник в местах контакта, обеспечив зазор 0,2 — 0,4мм.
Основы работы зажигания снегохода.
- Бесконтактная система зажигания – БСЗ, условно состоит из магдино (основание зажигания), коммутатора, маховика, высоковольтной катушки зажигания. Сиситема может быть двух и одноканальными. Двухканальная система (классическая) — искра подается на свечу зажигания 1 раз за 2 такта работы двигателя, то есть 1 раз за 1 оборот маховика. В одноканальной системе зажигания, искра возникает 1 раз за 1 такт работы двигателя. то есть 2 раза за 1 оборот маховика. При этом, смесь воспламеняется только в цилиндре находящемся в такте сжатия, а во втором цилиндре искра происходит вхолостую на такте выпуска отработавших газов.
- Высоковольтный трансформатор (бобина или катушка зажигания), бывает одновыводным и двухвыводным. Из одновыводной катушки (пример ТЛМ-3) выходит один высоковольтный провод на свечу зажигания.
Двухвыводная катушка имеет 2 свечных провода (например Трансформатор ИБТС 671155.004) и синхронно выдает искру на два свечных провода одновременно. - Основания магдино бывают 6-ти и 5-ти проводными. На 6-ти проводном магдино расположены 3 катушки: световая, зарядная и датчика опережения зажигания (датчик оборотов). На 5-ти проводном магдино установлены только 2 катушки: световая и зарядная со встроенным датчиком опережения зажигания. УОЗ — угол опережения зажигания, должен меняться в соответствии с оборотами двигателя. Лучшие характеристики двигатель выдает, когда система БСЗ обеспечивает расчетный УОЗ. Угол опережения зажигания определяется правильным сопряжением деталей: магдино, коммутатора, маховика и расположением основания магдино на картере двигателя. Как выставить зажигание на снегоходе?
- Сборка комплекта зажигания, осуществляется по номерам деталей, которыми производитель маркирует свои изделия. Если собирать БСЗ «из того что под руку попало», двигатель может получить неверный УОЗ во всем диапазоне работы или в отдельной его части.

- Установка зажигания на заводе производится по шаблону. Шаблон не гарантирует правильный УОЗ. Замена любой детали БСЗ на другую деталь, даже с требуемым номером, не гарантирует правильный УОЗ. Угол опережения зажигания лучше проверять как на новом снегоходе, так и после ремонта зажигания. Как пример, изменения УОЗ снегохода, при смене маховика — магдино и коммутатор остаются неизменными, смотрите в этой ТАБЛИЦЕ.
Полезные ссылки по зажиганиям снегоходов.
- Как проверить зажигание снегохода.
- Взаимозаменяемость зажиганий снегохода.
- Системы зажиганий DUCATI на снегоходах Тайга и Тикси.
Маховики бесконтактных систем зажигания снегоходов Буран, Тайга, Тикси, Рысь.
Маховик устанавливается на коленчатый вал двигателя снегохода. Для установки посадочные размеры маховика и шейки коленчатого вала должны совпадать. Работоспособность электронной системы зажигания (Россия) и двигателя обеспечиваются строгим совпадении полярности магнитов маховика: северный (N) полюс магнита должен находиться напротив шпоночного паза.
Проверку полярности магнита можно произвести с помощью компаса или другого магнита с заранее известной полярностью. Одноименные полюса (N:N или S:S) магнитов отталкиваются, разноименные (N:S или S:’N) — притягиваются. При замене маховика на новый необходимо проверить полярность магнитов.
Известны следующие маховики:
- Маховик 110800470 (произв. Рыбинск) для контактного зажигания типа МБ, для снегоходов Буран.
- Маховик 110900470 (произв. Рыбинск) для электронного зажигания применяется для снегоходов Буран. На маховике установлены 3 шпильки для крепления шкива вентилятора. Изменив точки крепления шкива вентилятора, под шкив вентилятора Тайга, маховик может устанавливаться на снегоходы Тайга с коленчатым валом С40500240.
- Маховик 110900470-01 (произв. Рыбинск) для снегоходов Тайга с коленчатым валом С40500240 под Рыбинские БСЗ, применялся примерно с 1997 по 2009 г. На таком маховике крепление шкива вентилятора осуществляется на болты.
Маховик может устанавливаться на снегоходы Буран РМЗ-640. - Маховик 110900470-02 (произв. Рыбинск) для снегохода Буран под российские БСЗ. На маховик устанавливались усиленные чешские магниты. Он имел индивидуальный порядковый номер и клеймо в виде буквы «Ч». В 2009г номер маховика 110900470-02 перестали использовать и вернулись к прежнему обозначению 110900470. Этот маховик, с переносом точек крепления шкива вентилятора, может устанавливаться на снегоход Тайга с коленчатым валом С40500240.
- Маховик М-2 (ИЮМА) 304517.003ГЧ (произв. Уфа) для снегохода Буран. Крепление шкива вентилятора осуществляется на три болта. Этот маховик, с переносом точек крепления шкива вентилятора, может устанавливаться на снегоход Тайга-500 с коленчатым валом С40500240 — под зажигание РЗП.
- Маховик М-2У (универсальный, произв. Уфа) для снегохода Буран, Тайга-500 с коленчатым валом С40500240 (под зажигание РЗП). На маховике есть шесть резьбовых отверстий для крепления шкива вентилятора.
Отверстия разнесены на два радиуса, по три штуки. Таким образом, есть возможность установки любого шкива вентилятора, без доработок. - Маховик М-4 ИЮМА 304517.005 (произв. Уфа) рассчитан на работу с зажиганием Россия ФЛЕЙМЗ и адаптирован для посадки на коленчатые валы С40500230, С40500520 и С40500720 — под зажигание DUCATI. То есть, маховик применяется для замены комплекта зажигания Ducati на российское зажигание. Крепления шкива вентилятора осуществляется на болты. Внимание!!! маховик М-4 не является маховиком для магдино Дукати!
- Маховик М-4У (ИЮМА) (универсальный, произв. Уфа), для снегоходов Тайга РМЗ-500 и РМЗ-550, с коленчатыми валами под зажигание Ducati (коленвалы С40500230, С40500520, С40500720). Маховик применяется для полной замены БСЗ Ducati на российскую БСЗ. В маховике 6 отверстий с резьбой. Отверстия расположены на 2х радиусах по три штуки. Для крепления шкива вентилятора, нужно выбрать точки подходящего радиуса.
Внимание* маховик М-4У не является маховиком для магдино Дукати!!! - Маховик 440-1508010-10СБ или 440-1508010-10У, производства г. Уфа, применяется для работы с российскими БСЗ, на снегоходах Рысь. Такой маховик не взаимозаменяем с Бурановскими и Тайговскими вариантами. Кроме того, на снегоходы Рысь-500МП, устанавливалось чешское зажигание, маховик которого отличен от российского варианта.
Примечания по маховикам снегоходов.
Маховики для снегоходов Буран поставляются под номерами 110800470, 110900470, 110900470-1, М-2 (ИЮМА), М-2У (универсальный). Маховики для снегоходов Тайга-500 с коленвалом С40500240 — под зажигание «РЗП», поставляется под номером 110900470-2. Посадочные и внешние размеры маховиков обоих снегоходов — одинаковы, но имеются отличия в точках и способах крепления шкива вентилятора к маховику. В одних случаях на маховике установлены шпильки, в других имеются отверстия с резьбой под болт, кроме того, радиус расположения отверстий на маховиках, может отличаться.
При необходимости, изменив точки крепления шкива, маховики 110800470, 110900470, 110900470-1, М-2 (ИЮМА), М-2У и 110900470-2 становятся взаимозаменяемы и могут устанавливаться от бурана на тайгу и наоборот. Из за разницы в точках крепления, съемник для снятия маховика иногда приходится дорабатывать высверливая в нем новые отверстия. Маховики М-4 и М-4У, применяются только для полной/комплектной замены зажигания Дукати, на российское зажигание.
Маховик 110800470 (контактное зажигание Буран), может устанавливаться для работы в комплекте с 5-ти и 6-ти проводными российскими БСЗ Буран, Тайга (с коленчатым валом С40500240). Для этого, необходимо удалить рычаг механизма опережения зажигания. Работоспособность такого маховика с БСЗ возможна в 2х вариантах (кому как повезет). А) Полярность расположения магнитов на маховике совпала с необходимым расположением, тогда двигатель работает штатно. Б) Полярность расположения магнитов не совпала с требуемым, тогда двигатель запускается в обратную сторону.
Для решения возникшего конфликта или перетачивают шпоночный паз маховика на 90°, или переносят катушку опережения зажигания – если конструкция основания магдино позволяет (относится к универсальным магдино). При правильной манипуляции, работа двигателя приходит в норму. Получаемый УОЗ снегохода, требует обязательной проверки стробоскопом.
Маховики зажиганий Ducati отличаются от российских размерами и посадкой и применяются на снегоходы Тайга с коленчатыми валами С40500230, С40500520, С40500720. Маховики Ducati поставляются в комплекте с магдино, и отдельно продаются только Б/У.
Для снегохода Тикси применяется коленчатый вал K90500080 — под зажигание Ducati. Магдино также поставляется в комплекте с маховиком.
Зажигания снегоходов Буран, Тайга, Тикси, Рысь.
На российские снегоходы, в разное время и одновременно, ОФИЦИАЛЬНО, устанавливались зажигания четырех производителей. Комплектности расписаны, как их создавал производитель. Про совместимость зажиганий разных производителей и взаимозаменяемость деталей, будет отдельная глава.
- Комплекты зажиганий от компании «ФЛЭЙМЗ» г. Москва. Период поставок примерно с 1986 года по настоящее время. Большая часть БСЗ Флеймз устанавливалась на снегоходы Буран, Рысь, и Тайга — с коленчатым валом С40500230 – под зажигания РЗП, который не менял свою конструкцию!
- Зажигания ОАО «РЗП» – рыбинский завод приборостроения (г. Рыбинск). Магдино и коммутаторы перед номером имеют аббревиатура ИБТС, а стабилизаторы напряжения БРСН. Зажигания устанавливались на снегоходы Буран РМЗ-640, Тайга-500. Выпуск БСЗ для снегоходов начат с 1997 года и прекратился летом 2008 года. Остатки запасов готовых зажиганий применяли примерно до 2009г.
- Зажигания ФГУП «УАПО» г. УФА. Период поставок примерно с 2005 по 2009 года. Зажигания устанавливались на снегоходы Буран с двигателем РМЗ-640 и некоторые модели снегохода Рысь.
- Системы зажигания DUCATI с 2003 г, стали внедрять на снегоходы Тайга-500, а в текущее время, применяют и на снегоходах Тайга-550 и Тикси.
- Чешское зажигание для снегоходов Рысь 500МП — магнето A-87S-1.
Московские системы зажиганий снегохода Буран РМЗ-640.
Магдино 11.3749 6-ти проводное мощностью 60Вт, устанавливалось с 1986 г., с 6-ти проводными коммутаторами 44.3743 и 4411.3734. В дальнейшем, в запчасти для этого магдино, поставлялся 6-ти проводной коммутатор 84.3734-02. Модернизация магдино 11.3749 произошла в 1997 г., и оно получило обозначение 1111.3749.
В период 1995 по 2000 г, выпускались промежуточные модели БСЗ для Бурана. Кроме того, в 1997г, РЗП запустил свою продукцию и на снегоходах встречались сборные зажигания – к примеру, устанавливали магдино РЗП, а коммутатор Флеймз и на оборот. Комплекты БСЗ, устанавливались на снегоход Буран с рыбинским маховиком 110900470.
- Двухканальная БСЗ, состояла из 6-ти проводного магдино 14.3749 (Москва), мощность 80Вт и 6-ти проводного коммутатора 4411.3734 (вып. до 97г), в дальнейшем, в запчасти поставлялся коммутатор 84.
3734-02 (вып. с 97г). - Одноканальная система БСЗ, состояла из 5-ти проводное магдино 15.3749, мощность 90Вт, период производства с 1996 до 2000 г, которое устанавливалось с коммутатором 84.3734 (на оригинальном корпусе коммутатора 84.3734 нули в конце номера не ставятся. Коммутатор в написании 84.3734-00 является подделкой). Эл. схема снегохода Буран 97г, с таким комплектом зажигания.
С 1997 года, применяли магдино 1111.3749 мощностью 70 Вт, с рыбинским маховиком 110900470 и коммутатор 84.3734-02. Это магдино, также выпускалось в 5-ти проводном варианте. Пяти проводное магдино 1111.3749 устанавливали с коммутатором 84.3734-01 только на снегоходы Рысь 97-2000 г, для Буранов такой комплект не применялся. Выпуск обоих вариантов магдино, был прекращен в 2001г.
В 2002 г, появился новый комплект зажигания для Бурана в составе 5-ти проводного магдино 26.3749 (Москва), коммутатора 84.3734-01 и маховика рыбинского или уфимского производства. Первые магдино 26.
3749 выдавали мощность не менее 130 Вт, более свежие основания, стали выдавать 130 Вт при 3000 об/м и 170 Вт при 5500 об/м. Соединение магдино и коммутатора до 2009 года осуществлялось российским штекерами, а с 2009 года стали устанавливать герметичные разъемы. Этот комплект зажигания работает на всех снегоходах Буран РМЗ-640, вне зависимости от того, какая система зажигания стояла ранее — контактная или электронная. Магдино обладает высокой надежностью и в текущее время (2017г), устанавливается на все снегоходы Буран с двухтактным двигателем 34 л.с.
Рыбинские системы зажиганий для снегоходов Буран с двигателем РМЗ-640 начали свою историю в 1997 г, с основания магдино ИБТС 453786.001. Рыбинские системы БСЗ считались очень надежными. В период появления продукции РЗП, на снегоходах встречались сборные зажигания, например, коммутатор Флеймз в паре с магдино РЗП, или на оборот. Кроме перечисленных ниже комплектов БСЗ, в запчасти поставлялось магдино ИБТС 453786.001-02 позволявшее перевести снегоход Буран с 6-ти проводной на 5-ти проводную систему зажигания.
Модельный ряд рыбинских магдино, обладал универсальностью — имелись дополнительные пазы и отверстия, для установки основания на двигателя разных годов выпуска, что обеспечивало подгонку УОЗ.
- Первый комплект использовался в 2х канальных системах БСЗ и состоял из магдино ИБТС.453786.001 в комплекте с рыбинским маховиком и коммутатором ИБТС.453631.005 — крепление на раму снегохода. Регулятор напряжения применяли БРСН 453746.001-01. Схема подключения коммутатора 453631.005 к магдино.
- Второй комплект использовали в одноканальной БСЗ — он состоял из магдино ИБТС 453786.001-01 мощностью 90 Вт, рыбинского маховика 110.900470 и коммутатора ИБТС 453631.006 — крепление на двигатель, регулятора напряжения БРСН 453746.001-01 и высоковольтного трансформатора ИБТС 67.1155.004. Трансформатор был неудачным — свечные провода обламывались внутри корпуса, а их замена была невозможна. Такую комплектность зажигания устанавливали примерно до 2003 г.
С 2003 по 2005 год, на снегоходы Буран (34 л.
с.), устанавливался комплект магдино ИБТС.453786.001-03, с коммутатором ИБТС 453631.006-01 (изначально применялся для Тайги-500). Коммутатор ИБТС 453631.006-01 так же устанавливался и на старые двигателя (28 л.с.), если на нем стояли «подрезанные» головки от 34 сильного двигателя, из-за чего степень сжатия такого двигателя достигала значения 9,2+\-0,2. В такой комплектности, двигатель 34 л.с или двигатель 28 л.с. с подрезанными головками, на 5500 об/мин получал УОЗ в 22-24° , что уменьшало вероятность возникновения детонации из-за увеличенной степени сжатия. До 2005 года, комплект устанавливался с рыбинским маховиком 110900470, а с 2005 года стали применять маховик 110900470-02 с усиленными чешскими магнитами (такой маховик имеет клеймо «Ч»).
Уфимские системы зажиганий для снегоходов Буран с двигателем РМЗ-640.
Уфимские БСЗ выпускались для снегоходов Буран 34 л.с. в период 2005 — 2009 года. Зажигания «славились» низкой надежностью. Часто, уже на первых 100 км, БСЗ выходили из строя.
Всего было выпущено 2 комплекта БСЗ. Различия между комплектами заключались в разных разъемах. К обоим БСЗ применялся маховика М-2 ИЮМА.
Первый комплект состоял из Магдино МД-4Б (Уфа) и коммутатора К-1Б ИЮМА. Магдино МД-4Б обладало мощностью не менее 95 Вт, 8-ми проводное (4х контактный овальный разъем АМР и 4 разъема папа/мама). Коммутатор К-1Б в пластиковом корпусе устанавливался на раму снегохода, 6-ти проводной — разъём АМР овальной формы и разъемы папа/мама.
Второй комплект состоял из магдино МД-4Б-01 (Уфа) мощность не менее 95 Вт, коммутатора К-1Б-01, маховика М-2 ИЮМА. Магдино имело 8 проводов, а коммутатор 6 проводов. Отличие этого комплекта от предыдущего кроется в применение плоского разъем АМР на 4 контакта (+ 4 контакта папа/мама), а не овального. Комплект позиционировал как «усиленный».
Системы зажиганий для снегоходов Тайга 500 и Тайга 550 и Тикси.
Производство снегоходов Тайга было начато в 1997г. Изначально, снегоходы Тайга выпускались с коленчатым валом С40500240, на который устанавливались российские зажигания РЗП.
В 2003г, производство стало внедрять системы зажигания DUCATI energia S.p.A. Под зажигание Dukati применяются коленчатые валы С40500230, С40500520, С40500720 – обладающие другими размерами для посадки маховика дукати. Магдино DUCATI поставляются в комплекте с маховиком, а коммутаторы и катушка зажигания исполнены в одном корпусе.
В 1997г комплект зажигания РЗП, для снегохода Тайга-500 состоял из: основание магдино ИБТС 453786.001-02 мощностью 110 Вт, коммутатора ИБТС.453631.006-01, маховика 110900470-1, регулятора напряжения БРСН 453746001-01. В такой сборке комплект обладал низкой надежностью. Для самостоятельного повышения надежности, предлагалось отдельным проводом сечением не менее 1 мм², соединить «массу» катушки зажигания и «массу» коммутатора. Следующий комплект заменил текущий.
Примерно с 2002 по 2009 год, на снегоходы Тайга устанавливался комплект зажигания: магдино ИБТС 453786.002-01 (120 Вт), коммутатор ИБТС 453631.005-02, маховик 110900470-1. Магдино/коммутатор были с герметичными разъемами.
Регулятор напряжения устанавливался БРСН 453746001-02. Этот комплект был удачнее, чем предыдущий.
С 2003г на ряд снегоходов Тайга-500 устанавливали следующие комплекты зажиганий DUCATI (Италия). Маховичное магнето Ducati: 431.71.2520, а затем 431.74.2520. К ним применяли НЕ ПРОГРАММИРУЕМЫЕ коммутаторы 432385520 (для одно-карбюраторной Тайги-500) и 432.38.5510 для 2х карбюраторной Тайги-500. В комплекте БСЗ устанавливался датчик оборотов Pick UP 433 13 3551N.
С декабря 2007 года, ввели новый комплект: Маховичное магнето ALTERN.A VOLANO 431.74.2040, датчика PICK UP 433 13 3570, и ПРОГРАММИРУЕМЫЙ коммутатор Ducati 432.408102 (с 01.01.11 этот коммутатор заменили на коммутатор 432.408103). На программируемых коммутаторах предусмотрена автоматическая функция режима обкатки двигателя — первые 5/6 часов, двигатель не раскручивался до максимума – по их истечению, ограничитель оборотов исчезает.
И примерно с 2011 г., комплект БСЗ DUCATI состоял: Маховичное магнето Дукати 431.
74.2050, программируемый коммутатор 432.408.103 и датчик Pick up 433133570.
В 2010 г., компания Флеймз – Москва, для карбюраторных снегоходов Тайга 2Т, стала производить обособленный комплект российской БСЗ для замены зажигания Дукати. Комплект состоит: основание магдино 26.3749-09 (Москва) мощность 200Вт, коммутатора 84.3734-09 и маховиков М-4 или М-4У. Основание магдино 8-ми проводное, а коммутатор 6-ти проводной, соединение — герметичные разъемы АМР, катушка зажигания 4412.3705, высоковольтные провода T 775C-5-01 и регулятора напряжения A-R104-1 (другой не выдерживает мощности магдино). Этим комплектом можно полностью заменить систему зажигания Ducati, установленную на коленчатые валы С40500230, С40500520, С40500720 – под зажигание Дукати. Хотя производитель продвигает этот продукт только в отношении снегоходов Тайга, такую систему можно установить и на снегоход Тикси в исполнении без реверса.
Для снегоходов Тикси базового и люксового исполнения, применяется БСЗ от Ducati состоящая из MAGNETE ALTERN.
A VOLANO 431 74 2040, коммутатора со встроенным трансформатором 432 38 9600, и датчика(ов) оборотов. В ноябре 2011г, магнето 431 74 2040 заменили на магнето 431 74 2050, коммутатор остался прежним. Если снегоход имеет электронный реверс, то к указанному комплекту применяется два датчика 433 13 3590 и 33 13 3580. Если снегоход без реверса, тогда только один. Для замены зажигания Дукати, на снегоходе Тикси (без реверса), можно применить зажигание Флеймз, продвигаемое для снегоходов Тайга (выше).
Системы зажиганий снегохода Рысь.
Снегоходы Рысь производились УМПО — Уфимское моторостроительное производственное объединение с 1997 по 2009 год. Модельный ряд, освоенный производством в порядке появления на рынке, состоял из Рысь 113, Рысь 119, Рысь 121 спорт (укороченная модель Рысь 119), Рысь 500+, Рысь 500М, Рысь 500 МП. Отметим, что с конвейера снегоходы Рысь с российскими БСЗ, комплектовались только маховиками 440-1508010-10СБ производства УМПО. Самые первые маховики имели обратную полярность.
С появлением 5-ти проводных комплектов БСЗ полярность маховиков была приведена в общепринятую (такую как на рыбинских маховиках текущего времени). Рысевские маховики 440-1508010-10 не взаимозаменяемы с маховиками снегоходов Буран, Тайга. Так же, на первых и последующих моделях, различались картерные точки крепления магдино к картеру.
С завода снегоходы Рысь комплектовались следующими системами зажиганий.
На Рысь 113 устанавливали: катушки зажигания ТЛМ-3, стабилизатор напряжения СНО-5, шестипроводное магдино 11.3749 в паре с 6-ти проводным коммутатором 44.3734. Электрическая схема зажигания снегохода Рысь 113. В октябре 1997г, магдино 11.3749 модернизировали и стали выпускать под номером 1111.3749. При этом магдино 1111.3749, первое время выпускалось в 6-ти и 5-ти проводных вариантах.
С октября 1997г, на снегоходы Рысь, устанавливали магдино 1111.3749 (60 Вт) и 5-ти проводной коммутатор 84.3734-01. Катушки зажигания ставили ТЛМ-3, а регулятор напряжения СНО-5 или СНО-6.
Примерно в 2002 году, магдино 1111.3749 так же модернизировали (увеличили мощность) и присвоили новый номер 26.3749.
С 2002 года на снегоходы Рысь устанавливали 5-ти проводное магдино 26.3749 с 5-ти проводным коммутатором 84.3734-01. При этом магдино разных годов выпуска обладают разными колодками для подключения (Россия или АМР-влагонепроницаемые).
В 2005г, на Рысь 500+, устанавливали Уфимский комплект зажигания состоящий из магдино МД-4 и коммутатора К-1 (в комплект входили трансформатор ТВС-1 и стабилизатор напряжения СНО-6. Схема зажигания Рысь 500+.
Обособленное место занимал снегоход Рысь-500МП, на который ставили чешское зажигание, состоящее из магнето A-87S-1 или A-87S1.2, работавшее в паре с коммутатором A-Z92 (коммутатор со встроенной катушкой зажигания) и отдельным датчиком числа оборотов (номер неизвестен). В качестве регулятора напряжения применялся регулятор A-R30-1. Снегоходы Рысь перестали выпускать в 2009 году.
Если вы заметили неточность в материале или обладаете дополнительной информацией, сообщите нам об этом, на электронный адрес.
Для получения эл.адреса, нажмите СЮДА.
Поблагодарите автора, нажав кнопку рейтинг вверху страницы, или разместив ссылку на статью в сети интернет. Спасибо 
| 20 терминов, касающихся снегоходов, которые вы должны знать | |
| Дроссель | При нажатии на рычаг дроссельной заслонки в двигатель подается больше топлива, которое, в свою очередь, приводит в действие карданный вал и резиновую гусеницу, перемещая вас вперед (или назад на снегоходах с реверсом). |
| Выключатель двигателя | Способ быстрой остановки двигателя.Чтобы активировать его, вы должны нажать переключатель вниз. |
| Дроссель | При нажатии на рычаг дроссельной заслонки в двигатель подается больше топлива, которое, в свою очередь, приводит в действие карданный вал и резиновую гусеницу, перемещая вас вперед (или назад на снегоходах с реверсом).![]() |
| Рули | Главный рулевой механизм. |
| Ветровое стекло | Защищает от ветра и холода. Также отклоняет любой мусор, лед или снег, которые могут взлететь во время работы. |
| Фара(ы) | Осветите путь перед своим снегоходом и предупредите других водителей о своем присутствии. Их нужно использовать как в светлое время суток, так и в вечернее время. Фары большинства снегоходов имеют настройки дальнего и ближнего света. |
| Капюшон | Защищает и закрывает двигатель и другие механические компоненты. Всегда проверяйте двигатель перед любой поездкой. |
| Двигатель | Двигатели снегоходов, как правило, двухтактные, за исключением более новых моделей, в которых используются четырехтактные двигатели. Ремонт и устранение неисправностей аналогичны любому другому транспортному средству. Всегда помните о правильном обслуживании вашего автомобиля и, по возможности, доверяйте его обслуживание квалифицированному специалисту. |
| Корпус или ванна | Также известный как поддон, он предназначен для облегчения плавания в глубоком снегу, а также для защиты ходовой части от камней, льда и другого твердого мусора. |
| Передний и задний бамперы | Помогает защитить от незначительных столкновений с деревьями, камнями и другими снегоходами.Всегда водите осторожно и с безопасной скоростью. |
| Ручка наконечника лыжи | Удобен для буксировки, перемещения и подъема автомобиля. |
| Лыжи | Включая износостойкие стержни и карбиды, лыжи скользят по поверхности снега и управляют транспортным средством по снегу. |
| Лыжный шпиндель | Соединяет лыжи с подвеской и рулевым управлением. |
| Амортизатор | Используя пружины, гидравлику или и то, и другое, «амортизаторы» обеспечат вам комфортную и плавную езду по ухабистой местности. |
| Трек | Изготовленная из армированной резины «гусеница» оборачивается вокруг системы задней подвески снегохода и приводится в движение двигателем. |
| Задняя подвеска | Подвешивает гусеницу, когда она врезается в снег, что помогает сохранить контакт между снегоходом и снегом.Также поддерживает заднюю часть снегохода, поглощая неровности, обеспечивая плавность хода.![]() |
| Подножка | Также называемый туннелем, он расположен по обеим сторонам снегохода и используется для опоры ног во время движения снегохода. |
| Задние фонари | Всегда проверяйте исправность задних фонарей и стоп-сигналов. Всегда носите с собой запасные лампочки в наборе инструментов под сиденьем. |
| Ремень для пассажира | Убедитесь, что у вашего пассажира есть прочный и безопасный ремень, за который он может держаться. Перевозите пассажира только в том случае, если снегоход предназначен для этого. |
| Идентификационный номер автомобиля | Этот номер является уникальным идентификатором, присвоенным снегоходу. Федеральный закон запрещает снимать этот номер с автомобиля. |
| Приборная панель | Предоставляет информацию о вашем снегоходе, например скорость. Также включает сигнальные лампы и тахометр. Тахометр показывает скорость вращения карданного вала в RPM (оборотов в минуту). Просмотрите руководство пользователя, чтобы знать обо всех сигнальных лампах и их значении. |
Мощность снегохода — Как работают снегоходы
Четыре основных компонента, непосредственно задействованных в работе снегохода: У снегоходов также есть фары, сиденье и ветровое стекло, как у мотоциклов.
Двигатели снегоходов очень похожи на двигатели гидроциклов. Более тяжелые туристические модели, как правило, используют четырехтактный двигатель, а более легкие и спортивные модели используют двухтактный.
Автомобильный двигатель передает мощность через карданный вал, который непосредственно вращает ось и колеса автомобиля. Однако двигатель снегохода соединен с гусеничным приводом , который вращает гусеницы. Колеса снегохода представляют собой большие шестерни с равномерно расположенными зубьями и отверстиями в гусеницах.
Каждое вращение шестерни приводит в действие гусеницы и толкает снегоход вперед. Чем быстрее двигатель, тем быстрее вращаются шестерни и тем быстрее движутся гусеницы.
Снегоходы также имеют систему сцепления, которая в основном представляет собой разновидность бесступенчатой трансмиссии со шкивом. Эта система состоит из двух шкивов или муфт, соединенных приводным ремнем. Первичная муфта установлена на коленчатом валу двигателя. Нажимная пружина разделяет две половины первичной обмотки при низких оборотах двигателя.Когда двигатель начинает разгоняться, грузы сцепления создают достаточную центробежную силу, чтобы замкнуть сцепление, позволяя ремню свободно двигаться и передавать мощность.
Вспомогательная муфта соединяется с гусеничным приводом , который вращает колеса и приводит в действие гусеницы. Пружина вторичной муфты приводит в действие кулачки (клинья), чувствительные к крутящему моменту. По мере увеличения оборотов двигателя и передачи мощности первичным валом эти кулачки сжимаются и натягивают ремень.
Процесс продолжается по мере ускорения снегохода. Как только он достигает максимальной скорости, первичная муфта замыкается, переводя ремень на более высокую «передачу». Поскольку для разгона снегоходу требуется меньше мощности, чем для трогания с места, вторичное сцепление размыкается.
В отличие от ручной или автоматической коробки передач, эта система бесступенчатая и может плавно переключаться между бесконечным числом «передач» в зависимости от скорости и требуемой мощности. Чтобы узнать больше, ознакомьтесь с разделом «Как работают вариаторы».
Далее мы узнаем больше о гусеницах и о том, как управлять снегоходом.
Сиденье Boss ski doo.
Polaris XP 1000 EPS супер квадроцикл
12 999 долларов. Гусеница 144 x 2 (оригинальные и отсутствующие проушины). Раскройте максимальную мощность и производительность вашего 850 Turbo с помощью настроек ЭБУ Speedwerx Torque Link. Есть ЗАДНИЙ ХОД, Подвеска и гусеница как новые, без потертостей и трещин, гаражное хранение.У моей жены был ренегат 800. Ответов 0 Совершенно новое место босса для Apex wishn4snow; 28 ноября 2018 г.; 1. SKI-DOO 2022 MXZX 600RS (RACE SPECIAL) 2004 efi 700 firecat имеет перевернутое сиденье бобышки и стояки. Итак, что вы можете купить в Интернете, чтобы купить OEM-детали задней кабины и сиденья, подходящие для вашего Polaris TRAIL BOSS 2002 года (A02CA32AA/AB), найти все наши OEM-запчасти или позвонить по телефону 1-866-842-0086. Купить в Интернете OEM-заднюю кабину и сиденье. детали, которые подходят для вашего Polaris A04CA32AA TRAIL BOSS 330 2004 года выпуска (A04CA32AA/AB/FA), найдите все наши OEM-запчасти или позвоните по телефону 1-866-842-0086 Комплектация: ЛУЧШИЙ В МИРЕ SNOW Belt Ski-Doo.Типичное качество Ski-Doo Top Качество+идеально сидит+пристегивается, очень доволен!! Теперь мой 550 Fan Sport Rengrade более удобен для пользователя! И возьмите мой… QRS Smooth Shift Bearing (работает на всех вторичных машинах Ski-doo QRS 2008+) 2012-18 Arcitic Cat Secondary, 2018-21 Arcitc Cat с вторичным боссом 27 долларов.
Ski doo XM 800 2013 года только что имел верх и низ завершение восстановления с помощью комплекта большого диаметра 872. На ваше рассмотрение NOS Ski Doo 6. Blue Fuel Line — 1/4 дюйма, 26, 7, поплавковая игла и седло — будет течь лучше, чем стоковый 1.Cat, Thundercat Race Series 2001-2006 На 3 дюйма больше, чем стандартная высота. SKINZ PROTECTIVE GEAR SKI-DOO REV GEN4 TUNNEL PACK FOR SUMMIT, MXZ, RENEGADE, BACKCOUNTRY. Кроме того, у нас действует беспроблемная политика возврата, поэтому вы можете делать покупки с полной уверенностью. у Денниса Кирка!Обивка сидений высшего качества Grip для Yamaha.Arctic Cat Firecat, Sabercat, Sno Pro Classic Full Storage 2002-2006 3 дюйма больше стандартной высоты. Находится в Трое, штат Айдахо. Мы уезжаем рано в пятницу и возвращаемся поздно в воскресенье. Сиденья для снегохода; Чехлы на сиденья; Сортировка.Это было НАМНОГО удобнее, чем сток (ИМХО)! 2016 Polaris Pro-RMK 800 163″ 1998 Arctic Cat ZR 600 EFI «Custom» 1996 Ski-Doo Formula III 600 Горный лев, бродящий по прериям, нашел быка, убил его и Это сиденье подходит для следующих шасси: Formula III 1998-2000, Formula Deluxe 2001, Formula Z 2000, Grand Touring 1998 (только SE и 700) 1999-2003, Legend 2002-2005, Mach I 1998-2000, Mach 2 1998-2003, Mach Z 1998-2003, MXZ 1996-2001 2002 (кроме rev) 2003 (кроме rev и x440) 2004 (только 380f и 550f), Skandic 500F 2003-2004, Summit 1998 (только 670x)… BOSS поможет вам посадить снегоход на диету и даст возможность сбросить несколько легких килограммов.
специальные заказы 2 недели ок. 2022 … Добро пожаловать в Go Big Parts and Accessories, LLC! Мы надеемся, что вам понравится делать покупки на нашем новом веб-сайте, оптимизированном для мобильных устройств. Этот Трейл Босс был боссом, не так ли? На тропе это босс. Ski-Doo вернулись в скоростные войны не менее чем с тремя новыми снегоходами. Новый дизайн Boss Seats теперь на 100% сделан в США с использованием только лучших материалов и мастерства, что делает это сиденье бесспорным победителем! Ski Doo Super Q Sile 278 долларов. Перевозка дров, доступ к удаленным коттеджам и охотничьим хижинам, извлечение канатов-ловушек или буксировка ледяной лачуги — все это входит в список «To-Do» Skandic.30% скидка. У меня есть два снегохода Polaris на продажу, один из них XCR SP 600 1996 года выпуска с пробегом 3500 миль. Мотоцикл был полностью разобран, все перестроено или заменено, а также был модернизирован комплектом двигателя S&S 124ci, распредвалами 640 S&S, масляным насосом Screaming Eagle, вторичной выхлопной системой, открытым воздухозаборником, неоригинальным сиденьем, сцеплением с гидравлическим приводом, передним управлением, колеса, шкив, обтекатель с двумя динамиками… Я ездил на стандартной F7 и на одной с Boss Highrise Flattop.
2009 Ski-Doo Summit X 146 800R Power T.2 оценки продукта. Ski Doo Summit X 800 E-tec 2014 года в сборе с цепью и всеми компонентами. 2002 Ski-doo MZX 600 с прицепом (Анкоридж, Аляска) pic ’02 Skidoo MZX 600 Только два владельца! Отлично работает! Электрические Ski-Doo появятся к 2026 г. Представлена линейка снегоходов Arctic Cat 2022 г. Представлена линейка снегоходов Polaris 2022 г. Новое сиденье Cat также примерно на полдюйма выше, чем опциональное сиденье BOSS 2009 года. 289 долларов. 8 из 5 звезд. Их можно приобрести для клиновидных капотов Polaris или S-образных шасси Summit, вплоть до нового XP, наше первое сиденье XP наконец-то в пути.Квадроциклы нуждаются в регулярном обслуживании, чтобы поддерживать их в рабочем состоянии, и иногда они все равно ломаются. НЕ обращайтесь ко мне с нежелательными услугами или предложениями. Если вы хотя бы отдаленно заинтересованы в том, чтобы уменьшить вес вашего снегохода, сиденье BOSS — один из самых простых и экономичных способов сделать это.
Ски-Ду Сафари. 5 FlexEdge Rotax® 850 E-TEC® Black 15 На складе: USED2018SUMMITSP850 Для получения дополнительной информации позвоните по телефону 207-864-5343 или заполните форму «Свяжитесь с нами».№ по каталогу: 612783 № по каталогу производителя: AW125. К. Скинц. 75 гусениц, обогреватели для рук/больших пальцев, держатель для бензопилы с кожаными лыжами, крепление для GPS, защитная пластина всего тела, задний бампер с фаркопом, багажник для ружья/крепление для бензопилы, грузовой багажник Linq, запасная отдача, лебедка Warn 2500, изготовленные на заказ черные сани Polaris Mod. 86. Серебро 925 пробы с сердцевиной из 4 бусин. Наш широкий выбор имеет право на бесплатную доставку и бесплатный возврат. Удобные и быстрые снегоходы. 5. Алюминиевая подставка для удочек и держатель холодильника Brocraft Jet Ski с газовыми пластинами / держателем удочки PWC.Чтобы приобрести аксессуары или загрузить электронную книгу с руководствами по эксплуатации лыжных дулок, вам необходимо создать стабильную БЕСПЛАТНУЮ учетную запись.
Сиденье БОСС. Это босс на тропе, который ведет вас через одно приключение за другим. Купить сейчас. В очень хорошем состоянии 159 трек. 28 долларов. Саммит Ски-Ду. E. 0. 2022 Ski-Doo Skandic® Sport Rotax® 600 EFI PURE BRED WORKHORSE. 2009 Ski-Doo MXZ Renegade X 00R Power TEK Service. Лучшее стало еще лучше благодаря новому дизайну сиденья BOSS. Подходит для снегоходов Polaris Switchback 800 и 600 2017-2016-2015 гг.и мы работаем на страсти и вдохновении. Обычная цена: $299. Комплект для замены моторного масла Sea-Doo XPS 4T 5W-40 Synthetic Blend для двигателей Rotax объемом 1500 куб. см и более. 88. В комплект входит рама/блокировочная панель и сиденье с верхней крышкой (все крепежные детали включены для полной установки). Моя учетная запись Система обогрева сиденья шорника — 08212101 $138. Ответов 0 просмотров 61. Boss Seats на 100% сделаны в США! Сделано только из лучших материалов и мастерства, что делает это сиденье единственным выбором! Особенности верхнего сиденья. Очень мало часов и миль на этой сборке.
99 Покупайте наш большой выбор OEM-запчастей Polaris TRAIL BOSS 250 (W958527) 1995 года выпуска, запасных частей производителей оригинального оборудования и многое другое в Интернете или по телефону 1-866-842-0086 Приобретайте наш большой выбор OEM-запчастей Yamaha AR210 (LAT1100AM) 2013 года, оригинального оборудования запасные части от производителей и многое другое в Интернете или по телефону (866) 554-4217 Купите наш большой выбор OEM-запчастей 2005 года выпуска Polaris TRAIL BOSS 330 (A05CA32AA), запасных частей от производителей оригинального оборудования и многое другое в Интернете или позвоните по телефону 1-800-253-7667 ОНЛАЙН-ЗАПЧАСТИ: 1-800-253-7667 Бесплатная доставка при заказе на сумму более 149 долларов США (применяются некоторые ограничения) Приобретите наш большой выбор OEM-запчастей Polaris TRAIL BOSS 330 (A03CA32AA) 2003 года выпуска, запчастей от производителей оригинального оборудования и многого другого онлайн или позвоните по телефону 1-800-253- 7667 ОНЛАЙН-ДЕТАЛИ: 1-800-253-7667 Бесплатная доставка при заказе на сумму более 149 долларов США (применяются некоторые ограничения) Skidoo rev 2006 года, 950 прямолинейный большой диаметр, трубы с двумя кривошипами, Vforce 3 язычка, гусеница 156/3”, седло босса.
Кузов, топливная система. Деталь №: 4501753 Изготовитель № детали: 0821-2893. Экспедиционный экстрим Ski Doo. Все шаги, чтобы стать дилером. ком для получения дополнительной информации. Просят 1700 долларов. Коэджот. Скидка и быстрая доставка на все сиденья Polaris Switchback! Получите 2 места вверх для своего нового Polaris Switchback или просто измените цвет, и мы можем помочь вам в этом. Не готовы продавать прицеп отдельно, пока не будут проданы снегоходы. Общие квадроциклы Polaris Big Boss 6X6. 400 частей 6×6-полярис большой босс 400 6х6 обзор-полярис большой босс 4х6 частей-полярис большой босс сиденье.Ski-Doo XP, XS, XR, XM Classic Full Storage 2008-2016 гг. Стандартная высота. Наш сервисный отдел открыт с понедельника по субботу с доступными механиками. Облегченная передняя часть Holz и лыжи Ski Doo DS-3, титановые пружины на ремонтопригодных амортизаторах HPG. Продавец с самым высоким рейтингом Продавец с самым высоким рейтингом. выбор двигателя Платформа REV-XP Гидравлический тормоз Brembo Du Black Gripper Seat Cover от Stompgrip®.
Ski-Doo — бренд снегоходов номер один в мире, предлагающий модели от высокопроизводительных до утилитарных, с экологически чистыми 2-тактными и 4-тактными двигателями.21 января 2008 г. [/IMG] 5-дюймовый шарнирно-сочлененный стояк ROX Высокое сиденье Boss 136x15x1. Ski Doo Глушитель SKI-DOO SUMMIT-X 2007 ПРОДАЕТСЯ! Сиденье босса, трубы и глушитель, гусеница 151, лыжи Simmons и многое другое, хороший агрегат. #mpn4712440569. Доступны варианты из винила, велюра или прочной ткани Tuff-Tex™ во всех цветах. Смотреть 3700 долларов. Кривошипный рулевой рычаг EZ. Просто позвони Кену в магазин. Артикул: ECU-SD850T. Предыдущий Следующий. 0 из 5 звезд 1 Скидка 14% 2 съемное сиденье 3-го ряда для Tahoe 2010 $1 (Manistee) pic скрыть эту публикацию восстановить восстановить эту публикацию.Его фотографии можно увидеть, щелкнув здесь или заглянув в руководство по эксплуатации снегохода Bombardier 1965 года на странице -49-. Ежемесячные скидки на ноябрь. Находится в Gull… Black Gripper Seat Cover от Stompgrip®.
— Чехол PowerMadd Seat Riser Kit Cover для Ski-Doo REV ESR 08-11 52010. 25 Ice Ripper XT Track, модуль Premium Guage, переоснащение туннеля, сиденье 1+1, сумка для стояка, сумка на бак, наколенники, StudBoy Deuce Carbides, карбиды BRP перемещены в стороны, защитная пластина. Он был протестирован, но никогда не устанавливался на снегоход.Отзывы. 00 Mountain Magic M8 турбо. Панель сиденья Ski-Doo — 2002 MXZ 500 — 572107601 — № 4463. 150 долларов. roadrunner982000@hotmail. 04 03 05 SKI DOO SKIDOO 500ss 600 MXZ TRAIL REV адреналин КОМПЛЕКТНОЕ СИДЕНЬЕ OEM. 75. 8 долларов. Нужны запчасти для Skidoo? ЗВОНИТЕ 908-483-5322. места босса. Измените стиль вождения По улице, по грязи, по снегу. Новая гусеница polaris размером 151 x 2 дюйма, кажется, у нее 2. Ski Doo Super Q Sile 09 SKI DOO SUMMIT XP 800 BOSS SEAT SADLE LIGHTWEIGHT COVER BASE FOAM XM *0069. 99. Канистра GGB Mountain для SkiDoo 800 Etec 2013-2017 H имеет банку GGB Mountain для SkiDoo 800 Etec, подходит для моделей 2013-2017 гг.449 долларов.
Expedition LE 2016 оснащен новейшей передней подвеской Ski-Doo, RAS2 с более высокими шпинделями лыж и измененной геометрией, чтобы улучшить управляемость и общую управляемость. 225 долларов. 5, отлично подходит для стандартных или модифицированных снегоходов! Комплект для восстановления карбюратора SeaDoo Mikuni марки Venom, седло иглы и прокладка основания (совместимо с Sea-Doo, подходит для 92-96 GTS, 91-96 SP и 93-96 SPI) 22 октября 2020 г. Комплект для ремонта карбюратора All Balls 26-1009 Polaris Sportsman 600/700 4×4 2003-2007 Быстроразъемное соединение 1/4 дюйма.Синяя топливная магистраль — 3/8 дюйма. От шатунов до тормозных магистралей — у нас есть OEM-запчасти для Polaris Trail Boss 330! Особенности. Комплект подъема сиденья от PowerMadd®. сиденье WTB Ski Doo Orange от Summit X Blue\Orange Concrete356 2022; 22 декабря 2021 г .; 0. 64 Новые запчасти для снегоходов — Магазин запчастей для снегоходов. Спасибо! Если вы не получаете уведомления по электронной почте, проверьте свой… Renegade Enduro.
На и вне трассы. 2016 Extreme 800, 924 км, высокий/низкий задний ход, 154x20x1. Добавить для сравнения Добавить в список желаний. 5-дюймовая гусеница Powdermax.Дизайн Rev с передним райдером был большим шагом вперед. Кузов, задняя кабина и пространство для ног. Ski Doo Summit 1000 (не X) 2005-06. Если бы я купил F7, я бы, несомненно, купил для него место Boss. (Нет силовых клапанов. * Из-за высокого спроса, проблем с логистикой и глобальной нехватки расходных материалов ваш снегоход может быть не таким, как показано на рисунке. Возьмите его с собой; лучшие зимние впечатления предназначены для того, чтобы делиться ими. Ski-Doo Renegade 99 $ 27. Это единственный высокопроизводительный глушитель, разработанный для Factory Turbo с выпускным коллектором для вторичного рынка, который позволяет использовать пространство и оставить место для кронштейна для хранения тепла HPS и мешка (скоро будет доступен).Титан, будь то «базовый» SP 155, более агрессивный XC 155 или Titan Adventure 155 для людей, полностью нас удивил.
16 500 долларов. Корзина. 11. 379 долларов. Продам Ski-Doo Summit Adrenaline 800 2003 года выпуска. Выучить больше. Полный комплект брекетов Grip N Rip. K. Отделка — покраска: капот снят для уменьшения веса и улучшения вентиляции, стандартная графика с индивидуальными наклейками. Или лучшее предложение. 2004 Ski-Doo Summit 800R 159 HM Xtreme Seat 510004582 (0305) Это OEM-сиденье Boss, которое поставлялось на специальном M800 2009 года с проточкой для снега, поэтому сбоку сиденья напечатан логотип Arctic Cat.24 доллара. Для привлекательности и функциональности сиденье имеет каплевидную форму. 2000 долларов. 2008 Arctic Cat M8 (Василла, Аляска) pic 2008 Arctic Cat M8 153 X 2 на треке. Новое в … Huthbrother BOW STOPS PWC-5A Бампер для прицепа со сцепкой, совместимый с Jet SKi Ski doo, Waver Runner, PWC, замена 5801632 BY6105 4. Ski-Doo 1996-99 MXZ 440 500 583 670 Сменное сиденье … ПРОДАЕТСЯ: BOSS SEAT Подходит для шасси Ski-Doo ZX и CK3. По шкале от 1 до 10 = 9. 50 Просмотреть детали Добавить в корзину Сегодня газета National Post использовала изображение (которое я отсканирую и опубликую позже сегодня вечером) шасси PRS Plus.
(поставляется со всем крепежным оборудованием): пиво; У меня тоже есть один станд. CST с понедельника по пятницу или посетите сайт www. Сменный чехол для сиденья Saddlemen Saddle Skin — AW125. Категории. 259 долларов. 5 Black ПОБЕЖДАЙТЕ ТО, ЧТО ДРУГИЕ НЕ МОГУТ Непревзойденные возможности Простое управление и определяющая для отрасли мощность объединяются, чтобы обеспечить впечатления, в которые вы должны поверить. com в свой безопасный список адресов электронной почты, чтобы получать подтверждения по электронной почте от вашего заказа, а также обновления, такие как номера для отслеживания. 1999 г. Банка Powder Special 700 Super-Q, Power Reeds, 4-дюймовые свободные концы мух. Дроссель Powdermad Ext, с Fly Extn.Rotax® 900 ACE™ Turbo R с тросовой дроссельной заслонкой и электромеханическим реверсом. Продаю только потому, что сын вырос. 44 доставка. Бронзовые масляные втулки. 399 долларов. 00 кад. Чат Honda Yamaha Kawasaki Polaris Suzuki Can-Am Ski-Doo Sea-Doo Arctic Cat. Тормозная магистраль Doo Rev 1+1 сиденье P510004851 CA2 250 долларов США.
Этот снегоход имеет пробег 3740 км, камуфляж, сиденье Boss, 8-дюймовую башню. 175 миль на нем. Polaris Sportsman ACE 570 – Traktori vai rallipeli? Покупайте наш большой выбор OEM-запчастей Polaris RANGER CREW XP 1000 NSTR TRAIL BOSS EVAP (R21RSV99AC/BC) 2021 года, запчастей от производителей оригинального оборудования и многого другого онлайн или … BIG BOYS TOYS.Highmark 151. 4 из 5 звезд. 12 499 долларов. OEM запчасти и аксессуары Skidoo по лучшим ценам. Другой — Polaris xlt Indy 1995 года выпуска с дополнительной подвеской 12 и пробегом 2470 миль. 2006 Rev 800 Summit 151mods: Клапаны Boyesen RAD Комплект сцепления A2D (Спасибо, Чад!) Сиденье босса Удаление фар SLP PipeSLP VentingSLP Двойные хромированные кольца/поршниSPI dual Если у человека есть сани, для которых он хочет новое сиденье босса, вы можете получить их для более старых снегоходов к. Качественная модель Trail Boss/Magnum 200 разработана практически для всех случаев применения на шоссе и вне его, где требуется широкая регулировка высоты сиденья.
с титулом в руке. Готовы приступить к работе? Этот квадроцикл заслуживает того, чтобы отправиться в путь, а не застрять в магазине. День благодарения и… Купите наш большой выбор OEM-запчастей Polaris TRAIL BOSS (A02CA32AA/AB) 2002 года, запасных частей от производителей оригинального оборудования и многого другого онлайн или позвоните по телефону 1-800-253-7667 ОНЛАЙН-ЗАПЧАСТИ: 1-800-253-7667 Бесплатная доставка При заказе на сумму более 149 долларов США (применяются некоторые ограничения) СКАЧАТЬ Руководство по ремонту Ski-Doo с 1970 по 2012 г. Модели 02 июля 2018 г. · 2003 г. Ski-Doo ZX Series & 2 TEC Legend 800 SE DI Руководство 2003 г. 4 TEC Legend V-1000 Sport, Grand Touring V -1000 Sport Manual 2003 Tundra R Skandic LT, LT E, WT, SWT, WT LC SUV Manual Ski-Doo Полные двигатели для снегоходов для продажи | eBay 1999 долларов.Тормоза, рычаг переднего тормоза и главный цилиндр. 800X 2001 года был моим первым снегоходом, который мне очень понравился. 59. 1 доллар. Ответов 1 Просмотров 1K.
Комплект осей для двух колес. 32 доставка. Никаких сделок. У меня есть новое сиденье Boss Highrise на продажу — я заказал его этой весной, и сейчас мне нужно $ хуже, чем сиденье. com и нажмите «Служба поддержки», затем «Отзыв продукта», а затем «Список бюллетеней по безопасности» для настроек ЭБУ Speedwerx Torque Link // Ski-Doo 850 Turbo. Арендуйте сейчас – купите позже: снегоходы Ski-Doo 2022-2019 850cc Turbo, 850cc, 600cc, 550fan.5 S-Lev БОЛЬШЕ, ЧЕМ СИЛА. Обратите внимание, что к отображаемой цене может быть добавлена товарная надбавка в размере 400 долларов США. Сани отлично ездят, проблем нет, готов к поездке. сиденье Polaris 2-го поколения, маттимак; 16 декабря 2021 г .; 0. ТДХ. Все заказы на сумму более 89 долларов США получают бесплатную доставку. 00 2005 Ski-doo Summit X 1000 (Soldotna) фото 2005 Summit X 1000 162″ Продажа или обмен. избранное этот пост 19 декабря 2018 г. rzr xp turbo $12 999 (Randolph ma South Shore) фото скрыть эту публикацию восстановить восстановить эту публикацию.
ком. из США SKIDOO SKI DOO OEM MXZ 800 600 500SS 380 GSX СИДЕНЬЕ СЕДЛО БАГАЖНИК ОКРУЖНОЙ БАГАЖНИК (Подходит: 2005 Ski-Doo MXZ 600) $39.1504 Fruitvale Blvd Yakima, Wa 98902. Узнайте больше. Войти. Сделано, чтобы владеть тропой; Воины выходного дня объединяются; Мы снегоходчики. Гордый канадец. 5900 р. на приборке. ID — Two Foot — Blue (Распродажа) 2 доллара. Артикул:SDT. Компания Al’s, принадлежащая семье и работающая с 1984 года, специализируется на качественных бывших в употреблении, новых и неоригинальных запчастях для снегоходов самых популярных и малоизвестных марок снегоходов, включая Polaris, Yamaha, Ski-Doo, Arctic Cat и другие. ДОЛЯ 2007 Summit x 800r 2958 миль Место босса Полная труба SPI Digitron egt Gauge Передние амортизаторы Fox Float Лыжи Summit xm Сильный бегун, чистые и прямые 3600 долларов наличными 2007 Ski doo Summit x 800 — Транспортные средства Powersport — Хартфорд, Висконсин | Facebook Marketplace 5-дюймовая шарнирно-сочлененная стойка ROX Высокое сиденье Boss 136x15x1.
198 долларов. 2013 Ski-doo Mxz 600 Sport XP Seat & Trunk Assembly 800 Yellow Black Summit (подходит для Ski-Doo) 109 долларов. Советы и настройки Ski-Doo 850 Gen4 в The Sled Shack — Stewart B. Подтвержденная покупка. У нас есть полный ассортимент новых и подержанных снегоходов и подержанных квадроциклов, а также гусеницы Kimpex, прицепы Mission, бензопилы Husqvarna, газонокосилки, кусторезы и множество аксессуаров. 2001 Ski Doo 700 cc Formulla Parts Не продается полностью за 101 доллар (Houghton Lk) Снегоходы Ski-Doo Freeride: Стоимость снегохода Ski-Doo Freeride начинается примерно от 15 000 долларов.Второй мод — это Gen 2 с низким временем 800 с силовыми клапанами. Alaska’s List — это огромный онлайн-сервис объявлений, в котором представлены сотни снегоходов, выставленных на продажу продавцами по всей Великой земле и за ее пределами. 85. Владельцы этих агрегатов должны обратиться к своему дилеру Arctic Cat для замены ведущей муфты перед повторным использованием агрегата. Извините, но этот товар недоступен.
У вас уже есть автомобиль? Попробуйте доступные аксессуары с помощью конфигуратора или просмотрите интернет-магазин. он в новой форме.Комплект подъема сиденья. 8900 долларов. 80 $2. Места > Места босса. Сменный чехол для сиденья Saddlemen® (AW161) 0. Компания BOSS Racing подписала контракт с национальным чемпионом ISOC Pro Lite Snocross 2015 года Райаном Спрингером, который будет ездить на мотоциклах Jimmy John’s/Lucas Oil/FXR/Ski-Doo в классе Pro Open в сезоне 2017–18. 95: Количество: У нас есть или мы можем заказать сиденья Boss для большинства брендов, Arctic Cat, Polaris, Ski-doo и Yamaha. 00 плюс доставка. Мохалл, Н.Д. Тащить. Одиночное отключение. 1700. КОМФОРТ И КЛАСС, ОРИЕНТИРОВАННЫЕ НА ВОДИТЕЛЯ Ski-Doo Freeride™ Rotax® 850 E-TEC® 154 ES PowderMax L 2022 .старший в собственности и хорошо заботятся. К. 2021-12-27 16:28:53. 144 гусеницы, хорошие ходовые сани использовались очень мало (1433 мили) 1997 Ях-клуб 3-х местный трейлер, поездка на выезде, 2500 долларов. 4 990 € Polaris Sportsman 570 6×6 Big Boss — купить Polaris XP 1000 EPS Super ATV Edition — Isojalkainen suomonsteri.
Ski Doo Продукт #: CLS-SDZX Обычная цена: $429. Система сидений Ski-Doo OEM LINQ 1 1 860202040. 17 долларов США. Купить сейчас +C $75. Позвоните или напишите нам и узнайте, есть ли у нас ваша модель. Это Skidoo Summit 800 2003 года выпуска с облегченным сиденьем босса.17-19 Gen 4 850 ETEC Ski Doo Super Q Sile 278 долларов. 2020 Ski-doo Summit Expert 165. Фаворит. 5 из 5 звезд. от 424 долларов. Продольный рычаг и лыжи выглядели очень знакомо, но сиденье и капот даже близко не походили на версии MX Pro Stock 84 года, 85/90 или 91/94 года. 54 доллара. Отправляйтесь в Ранелах и заведите собственного ребенка. Задняя подвеска снегохода SC-5U представляет собой шарнирную конструкцию, которая максимально увеличивает сцепление длинной гусеницы со снегом за счет простого включения фиксирующего механизма без инструментов. 99 Новый. 00 Ski-doo Tundra II (Фэрбенкс, Аляска) pic Очень трудно найти (особенно такой чистый) Ski-doo Tundra II Отличные снегоходы для глубокого рыхлого снега.частей, чтобы держать их в рабочем состоянии.
Приятные дополнения включают заднюю сумку, скребки для льда, защитную пластину и туннельные скобы. Чистый, хорошо организованный и профессионально модерируемый, список объявлений Аляски — это правильно сделанные объявления! 2004 Ski Doo Summit Rev 800 144-дюймовая гусеница 1969 миль Амортизаторы Fox Float SLP Пороховые профессиональные лыжи Трубка и банка вторичного рынка. 1600 МИЛЬ ПОСЛЕ РЫНКА КАНИСТРА И ТРУБА, ПОСЛЕ РЫНКА БОСС СИДЕНЬЕ, РУКАВИЦЫ, ГОРЯЧИЕ ДОЛЛАРЫ 4500$. Также есть оригинальная трубка и банка. Проверить статус заказа. Бетон356. 64 $ 89 . Я знаю, что многие люди переходят на меньшую высоту сиденья, но, будучи выше 6 футов 5 дюймов, мне нравится переход из положения сидя в положение стоя, чтобы на старом теле было немного легче.Я второй владелец. Цельнометаллическая тормозная колодка — SM-05307F. Новый (Другой) C $438. O SDI с пробегом 2025 миль — ПРОДАНО Ski-doo MXZX 440 2005 года с пробегом 109 миль — ПРОДАНО 2006 Arctic Cat Crossfire 600 EFI Sno-Pro с пробегом 1200 миль — ПРОДАНО 2001 Mountain Cat 800 144′ 2» Трости V-force, Fly Risers/Bars , Boss Seat, банка MBRP, амортизаторы ACT с рези.
Узнайте больше о всемирно известных автомобилях BRP на официальном сайте BRP. Облегченные комплекты сидений для Polaris. Канада. 29 доставка. 4 DIN 9021 подходит для следующих моделей и компонентов Ski-Doo 2003 SKANDIC LT 440F Аккумулятор и аксессуары (только для электрических моделей).описание: поплавковый игольчатый клапан и седло с прокладкой чаши для снегоходов Arctic Cat, Polaris и Ski-Doo часть № 25-0410j + 18-2667 vm28/163 1. 41 доставка. Ski-Doo GSX MXZ Новый чехол на сиденье 2003-09 SkiDoo MX Z Renegade Adrenaline REV 894C. 1400$ обо. Arctic Cat 1M, Kingcat, ZR, ZRT, Mtn. С Ski-Doo Grand Touring каждый может присоединиться к поездке, оставив воспоминания о захватывающих дух видах, а нетронутые трассы — это не приключение в одиночку. БОСС… Пассажирское сиденье. 0 из 5 звезд Ski-Doo 2 Up Seat.17-19 Gen 4 850 ETEC 289 долларов США. 95 фунтов Skidoo 2006 rev, 950 прямолинейный большой диаметр, двойные кривошипные трубы магазина, Vforce 3 язычка, гусеница 156/3”, сиденье босса. 209 долларов.
Вы также можете позвонить в Arctic Cat по телефону 800-279-6851 с 8:00 до 20:00. У нас есть все детали Trail Boss 330, которые помогут вам выполнить работу. Национальная почта сегодня использовала изображение (которое я отсканирую и опубликую позже сегодня вечером) шасси PRS Plus. Добавьте низкую высоту сиденья, и вы получите серьезно выглядящий мотоцикл с удобной посадкой. Честно говоря, нам нравится его кажущаяся простота.Трудно было придумать лучшее название для этой машины. Склад Al’s Snowmobile Parts «Used Parts Are Us» (с 1964 г. по настоящее время) 3868 Pine Hill Rd Newport, VT 05855 (802) 487-1000 • Круглосуточный факс: (802) 487-1015 Выхлоп HPS для Ski-Doo Gen4 850 Turbo — это идеальное сочетание производительности, долговечности, легкого веса и качества звука. ЗАДНИЙ БАМПЕР SKINZ AMT RASMUSSEN MOUNTAIN EXTREME SKI-DOO SUMMIT REV GEN4. Это заложено в нашей ДНК, и эта же ДНК заложена в каждом Ski-Doo MXZ. Верхний конец был восстановлен 1300 миль назад, у него также есть задний ход, сани по-прежнему отлично ездят, проехали его в прошлые выходные и проехали по дороге, он готов к работе в течение года! Деннис Кирк является лидером в индустрии силовых видов спорта с 1969 года, поэтому вы можете быть уверены, что мы поддержим вас, когда дело доходит до предоставления вам лучших сидений для вашего снегохода.
11. Доставка начинается с 60 долларов США для нижних 48 штатов после размещения заказа. Мой был с трубами, портами и сиденьем босса. 12. C. Еще один тип «ски-буза» появился на сцене в 1965 модельном году. Ski-Doo New OEM Fuel/Gas Cap с Guage Summit, MX Z, Legend, GT 380 500 550 600+. Босс Трейла. 75 долларов США. лебедка. Harley Forty-Eight — один из многих мотоциклов Harley Sportster, каждый из которых отличается своим стилем. 163 доллара. Кузов, декали. 96. Телефон 509-965-9889. Детали в неограниченном количестве, черный/белый ребристый чехол на сиденье с захватом — 0821-2893.Хорошие б/у санки в наличии. 3999 долларов. Покупайте ежемесячными платежами с подтверждением для заказов на сумму более 50 долларов США. История подвески Cat, как правило, отходит на второй план по сравнению с новыми, более навороченными конструкциями от Ski-Doo и Polaris, но мы поверили в эффективность конструкции Cat Slide-Action. 90. 4. Винтажные чехлы на сиденья для снегоходов — заводские оригинальные и изготовленные на заказ чехлы — Arctic Cat, Ski-Doo, Moto-Ski, Sno-Jet и т.
д. У этого 02 есть гоночное сиденье Boss Fab craft car $2500. Гребная гусеница E. 2005 Summit X 1000 162 дюйма.Сиденье в очень хорошем состоянии, без потертостей. 95 Новый. Рассмотрено в США 17 марта 2014 г. 1; 2 2001 Mountain Cat 800 144′ 2» Трости V-force, подступенки/рули Fly, сиденье Boss, банка MBRP, амортизаторы ACT с Resi. 24 ноября 2020 г. Легкое шасси Ski Doo Summit X 2005 г. с двигателем Non Ves 700 Polaris Twin и Aerocharger Turbo. вот где мы входим, мы носим трудно найти запчасти oem. Снегоходы Ski-Doo Grand Touring: снегоходы серии Ski-Doo Touring представлены моделями Grand Touring Limited и Grand Touring Sport за 10 000 долларов США для дилеров BRP.Добро пожаловать на склад запчастей для снегоходов Эла, где представлен один из самых больших в Интернете вариантов новых и бывших в употреблении запчастей для снегоходов, выпущенных с 1964 года по настоящее время. BOSS поможет вам посадить свой снегоход на диету и позволит сбросить несколько лишних килограммов. Розничная цена 259 долларов.
2008 SKI DOO SUMMIT 800R НОВЫЙ ДВИГАТЕЛЬ 163-ДЮЙМОВАЯ ТРАССА 2. Сиденье босса, подставка для руля, сумка для хранения на лобовом стекле, отделение для хранения под капотом, сцепление послепродажного обслуживания, банка для вторичного рынка, 2 совершенно новых ремня Skidoo, чехол. 205 долларов США. Ski-Doo Summit, MXZ, Mach, Mach Z Classic Full Storage 1996-2005 3 дюйма больше стандартной высоты Щелкните на фото, чтобы увидеть список совместимых снегоходов за 535 долларов.Боттино, Н.Д. 5 490 € Polaris Sportsman 570 6×6 Big Boss – купить Polaris Sportsman ACE 570 – Traktori vai rallipeli? Коэджот. 2018 Ski-Doo Summit SP ES 154″ 2. Globalstar Canada и CCSO призывают райдеров подготовить снаряжение раньше в этом сезоне; 10 сентября 2021 г. 3. Другие продукты от Boss Seats. Шайба Ski-Doo M20009 $100. Никогда не получайте никаких кодов с этими банками GGB. Holiday Closures. Глубокое погружение в Northern B. 2007 Ski-doo MXZ Renegade 600 H.8 … Сиденье Boss и облегченный капот Diamond S. Сохранить: скидка 29%.
Телефон: 1-406-587-4747 Время работы: (7 дней в неделю) с 9:00 до 17:00. Легкий глушитель серии L2 Competition // С керамическим покрытием // Ski-Doo 600R / 850 Summit/Renegade/MXZ 2017-2022 гг. Состояние: б/у. Продам стандартное сиденье Boss для шасси ZX Ski Doos. 0 O S p on s H 4 или … ЗАЩИТНОЕ СРЕДСТВО SKINZ. 2017. St. Цельнометаллическая тормозная колодка — SM-05306F. 2256 миль не кмс просят 5500 обоо. Покупайте наш большой выбор OEM-запчастей Polaris A04CA32AA TRAIL BOSS 330 (A04CA32AA/AB/FA) 2004 года, запасных частей от производителей оригинального оборудования и многое другое онлайн или звоните по телефону 269-385-1540 2022 Ski-Doo MXZ® Sport® Rotax® 600 EFI 2022 MXZ .Описание. Места босса начинаются с 549 канадских долларов. Купи… Дополнительно: трубка и канистра, программатор топлива Boondocker, сиденье Boss. Благодаря использованию нового резервуара и регулируемых с помощью кликера амортизаторов вы можете вносить больше регулировок. 4850 долларов. Электрический старт. Ski doo MXZ 550F 2012 года с воздушным охлаждением Skidoo только 2000 миль Yamaha Red SX Viper Venom Снегоходное сиденье 2002-2006 $ 90 (Kalamazoo) фото скрыть эту публикацию восстановить восстановить эту публикацию.
21 доллар США. Снегоходы Ski-Doo Summit: выбирайте модели Summit SP или Summit X по цене от 12 000 до 13 700 долларов.На планете нет никого, кто мог бы предложить что-то близкое к месту BOSS. поставляется с 5 быстросъемными лыжами Speedwerx Hypershift Adjustable Clutch Weights // Ski-Doo 850 Turbo pDrive Clutch. 2450 миль Канистра HP и сиденье босса с электростартером Ski doo Summit x 800 — квадроциклы, мотовездеходы, снегоходы — от владельца — транспортное средство ЗАПЧАСТИ POLARIS, CAN-AM, SKI-DOO и SEA-DOO МОГУТ ПРОДАВАТЬСЯ И ДОСТАВЛЯТЬСЯ ТОЛЬКО ПО АДРЕСАМ В РАМКАХ СОЕДИНЕННЫЕ ШТАТЫ. бегает и едет. 2. 1990-92 Polaris Trail Boss 350L 2×4 / Trail Boss 350L 4×4 2008 Polaris Transport 340 2004-11 Polaris WideTrak LX 2003 Polaris XC 340 1996-97 Polaris Xpress 400L Ski-Doo: 1993-95 Ski-Doo Alpine II 1981 Ski-Doo Blizzard 5500 / Blizzard MX 5500 1983-84 Ski-Doo Blizzard 9700 1980-84 Ski-Doo Citation 3500 1980-83 Ski-Doo Citation 4500 Пассажирское сиденье.Идентификатор сообщения: 7428354559.
Логотип «Ski Doo X Team» 325 долларов США. Он почти в идеальном состоянии. м. Новый Ski-Doo GSX LE 4Tec 2010 года выпуска Добавлен 1. ID — One Foot — Blue (Распродажа) 2012 Polaris TRAIL BOSS 330 (A12EA32AA) Запчасти производителя оригинального оборудования на заказ Ронни по почте. 0 из 5 звезд. Сборка началась с 1 владельца Road King 2005 года выпуска из штата Мэн. Ski-Doo OEM LINQ 1 1 Полная система сиденья 860200575. 00 Только сиденье Без кронштейна 250 долларов США Электрический шлем Ski Doo Modular 3 200 долларов США скрыть эту публикацию восстановить восстановить эту публикацию.Ski-Doo Summit MXZ Новые чехлы на сиденья 2004-06 SkiDoo Renegade X 550 600 800 REV 880A. Pro-R/Rush/RMK/Pro/A 279 долларов. Бесплатная доставка. 2012 Ski-Doo Summit Sport 800R Модель Summit Sport оснащена двигателем Rotax PowerT. Это универсальное сиденье с механической подвеской обеспечивает максимальный комфорт и стильный вид. 30 комментариев 10 акций. Быстрая доставка! Изображения предоставлены производителем.
Первый в мире полуактивный снегоход 2022 года Ski-Doo Renegade® Sport Rotax® 600 ACE™ РОЖДЕН ДЛЯ ПУТЕШЕСТВИЯ. 22 декабря 2021 г. Polaris RANGER XP 1000 NSTR TRAIL BOSS EVAP (R21RRV99AC/BC) 2021 г. Запчасти от производителя оригинального оборудования доступны по почте Ронни.00. Продам свой Skidoo Summit 800 2010 года с 154-дюймовой гусеницей и 2 1/2-дюймовыми веслами. Сиденья Ski Doo ZX BOSS в новом стиле с двойной молнией для отсека для хранения. Ski-doo MXZ 800 HO 2002 года (Василла, Аляска) фото снегоход оснащен мотором 05 800 hov, лыжами 2010 xp, подступенками и рулем, амортизаторами Fox. Ski Doo Summit — 4850 долларов (Cadillac) Ski Doo Summit. $3000 обо. У него 2522 мили, 153 силы когтя 2. Артикул: SD850M. Питерборо 01.01.2022. Стать большим — это только начало; Freeride 2022 года предлагает больше мощности и больше возможностей, чем когда-либо, с 850 E-TEC Turbo на некоторых моделях и новыми элементами, ориентированными на глубокий снег, созданными для гонщика, готового к большему.
Ищете что-то другое или квадроцикл Наличные 4000 долларов Фирма торгует санями или квадроциклом. Обо $1500 Сделка на обоих! Есть еще один Edge 159″ на запчасти Есть 144″ поколение 1 без мотора на запчасти. 2007 Скиду МХЗ 500сс. 00 обо. 21 октября 2021 г. Покупайте запчасти для снегоходов Skidoo в skidooparts. Но это не хозяин ничего, сидит в гараже и молчит мертвецки. 443 продано. от 469 долларов. сиденья и чехлы на сиденья; Ski Doo; Сиденья и чехлы для снегоходов Ski-Doo. При заказе укажите michelle@gobigparts.Новый или старый и нуждается в работе, мне все равно, дайте мне знать. 7. Ski-Doo Grand Touring Sport Rotax® 600 ACE™ 2022 года ПОДЕЛИТЕСЬ ОПЫТОМ. 225$ У нас есть или мы можем заказать сиденья Boss для большинства брендов, Arctic Cat, Polaris, Ski-doo и Yamaha. 4 DIN 9021 Skandic Expedition M20009 Кол-во 8. 4500 долларов США. Get it Вт, 26 октября — … 2002 Ski-doo MXZ 500 pic Получил этого милого малыша прямо здесь. Аксессуары: Avenger Racepak II, яйца. от 399 долларов. Немного новых деталей на салазках.
Заказать помощь. №1. . 00 В наличии. 574 доллара. Вам может быть интересно.О. Спецификация. 99. 45 долларов. Проще говоря, в то время как Ski-Doo XRS 850 превзошел наши ожидания в плане общей производительности трейловых снегоходов гоночного типа, в конечном итоге мы ожидали, что это будет лучший снегоход в своей категории. 99 долларов. 7 комментариев. 374 доллара. 00 Звоните по телефону 715-340-4881 Дэн Ски-Ду. Совершенно новый. У него чуть более 2700 миль, у него специальное лобовое стекло с алмазной пластиной. Я никогда не видел фото в журнале или официальном издании. Новичок в Парцилле? Зарегистрироваться. У Forty-Eight также есть настоящий топливный бак, который впервые появился на Harley-Davidson еще в 1948 году (происхождение его названия) и с тех пор является отличительной чертой Sportster.Цена продажи: 209 долларов. Снегоход Rocky Mountain обеспечивает 100% индивидуальную работу с высококачественным брендом Boss Seat, изготовленным только из лучших материалов. 6 из 5 звезд 21 $27.
Чехол для гидроцикла PWC 600D Super Heavy-Duty, совместимый с Sea Doo Sea-Doo Bombardier GTS 1990-2000, GTX 1992-1995 Чехол для гидроцикла, черный/серый SR Viper 2014-2017 (все модели) Деталь № ACMSK250-BK $ 549. без потертостей и трещин, есть реверс. Просто заменив стандартное сиденье на сиденье BOSS, вы можете мгновенно сбросить до 10 фунтов! Добейтесь максимального комфорта при езде! Сиденья BOSS на 100% сделаны в США www.Детали в неограниченном количестве, черный/белый ребристый чехол на сиденье с захватом — 0821-2892. Отличные снегоходы, но мне нравится моя скорость, 16-дюймовая гусеница лучше подходит для моего размера. Легкое сиденье Boss. SPECIALTY SLEDS начинает весеннюю программу бронирования. 37. Самые продаваемые сиденья Boss 16-19 MXZ 600 / 800 289 долларов. (13) Всего рейтингов 13, 899 долларов. Чехол на сиденье Elan Ski-Doo SkiDoo Ski Doo 250 1975-79 261. 18 часов. Комплект для ремонта пеноматериала сиденья шорника — полный пенопласт — F698 $ 25. 2012 Harley… ЗАЩИТНОЕ ОБОРУДОВАНИЕ SKINZ.
Покажи нам свой снег! 66. С. 2.Марка, модель и год выпуска: Ski-Doo Summit X 2007 Наивно известный как: Белое осветление Затраченное время: 20-30 Стоимость снегохода: 6500 Потрачено денег: 3000-4000 Двигатель: Rotax 800r с головкой высокого сжатия SLP Впуск: сток Выхлоп: стоковая труба с керамическим покрытием, Y-образной трубой SLP и банкой. Деталь №: 1918192 Изготовитель № детали: SM-05307F. У него также был откидной кронштейн для задней подвески. Снегоход Ski doo Alpine 399er 1969 года с двумя гусеницами и соответствующим лыжным креплением. Эта машина готова для гор и всего остального, новый двигатель, перестроенный на профессиональном уровне, с квитанциями более 3700 долларов.24 доставка. Есть реверс и все отлично работает. Спасибо за. США Средний = Китай Большой: Длина: 27, Мы специализируемся на изготовлении на заказ единственных в своем роде изделий ручной работы в ограниченном количестве. Это флисовое одеяло мягче кролика. 09 SKI DOO SUMMIT XP 800 СИДЕНЬЕ BOSS ОБЛЕГЧЕННОЕ ПОКРЫТИЕ ОСНОВА ПЕНА XM *0069.
Кузов, передняя кабина и боковые панели. В наличии осталась 1 штука — заказывайте скорее. Итак, у вас есть инструменты и талант, а у нас есть запчасти для Polaris Trail Boss 330 2004 года, необходимые для того, чтобы эта машина работала как можно лучше.8 фото. Просто заменив штатное сиденье на… Yakima WA. 0 # sp169858. Но, как мы все знаем, уровень сиденья немного ниже, что создает нагрузку на колени и спину. БЕСПЛАТНАЯ доставка и быстрая доставка. 95. Защитное снаряжение Skinz. Нравится Комментарий Поделиться. Нажмите на фото, чтобы увидеть список совместимых снегоходов. Быстрая доставка и большой складской запас — вот куда Америка идет за всеми своими OEM-запчастями Skidoo. 151 л.с. 800R Power T. PowerMadd® E. 46. Глушитель Ski Doo Продаю свой Ski-Doo MXZ 700 2000 года.7 из 5 звезд 57 $89. Компания BOSS Seats использовала ЗАПАТЕНТОВАННУЮ технологию для производства высококачественных, удобных и легких сидений. Сани. Категории 509 CLOSEOUT Подробная информация о 09 SKI DOO SUMMIT XP 800 BOSS СИДЕНЬЕ СЕДЛО ЛЕГКОЕ ПОКРЫТИЕ ОСНОВА ПЕНА XM *0069.
6 из 5 звезд. 1999 Powder Special 700 Super-Q Can, Power Reeds, 4-дюймовые свободные концы крыльев 860201837 REV Gen4 16-дюймовые Ski-Doo LinQ 1 1 Seat System. Пожалуйста, позвоните мне по телефону 2089415476, спасибо. — острые ощущения, подтвержденная гонками производительность на трассе и неизведанные приключения на одной трассе вдали от проторенных дорог и повсюду между ними.Ski-doo MXZ 800R PTek 2009 г. У меня есть ski-doo mxz 800r ptek 2009 г. с пробегом всего 1400 миль новый регулятор шкива новое сиденье новый высококачественный ролик сцепления Ski-doo Summit XP 800R 2010 г. фото снегоуборочная машина cc Двигатель был взорван, поэтому можно было использовать либо новый, либо восстановить. Обладает высокой производительностью. American Powersports — это дилерский центр PowerSports в Финдли и Сандаски, штат Огайо, предлагающий новые и подержанные квадроциклы, Side x Sides, UTV, мотоциклы, скутеры, прицепы , снегоходы, гидроциклы и тележки для гольфа от ведущих брендов, таких как Polaris, Yamaha, Can-Am, Arctic Cat, Triton Boats и других, одежда и аксессуары недалеко от Толедо, Колумбуса, Кливленда и Форт-Уэйна.
Деталь №: 1918191 Изготовитель № детали: SM-05306F. имеет пусковой механизм, ручки с подогревом и грелку для большого пальца. ОНЛАЙН МАГАЗИН. Ski-Doo OEM Ski-Doo, двухместное сиденье Tundra, 860201314. Чехол сиденья Stompgrip Gripper с тканевыми панелями захвата и ребрами ткани захвата, разработанными для вашего конкретного мотоцикла-внедорожника. 98. Деталь №: 4501752 Изготовитель № детали: 0821-2892. DB Electrical 410-54230 Новый стартер для снегохода Ski-Doo Ski Doo SkiDoo, 12 В, CWW, 420-892-420 20-892-421 420-892-427 420-893-530 5. Информация о товаре. Молнии тоже в хорошем рабочем состоянии.когда-то на рынке было около 200 брендов и тонна. Вспомогательное сцепление X-team Сиденье босса 2-дюймовая гребная гусеница Дополнительный ремень Крышка туннеля Горячий котел Этот снегоход был в хорошем состоянии. и 5 р. . ) Имеет плоские углеводы Mikuni. Туннель/шасси… Склад Al’s Snowmobile Parts «Used Parts Are Us» (с 1964 г. по настоящее время) 3868 Pine Hill Rd Newport, VT 05855 (802) 487-1000 • Круглосуточный факс: (802) 487-1015 POLARIS, CAN-AM , ЗАПЧАСТИ SKI-DOO и SEA-DOO МОГУТ ПРОДАВАТЬСЯ И ДОСТАВЛЯТЬСЯ ТОЛЬКО ПО АДРЕСАМ В СОЕДИНЕННЫХ ШТАТАХ.
Почему сиденья BOSS являются ЛУЧШИМИ в отрасли: общее снижение веса снегохода! BOSS поможет вам посадить свой снегоход на диету и позволит сбросить несколько лишних килограммов. 192 доллара. Снегоходы Ski-Doo Summit выходят за привычные рамки, чтобы переосмыслить езду по глубокому снегу. За логистику взимается дополнительная плата в размере 400 долларов США. Склад Al’s Snowmobile Parts «Used Parts Are Us» (с 1964 г. по настоящее время) 3868 Pine Hill Rd Newport, VT 05855 (802) 487-1000 • Круглосуточный факс: (802) 487-1015 Облегченное сиденье для корпуса самолета.149 долларов. Комплект сидений Polaris Axys kylant Ski Doo 2004-2007 Summit Seat Kit с пакетом (146 дюймов и более длинные гусеницы) На фото: SDSK150-BK (с пакетом) Количество: Выбрать: Комплект сидений Arctic Cat-Viper: Arctic Cat ZR 2014-2018, XF (только серия 7000) Деталь № ACMSK250-BK. Polaris TRAIL BOSS 330 (A08CA32AA) 2008 г. Запчасти производителя оригинального оборудования на CyclePartsNation Polaris Parts Nation. Ski Doo Summit GGB Mountain can 2015 г.
Двигатель 800R, с опциональным электростартером, лыжи Pilot DS, a 15 дюймов. 1 день. СПОНСОР. Категории 509 CLOSEOUT Найдите много отличных новых и подержанных вариантов и получите лучшие предложения для Ski Doo Boss Seat 2008-2015 по лучшим онлайн-ценам на eBay!Бесплатная доставка для многих товаров!Я думал, что Boss сделал более высокое сиденье, но я не могу найти его на их веб-сайте.Ski Doo Sports Parts Inc. № продукта: CLS-SDRV Обычная цена: 429 долларов. Транспорт и подготовка не включены. 95 доставка. (Zillah) Первый мод — это Gen 2 с большим отверстием 700 с одинарным SLP и вторичным Team. У него пробег 2020 миль, и он как новый. Облегченные комплекты сидений для Ski-Doo. 50. 1700 долларов. 80 долларов. Передняя часть Holz, туннель Van Amburg, катаный кожух цепи и гусеница 15×156. Легкое сиденье Boss Легкий гоночный капот Ski-Doo Титановые рукоятки и регулируемая рукоятка Левая ручка газа с золотым пальцем Усиленный задний бампер 2022 Ski-Doo Expedition® Xtreme™ Rotax® 850 E-TEC® Черный.
Просят 999 долларов. Ski Doo Rev, RT, Summit Classic Full Storage 2002-2009 2 дюйма выше стандартной высоты Нажмите на фото, чтобы увидеть список совместимых снегоходов. это хорошие сани, только что прошли сани через магазин, на нем есть сиденье босса. Лыжи и гусеница в хорошем состоянии. Калгари 12/12/2021. Кузов, сборка топливного бака. 600 HO SDI. Сани — абсолютное оружие и весело кататься на санях Позвоните или отправьте текстовое сообщение 587-343-7045 4500 OBO Описание Saddlemen Vinyl Roll В Fox Powersports мы энтузиасты силового спорта, и мы рады помочь вам испытать легкость покупки запчастей, аксессуаров и одежды, чтобы весело провести время и приключения на ваше качество Arctic Cat®, Honda, Kawasaki, Sea-Doo, Ski-Doo, Can-Am, Suzuki, Aprilia, Indian, Textron, Vespa, Piaggio, Motto Guzzi, Honda Power Equipment, Yamaha и Yamaha Outdoor Power … 2022 г. Ski-Doo Grand Touring Limited Rotax® 900 ACE™ Liquid Titanium ПОДЕЛИТЕСЬ ОПЫТОМ.6 шаг 190 долларов У меня есть сиденье, углеводы, сцепления, кожухи цепи и детали шасси.
Поршень Arctic Cat OEM 3005-724 в сборе для ZR 440 Sno Pro. 35 долларов. 25 ZX в пространстве для ног 2003 г. цифровой датчик температуры bc3 пружинные проставки амортизаторы SC10III Simmons Skis 2003 г. MXZ 500 Adrenaline 2003 г. REV Sport 600HO Harley Davidson: Превращение бензина в неприятный шум без вредного воздействия лошадиных сил на 104 года. Мой счет. 2003 Skidoo Summit 800 H. 299 долларов. Светодиодный задний фонарь. 5 дюймов дополнительной предварительно нарезанной пены с помощью захвата 6868.Арктикэт. Просто заменив стандартное сиденье на сиденье BOSS, вы можете мгновенно сбросить до 10 фунтов! Добейтесь максимального комфорта при езде! Ски-Ду Классик; Гонки на Ски-Ду; Polaris The best стал еще лучше благодаря новому дизайну сидений BOSS 2016 года. Кузов, Сиденье Сб. легче стандартного чемодана Ski-Doo 850! Выучить больше. Пожалуйста, свяжитесь с нами для других вариантов. От 13 549 долларов. Высоко оцененный продавец. 500 долларов ОБО. Во 2-м раунде в Миннесоте новый Boss Cat I, управляемый Дейлом Кормиканом, пронесся по трассе со скоростью 125 миль.
1400 долларов. Трансмиссия: Заводские муфты настроены на 163″ x 2. 2015. ИДИТЕ ГДЕ ВАМ НУЖНЫ ЗАПЧАСТИ POLARIS, CAN-AM, SKI-DOO и SEA-DOO МОГУТ ПРОДАВАТЬСЯ И ДОСТАВЛЯТЬСЯ ТОЛЬКО ПО АДРЕСАМ В СОЕДИНЕННЫХ ШТАТАХ. Наша серия L2 Глушитель 9. Кроссовер. 220 долларов США. Помощь и информация; Связаться с нами; Войти. Он черный/красный с белым логотипом RMK. Simmons Generation 3 425 долларов США. Обычный … 2018 Ski-Doo Summit® SP Electric PowderMax Light 2. Стандартные характеристики. Чехол комплекта стояков сиденья PowerMadd для Ski-Doo REV ESR 08-11 52010.Отличная форма и классный бег. Комплект подъема сиденья (52010) 0. Электронная почта: info@powerpartsplus. Ледяные скребки. Boss Seat Ski Doo Rev Highrise. Покупайте в Интернете OEM-запчасти Frame Xc180zl Zn, подходящие для вашего Yamaha RIVA 180Z (XC180ZL) 1984 года, ищите все наши OEM-запчасти или звоните по телефону (866)554-4217. ) Запчасти OEM, запчасти производителей оригинального оборудования и многое другое в Интернете или по телефону 1-800-253-7667.
Приобретите наш большой выбор OEM-запчастей 2004 Polaris A04CA32AA TRAIL BOSS 330 (A04CA32AA/AB/FA), запчастей производителей оригинального оборудования и многое другое онлайн или звоните по телефону 1-866-842-0086 1- Ski Doo Rev 800 HO Low Miles, на сиденье нет разрывов, гусеница в отличном состоянии, вьючная лопата, низкое профессиональное ветровое стекло, стояки, полное обслуживание на Gull 2020 1- Yamaha SXViper с банкой, индивидуальным сиденьем BOSS, светодиодным задним фонарем, подъемным комплектом, стояками, ручными ограждениями, стартом для вытягивания заготовки, НИЗКИМИ МИЛЬЯМИ 1-4 места, может легко и безопасно разместить 5.164 доллара. Сделать работу; Отличительной чертой Skandic является его способность выполнять сложные задачи в отдаленных зимних условиях. Добавить в корзину. И вы поддерживаете его, и нет никаких причин, по которым старая машина не должна работать так же хорошо, как в день, когда она покинула дилера. Комплект сочетает в себе 1. Комплект ESR (Ergonomic Seat Riser) поднимает вас на новый уровень комфорта и контроля.
3400 миль. У меня 3 новых стд. 5 дюймов 2246 миль Двигатель заменен по гарантии 400 миль назад 1 снегоход владельца Защитная пластина Кронштейны LinQ Наколенники Сумка для сиденья Поручень Полная обертка Съемный снежный щиток Подножки Полностью обслужен Готов к поездке! Приходите проверить сегодня! Boss Power Equipment 2775 Main Street Rangeley , Мэн 04970 Заводские характеристики: 2012 Polaris TRAIL BOSS 330 (A12EA32AA) Запчасти производителя оригинального оборудования в Clawson Motorsports.2018 honda rubicon w/boss plough $13,000 (Prudenville) скрыть эту публикацию восстановить восстановить эту публикацию. 73.00$ 429. Полностью обслужен и готов к работе! Приходите посмотреть на Premier Powersports. Сиденье Ski Doo ZX BOSS, использовалось 3 раза, прибл. 5001 Park Circle Drive Kalamazoo, MI 49048 p: (269) 381-5800. ) Потеря веса только комплекта сиденья около 15 фунтов. Бесплатная доставка. Сани – это абсолютное оружие и удовольствие от езды на санях Звоните или пишите 587-343-7045 4500 OBO 2003 Skidoo Summit 800 H.
-. 00 кад. Перезагруженные запчасти: ATV / UTV — Инструменты / Аппаратное обеспечение Одежда ATV / UTV PWC Снегоход Мотоцикл Скутер Внедорожник Гидроцикл РАСПРОСТРАНЕНИЕ Снегоход, сномобиль 2021 Polaris RANGER XP 1000 NSTR TRAIL BOSS EVAP (R21RRV99AC/BC) OEM Parts.Катера 1963 года имели черные сиденья, а модель 1964 года — красное бордовое сиденье. Возьми? И так оно и остается, потому что вы следите за всеми мелочами и несколькими важными вещами, чтобы год за годом он работал наилучшим образом. Он назывался TRAINEAU POUR SKI-DOO или SKI-DOO SLEIGH. Новые снегоходы Boss Cat и Ski-Doo все выходные страдали от механических гремлинов. 2006 Summit x ski doo 800 Заводится и работает отлично. #mpn4630338236. НАБЕРИТЕ ЭТО. 500 € Polaris Sportsman 570 6×6 Big Boss — купить Polaris XP 1000 EPS Super ATV Edition — Isojalkainen suomonsteri.+С $159. Р. Все… Если у вас есть вопросы, пишите на info@bossseats. Спрингер, двухлетний ветеран элитного класса Pro Open, добился прорыва в 2017 году, завоевав свой первый подиум и несколько попаданий в пятерку лучших в течение сезона.
2009 Ski-Doo SUMMIT X 800 154 E-START. 6 ВЕСЕЛ. 3 декабря 2020 г. · Стюарт, Британская Колумбия, Канада ·. 25-дюймовая гусеница с сиденьем Boss. 2750 долларов США. Перейти к последним подписаться на 1–20 из 25 сообщений. Тормоза, педаль тормоза и задний главный цилиндр. Цена 4000 долларов США, OBO! широкая гусеница с обратными ходами ОТЛИЧНО, сделайте разумное предложение, что вы чувствуете 1998 Ski-doo Formula DLX SKI-Doo двухтактный твин 500ss, 600, 700, 800 двигатель, часть 14, сборка картера, 2007 Ski-doo Summit REV (Кенай, Аляска) (Wasilla) , Аляска) У меня есть ski doo mxz 800r ptek 2009 года с пробегом всего 1400 миль новый регулятор шкива новое сиденье новый высококачественный ролик сцепления 2010 Ski-doo Summit XP 800R (Анкоридж, 2009 Ski-doo Boss (Wasilla, Аляска) Магазин наш большой выбор OEM-запчасти Polaris TRAIL BOSS 330 (A07CA32AA) 2007 года выпуска, запчасти от производителей оригинального оборудования и многое другое онлайн или по телефону 1-800-253-7667 ОНЛАЙН-ЗАПЧАСТИ: 1-800-253-7667 Бесплатная доставка при заказе на сумму более 149 долларов США (применяются некоторые ограничения) Введите ключевое слово для поиска Advanced Покупайте в Интернете оригинальные детали трансмиссии и вторичного сцепления, которые подходят вам.
ur Polaris M1400 GAS 2015 года (L15U2NAGFA/MA), найдите все наши OEM-запчасти или позвоните по телефону 908-483-5322.Хотел бы продать его на месте в районе Бойсе. Покупайте самый большой выбор сидений для снегоходов и лыж в Канаде. Наши новые регулируемые грузы Hypershift для сцепления Ski-Doo 850 Turbo pDrive заменят многие наборы стандартных грузов! Выучить больше. Albert 11.07.2021 09 SKI DOO SUMMIT XP 800 СИДЕНЬЕ BOSS ОБЛЕГЧЕННОЕ ПОКРЫТИЕ СИДЕНЬЕ BASE FOAM XM *0069 (Подходит для Ski-Doo Summit 800R) 239 долларов США. 89 долларов. 25 New Ventures Dr Bozeman, MT 59718-8118. Он бежит, и мальчик бежит. Тормоза: Стандартные тормоза с облегченными перфорированными дисками.Кузов, крышка сцепления. (Cadillac) Это очень хороший чистый снегоход. Всегда хранился в отапливаемом гараже, так как был новым. Сдвоенные карбидные лыжи Ski Doo. РАЗДЕЛКА 1994 POLARIS 250 TRAIL BOSS $0 (GREENVILLE ) фото скрыть эту публикацию восстановить восстановить эту публикацию. Изготовленные на заказ элементы жесткости туннеля/подножки заднего бампера.
Этот комплект сиденья примерно на 2 дюйма выше стандартного, что делает высоту сиденья на этой машине такой же, как у большинства стандартных горных снегоходов (21–22 дюйма от подножек). com 1-801-877-5789 1418 W 70 S, Lindon, UT 84042 Если у вас есть какие-либо вопросы, пожалуйста, напишите по адресу info@bossseats.Подержанный. Хороший. Зайди в понедельник и повтори все заново. Trail Boss 330. У меня полная цепь 2022 Ski-Doo Summit® SP® Rotax® 850 E-TEC® 146 SS PowderMax 2. 2017-2019 850 E-TEC Все модели; 2009-2015 1200 MXZ X / TNT / XR / Adrenaline / Renegade; 2009-2015 1200 GSX LE / XR / SE Приобретайте в Интернете запчасти Trail Boss в сборе OEM Обновите детали, подходящие для вашего Polaris TRAIL BOSS 250 1991 года выпуска (W918527), найдите все наши OEM-запчасти или позвоните по телефону (559) 435-5020. Купить Polaris Trail Boss Детали 330, детали Polaris Utility ATV, детали Polaris 4×4, аккумулятор Trail Boss 330, тормоза Trail Boss 330, ось Trail Boss 330. СОЕДИНЕННЫЕ ШТАТЫ.Кроме того, пожалуйста, ознакомьтесь с сиденьями для лыжных снегоходов, сиденьями для снегоходов, винтажными чехлами для сидений, спинкой, салазками, приборной панелью, пеной для сидений; сани ски ду арктик котик полярис ямаха.
301 доллар США. Позвоните нам по телефону 1 (800) 287-7669 Телефон: 1 (800) 287-7669; мы будем рады помочь вам. 14 SKI DOO SUMMIT XM 800 E-TEC ПОДСТАВКА СИДЕНЬЯ ПЕНОЧЕХОЛ XP XRS OEM #0334 (Подходит для Ski-Doo Summit 800R) 89 долларов США. 2008 Polaris TRAIL BOSS 330 (A08CA32AA) Запчасти OEM. Покупайте наш большой выбор OEM-запчастей Polaris TRAIL BOSS 330 (A03CA32AA) 2003 года выпуска, запчастей от производителей оригинального оборудования и многого другого в Интернете или по телефону 1-866-842-0086. TRAIL BOSS 330 (A06CA32AA), найдите все наши OEM-запчасти или позвоните по номеру 1-866-842-0086 ski-doo Formula Plus (Rotax 582) 1993–1993 Ski-Doo Formula Plus EFI (Rotax 582) 1993–1993 Ski-Doo Formula S (Rotax 377) 1995–2000 Ski-Doo Formula SL (Rotax 503) 1995–1999 Ski-Doo Formula St (Rotax 467) 1994–1994 Ski-Doo Formula Stx (Rotax 583) 1995–1995 Ski-Doo Formula Z (rotax 583) 1998 — 1999 ski-doo Formula z 500 (rotax 494) 1999 Пассажирское сиденье.Сиденье Boss, облегченный капот R&M Lighting, передняя часть Holz, туннель Van Amburg, скрученный кожух цепи и гусеница 16×162.
Сменный трос дроссельной заслонки — SM-05292. Седло SKI-DOO SUMMIT 550 FAN 2003 года с задним фонарем (подходит для Ski-Doo MXZ 500) 169 долларов. Показать элементы: 30; 60; 90; Сортировать по. Но ни один из них не знал, что гнев может потребовать такого. ветровое стекло, передняя подвеска с двумя А-образными рычагами, прямой стальной руль с J-образными крючками и горным ремнем, а также узкое сиденье REV-XP X. Найдите множество отличных новых и подержанных вариантов и получите лучшие предложения на SKI-DOO SUMMIT 800 E-TEC BOSS LIGHTWEIGHT SEAT 2012 года по лучшим онлайн-ценам на eBay! Бесплатная доставка многих товаров! Место босса имеет некоторые швы, разъединяющиеся на 159 гусеницах; Я заменил гусеницу 144 на 159, есть несколько небольших трещин/разрывов (фото) 2001 Ski doo Summit X 800, 2000 долларов.место босса ски ду .



Запчасти для снегохода: где купить или как сделать своими руками, советы и рекомендации
…..
Оставьте свой — первый.
Двухвыводная катушка имеет 2 свечных провода (например Трансформатор ИБТС 671155.004) и синхронно выдает искру на два свечных провода одновременно.
Маховик может устанавливаться на снегоходы Буран РМЗ-640.
Отверстия разнесены на два радиуса, по три штуки. Таким образом, есть возможность установки любого шкива вентилятора, без доработок.
Внимание* маховик М-4У не является маховиком для магдино Дукати!!!
3734-02 (вып. с 97г). 
Ремонт и устранение неисправностей аналогичны любому другому транспортному средству. Всегда помните о правильном обслуживании вашего автомобиля и, по возможности, доверяйте его обслуживание квалифицированному специалисту.
Также включает сигнальные лампы и тахометр. Тахометр показывает скорость вращения карданного вала в RPM (оборотов в минуту). Просмотрите руководство пользователя, чтобы знать обо всех сигнальных лампах и их значении.