Как выбрать якорь для лодки ПВХ, какой вес якоря подобрать
25 Мар 2019 | 16:39
Большая часть владельцев надувных плавсредств не используют якоря, заменяя их гусеничными траками, кусками рельс, связкой камней и т.п. Использование подобных импровизированных якорей чаще всего оправдывают дешевизной и тем, что они неплохо справляются с основной функцией.
Однако такой подход не учитывает один важный нюанс: такие самоделки за счет тяжеловесности эффективны лишь там, где дно каменистое, достаточно ровное и плотное. И действительно, в таких условиях лапам обычного якоря практически не за что зацепиться. Однако в водоемах с другими характеристиками дна (песчаным или илистым) самодельный якорь как раз и не спасает.
Если вы не хотите погружаться в дебри, типов и принципов выбора якоря, мы вам можем посоветовать отличный вариант складного якоря, который является оптимальным вариантом в большинстве случаев, посмотреть и заказать можно у нас в магазине Лодки Деда Мазая.
Что лучше: самодельный якорь или профессиональный.Минусы самодельного якоря:
- Вес якорного груза достаточно большой – порядка 10-15 кг. Это усложняет его чистку от грязи и ила;
- Самодельное устройство может повредить лодку, поэтому спец якоря производят в соответствии с нормами безопасности;
- Самодельный якорь, каким бы тяжелым ни был, не удержит лодку при течении или порывах ветра средней интенсивности;
- Из-за больших и нестандартных габаритов якоря из подручных средств неудобны в транспортировке и в лодке много места занимают.
- Обладают удобной конструкцией и компактными габаритами. Складывающаяся конструкция обеспечивает им необходимую компактность, уменьшая его габариты в разы. При спуске в воду лапы якоря раскладываются и прочно фиксируются в нужном положении, что обеспечивает им хорошую сцепляемость с грунтом.
- Имеют небольшой вес.
Стандартный вес профессионального якоря – 3 кг. При такой массе он способен удерживать груз весом до 300 кг, что в разы превышает аналогичные показатели самодельного якоря весом в 15-20 кг. - Отличаются хорошей «сцепляемостью» с грунтом и способен удерживать надувное плавсредство в жестких условиях (порывистый ветер, сильное течение).
- Обладают хорошими прочностными характеристиками. Производятся из нержавеющих металлов, обязательно должно быть защитное антикоррозийное покрытие. Якорь также должен легко сниматься с зацепа.
Какие бывают якоря для надувных лодок?
Для малогабаритных суден, к разряду которых относятся ПВХ лодки, предлагается несколько видов якорей. Однако чаще используются только два:
Складной якорь-«кошка».
Якорь кошкаПри складывании лапы прижимают к основанию – веретену, и вполне спокойно помещается в обычном рыбацком ведре. Это расценивается как главное преимущество, якорь кошка для лодки ПВХ считается одним из самых удобных при переноске.
В сравнении с моделью Холла-Денфорта имеет чуть менее низкий, но вполне приемлемый уровень сцепления с грунтом.
Конструктивно якоря-«кошки» между собой также могут отличаться. У одних фиксация лап производится с помощью скользящей муфт, установленной на веретене. Фиксация производится жестко, а трос с буйрепом крепится через проушину, расположенную на тренде. Поэтому они более удобны и надежны.
Второй тип «кошек» отличается бугельной конструкцией. К тому же они не так устойчивы к износу как первые. Это обусловлено тем, что удерживающие лапы соединения работают на шарнирах, которые через определенное время ослабевают и самопроизвольно складываются, например, из-за сильного удара о дно.
Якорь кошкаМодель якоря Денфорта.
Не складывается, то есть отличается монолитной конструкцией соответственно – большие, чем у «кошки» размеры. Именно это многие владельцы надувных лодок рассматривают как его основной недостаток. К плюсам можно отнести заостренные широкообразные лапы, которые способны погружаться в грунт на достаточно большую глубину.
Это делает их незаменимыми при плавании в водоемах с песчаным или илистым дном. Модель Денфорта весом в 2 кг способен удерживать лодку весом до 100 кг. Основным материалом якорей этого типа является высокопрочная оцинкованная или нержавеющая сталь с лакокрасочным антикоррозийным покрытием. Якорь из оцинковки способен прослужить 3-4 сезона, второй – немного меньше.
Плавучий якорь имеет форму усеченного конуса, для его изготовления используются непромокаемые ткани, к примеру, брезент или парусина. Основу якоря составляет металлический обруч, основной функцией которого является укрепление всей конструкции.
По своему внешнему виду он напоминает сачок, к которому вместо ручки прикреплены специальные стропы, а они, в свою очередь, крепятся к основному канату. При помощи каната якорь прикрепляется к лодке. Обычно плавучий якорь имеет 4 стропы, кроме того, к основанию также крепится трос, позволяющий в случае необходимости вытащить якорь из воды.
Узнать о расположении конструкции относительно судна позволяет буек. Якорь опускается в воду с носа яхты или лодки, при этом конструкцию следует расположить основанием в сторону носа судна, удерживать ее будет якорный канат, буек при этом должен находится на поверхности воды. В купол попадает вода, за счет чего он расправляется, при этом судно поворачивается носом по отношению к направлению ветра.
Сопротивление конструкции течению позволяет судну оставаться на месте. Судно принимает устойчивое положение, уменьшается дрейф, волны не могут развернуть лодку в другую сторону. По принципу действия, собственно говоря, плавучий якорь очень похож на парашют.
Разновидности плавучих якорейЯкори различаются по форме, к основным видам якорей относятся:
- конусовидный якорь – его форма напоминает усеченный конус, в основании его лежит металлический обруч;
- пирамидальный якорь – выполнен в форме усеченной пирамиды, в основании крепится специальная металлическая крестовина;
- якорь парашют – выполнен в виде купола, по механизму действия напоминает парашют;
- штормовой якорь – конструкция представляет собой рейку, к ней крепится полотнице треугольной формы, в нижней части конструкции крепится металлический утяжелитель; к углам полотнища присоединены стропы, при помощи которых конструкция прикрепляется к основному канату;
- якорь дроги Жордана – в конструкцию этого вида якоря входит несколько плавучих якорей, они крепятся на одном канате, такое устройство является незаменимым во время шторма.

Такой якорь можно использовать в условиях сильного ветра и значительного течения. Он позволяет удерживать на воде суда и отличается большой силой. Грибовидные якоря лучше всего крепятся на дне с большой степенью вязкости, что позволяет надежно закрепиться и остановить судно в условиях шторма.
Грибовидный якорь для лодкиК очевидным плюсам такого якоря стоит отнести компактный размер, а также удачно выполненную конструкцию. Потерять в воде такой якорь очень сложно, ведь он не цепляется за коряги и любые другие водные препятствия. Грибовидный якорь занимает действительно совсем немного места, его удобно чистить, так как в конструкции нет острых углов (да, они абсолютно отсутствуют).
Как правильно пользоваться якорем
Якорь непосредственным образом закрепляется к судну при помощи специального троса или веревки. Показатели длины троса по отношению к глубине, должны быть больше в пять раз.
С целью обеспечения хорошего сцепления якоря со дном, лучше осуществлять процесс его закрепления его к тросу или веревке при помощи металлической цепи, показатели длины которой будут находиться в диапазоне от 1 до 1,5 метра.
Чтобы иметь возможность закрепиться и стать на якорь абсолютно при любых погодных условиях, лучше всего будет приобрести два якоря – один из них будет основным, а другой будет, соответственно, вспомогательным. Якорь, который будет основным, нужно подбирать, исходя их таких параметров, так длина, а также общая масса судна. Дополнительный якорь может иметь значительно меньшую массу, оптимальный вариант – половина массы от веса того самого основного якоря. При неблагоприятных условиях, основной якорь необходимо отдать с носа, а дополнительный – с кормы судна.
Если при сильном течении вам нужно замедлить судно, но при этом на борту якорь отсутствует, либо же он не способен хорошо прицепиться ко дну, можно попробовать сделать якорь из подручных средств. Для создания плавучего якоря можно использовать брезент, плащ-палатку или даже ветки прочных деревьев – все, что обладает хорошей плавучестью и имеет достаточно большую площадь. С помощью веревки или троса конструкцию можно закрепить на борту, что позволит существенно понизить показатели скоростьи судна.
Какой оптимальный вес якоря? Таблица подбора веса.
Вес якоря определяется просто – достаточно рассчитать отношение веса якоря к размерам плавсредства. Так, для судна длиной в один метр достаточно одного килограммового якоря, а на трехметровую лодку можно установить два полутора килограммовых якоря. Плюс этого варианта – возможность прочной фиксации плавсредства врастяжку – с кормы и с носа.
Добавить усиления можно коротким куском металлической цепи, выполняющую функцию фала. Частый случай, когда владельцы ПВХ лодок устанавливают якорь с небольшим весом, усиливая его парой отрезков цепи для наращивания длины. Например, кусок цепи длиной в 1 метр и диаметром в 10 мм способен увеличить вес якоря на 2,2 кг.
При этом цепь можно использовать одним из двух способов:
1. Цепь обматывают вокруг тренда и закрепляют. Таким образом не только увеличивается масса (практически в 2-3 раза), но и смещается ее центр (к тренду).
2. Цепь привязывают к веретену в качестве фала.
Таким образом, вес цепи придавливает веретено ко дну, обеспечивает наиболее лучший угол зацепа, повышает зацепляемость якоря и выполняют функцию амортизатора при рывках лодки из-за сильного течения или порывов ветра.
Зачастую для подбора веса якоря используют специальную таблицу.
Согласно действующим Правилам на зарегистрированном судне должен устанавливаться якорь весом от 5 кг. Нарушение Правил влечет за собой административное наказание в виде штрафа.
Как выбрать фал (якорный трос)?Фалы могут быть сделаны из полиамидной нити или синтетического волокна в виде толстого шнура (7-10 мм в диаметре) или плоской стропы.
Основные преимущества полиамидных фалов – это ценовая доступность и прочность. Однако эти плюсы перебивает неудобство эксплуатации – такой фал быстро спутывается, часто рвется и травмирует руки.
Потому в вопросе эксплуатации фалы из строп или шнура намного лучше. Синтетический материал обладает высокой водонепроницаемостью, следовательно, – не тонет.
Стропы не спутываются, однако «поют» при сильном течении, тогда как шнур последнего недостатка лишен.
Зацепание о дно – является главной проблемой при использовании якоря. Якорь может зацепиться за камни или коряги, и тогда освободить его будет очень сложно. Чтобы избавить себя от лишних проблем, стоит подобрать подходящий якорь, который имеет наиболее удачную конструкцию. Лучше выбирать якорь с дополнительным тросом, при помощи которого закрепляется буй. В случае зацепания нужно потянуть за буйреп, что позволит вытащить якорь из ловушки.
Другой вариант – попробовать надежно установить предварительно на рыму веретена скользящую чеку, приделать относительно небольшую разрывную нагрузку, которую, в случае необходимости, можно будет легко разрывать, а конец фала нужно будет прикрепить напрямую к тренду. Если якорь зацепится, вы сможете одним рывком (делается это очень просто) его освободить.
Какие якоря подходят для надувных лодок?При подборе надежного якоря для надувной лодки стоит обратить собственное внимание на такую модель, как якорь-кошка – его легко перевозить, при этом он не сможет повредить поверхность лодки.
Подобные якоря имеют массу от 1,5 до 12 кг, их можно использовать на любом грунте. В конструкции якоря есть металлические рога, которые могут разгибаться при увеличении нагрузки.
Для надувных же лодок также можно использовать без опасения: якорь-обруч, якорь-колокол, якорь-зонт – эти разновидности идеально выполняют свое предназначение.
Если вам понравилась публикация, поделитесь ею с друзьями
Якорь для лодки пвх своими руками
Каждый рыбак практикующий ловлю с лодки сталкивался с вопросом выбора якоря. Как известно идеальных якорей не существует, так как их работа зависит от многих посторонних факторов.
Давайте разберем, какие якоря применяются, а так же достоинства и недостатки каждой модели. И рассмотрим возможность изготовления некоторых моделей в домашних условиях.
Как сделать якорь для надувной лодки своими руками?
Перед производством якоря нужно понимать, зачем он используется и возможно ли эксплуатировать лодку без него.
В первую очередь якорь применяется для обеспечения безопасности судна и пассажиров.
Производит стабилизацию лодки даже на бурном течении и помогает удерживать необходимое положение.
Так же даёт возможность сделать стоянку в нужном месте без необходимости постоянной корректировки положения. Ну и, конечно же, не будет проблем со швартовкой, так как без надёжного крепления лодку может просто унести.
Перед изготовлением якоря нужно определиться с моделью и весом.
Качественный якорь должен отвечать двум обязательным требованиям:
- Масса (в кг) должна быть не менее 10 процентов от веса лодки.
- Масса (в кг) должна составлять не меньше одного процента, от длинны судна(в см).
Сделав эти не хитрые расчёты можно приступать к выбору конструкции и изготовлению.
Как самостоятельно сделать якорь?
При изготовлении якоря следует учесть некоторые дополнительные факторы, которые могут повлиять на качественную работу:
- Наличие и высота волны.
- Максимальная сила ветра в районе использования.

- Тип дна, так как каждая модель показывает лучшие характеристики на определённых тапах дна.
- Немаловажное значение имеет выбор якорного троса. На данный момент используются натуральные и синтетические материалы.
Основные параметры при выборе якорного троса:
- Усилие на разрыв (должно превышать в семьдесят раз вес якоря).
- Толщина.
При желании сэкономить и получить сто процентную уверенность в качестве якоря, то целесообразно сделать его самостоятельно. Для производства своими руками совсем не обязательно быть профессионалом.
Какими бывают самодельные якоря?
На данный момент применяются различные модели самодельных якорей для пвх лодок наиболее востребованными можно выделить такие разновидности:
- Курбатова якорь.
- Грибовидной конструкции.
- Классический «адмиралтейский»
- Разработка Дэнфорта.
- Так называемый «якорь-кошка».
Грибовидный — или как их ещё называют, зонтообразные якоря начали применять в середине 19 века с целью надёжного и длительного крепления различных плавательных средств.
Широкое применение нашёл в районах с большим уровнем приливно-отливных течений или сильных ветров. При большей массе демонстрирует отличные удерживающие показатели.
Коэффициент удержания варьируется от шести то десяти в зависимости от массы.
Принадлежит к типу безрогих якорей. Материалом для изготовления служит чугун или железобетон в случае для больших конструкций.
Нижняя часть изготовляется с выемкой для лучшего засасывания.
Предусматривается изготовление воздухоотводящих каналов для улучшения показателей. Минимальный вес данного вида якоря для надувной лодки должен быть не менее 4 килограммов.
Адмиралтейский – существование подобных якоре отмечается ещё до нашей эры. Своим названием данная конструкция обязана испытаниям Британского Адмиралтейства в 1980 году.
Классическая конструкция представляет собой стальной кованый якорь со скобой и деревянным штоком.
Основным плюсом является надёжное и крепкое удержание. Но, не смотря на этот факт, существует и масса минусов.
Этот якорь отличается высокой громоздкостью и представляет немалую угрозу для самого судна и проходящих мимо судов. В случае применения в районах с изменяющимся ветром или течение часто происходит разрыв цепи.
Якорь Дэнфорта – схожий по принципу работы с якорем Холла, при этом отличается от него конструктивным исполнением, гораздо более сближенные лапы и наличие штока у тренда, предотвращает падение якоря на бок при соприкосновении с грунтом, выступая как стабилизатор.
Наибольшую популярность у рыболовов приобрели:
- Якорь-кошка.
- Модель Курбатова.
Неоспоримыми преимуществами использования первой модели можно назвать универсальность использования на любом типе грунтового покрытия.
Единственный недостаток — сравнительно малый вес что в свою очередь затрудняет использование при сильных порывах ветра. Для увеличения надёжности применяются дополнительные утяжелители.
Определённые недостатки имеются и у якоря Курбатова.
В случае применения на каменистых типах грунта потребуется дополнительное укрепление конструкции.
Изготовление простого разборного якоря
Для простейшего складного якоря нужен минимальный набор электроинструмента и навыки обращения с ним.
Необходимые материалы
Трубка нержавеющая:
- Диаметр 2.5 сантиметра.
- Длина 27 сантиметров.
- Втулка 2.5 сантиметра с шагом резьбы М-12.
Нержавеющая сталь полосовая:
- Длина 26 сантиметров.
- Ширина 40 сантиметров.
- Толщина не менее 4 миллиметров.
Производится сварка втулки с основной трубкой. Полоски стали обрабатываются наждачной бумагой и привариваются. К одной из лап крепится посредством сварки две полосы для предотвращения поворота в собранном состоянии якоря.
Одеваем лапы на подготовленный шток и закрепляем гайкой М-12. Для возможности сборки в полевых условиях, наваривается вертикальное металлическое кольцо на гайку.
С обратной стороны якоря просверливается отверстие и крепится ещё одно кольцо диаметром не менее 4 сантиметров и толщиной 0.4 сантиметра.
Масса данного якоря составит 1.7 килограмма. Для увеличения устойчивости можно использовать утяжелитель не менее 2 килограммов свинца. Крепёж этой разборной модели осуществляется с помощью карабина.
Для изготовления данной модели сварного якоря можно использовать проволоку диметром не менее 8 миллиметров и отрезка металлического прута с диаметром 1.2 сантиметра.
Так же понадобится листовой металл толщиной не менее 3 мм. Данная модель по своему конструктивному исполнению похожа на якоря Данфорта и Матросова, но различается наличием только одного крыла и раздвоенного веретена.
Представленная модель обладает весом около 2.5 килограммов и может быть применена на гребных, моторных и надувных лодках.
Демонстрирует превосходные показатели на основных типах дна, где основную роль играет вес, а наличие утяжелителя весом 4-5 кг значительно улучшит характеристики.
Из проволоки изгибается веретено №1. В верхней части приваривается планка №6. Фиксаторные шайбы №5 и планка №8 посредством сварки соединяются со штоком №3.
Делается это для того чтобы при касания грунта произошёл выход лапы №2, которая обеспечивает фиксацию. При изготовлении штока важно соблюдать размеры, указанные в чертеже для качественной работы якоря.
Производится соединение полосой №4 концы веретена у штока. Которая служит для ограничения угла выноса лапы. Для удерживания зацепа в разложенном состоянии применяется планка №8. Ребро №7 сваривается с лапой.
Четырехпалые якоря, получившие широкое применение в речном судоходстве имеют существенный недостаток в хранении благодаря массивности конструкции.
Для использования с маленькой надувной лодкой рекомендуется изготовить складной вариант, по моделям, представленным на рисунке.
Самая примитивная по сложности кошка представлена на рисунке (а).
Квадратное сечение нижней части веретена№2, в отличие от классической круглой №1.
В верхней втулке подвижной части лап проделывается отверстие. Для размещения лап в одной плоскости приподымается подвижная часть до круглого веретена и после разворота на девяносто градусов устанавливается на место.
В следующем конструктивном исполнении (б) предусматривается фиксация в рабочем положении верхней подвижной пары с использованием выреза во втулке №5.
Пружина №3 благодаря упору в приваренную шайбу №7 удерживает лапы в сложенном и рабочем положении.
Следующая модель (в), нашедшая широкое применение за границей четырёхпалого якоря, отличается от остальных тем, что в шарнирной части №1 закрепляются все лапы.
Фиксация лопастей в рабочем и транспортном положении происходит благодаря скольжению муфты №6 по веретену.
Как выбрать лучший якорь для надувных ПВХ лодок?
Каждый опытный охотник или рыбак знает, что вторым после покупки лодки последует приобретение якоря.
При выборе якоря ориентируются вес судна в гружёном виде. Для определения зависимости веса якоря от веса лодки можно воспользоваться данными приведёнными ниже:
Вес лодки:
- До 150 килограмм вес якоря должен составлять 1.5 кг, а диаметр каната не меньше 2 мм.
- От 150 — 200 кг нагрузки вес будет не меньше 2.3 кг.
- Водоизмещение 250-500 кг. Не менее 3.5 килограммов.
- От 500 — 750 килограмм. Якорь должен быть 7.5 кг.
При рыбалке на водохранилищах зачастую засорёнными корягами и деревьями существует большая вероятность потерять якорь. В этом случае выкидывать его не закрепляя к тренду буйрепа с буйком, не стоит.
Наиболее хорошо подходят томбуи с буйрепом длинной не менее 15 метров. Заменить буёк можно куском пенопласта, или любым куском дерева. При зацеплении якоря можно вытянуть его без риска оторвать.
Как сделать якорь для лодки — Охота и рыбалка — 6 июня — 43270217484
Если бы в магазинах продавались якоря для лодок, удовлетворяющие полностью рыбаков, то ни у кого не возникал бы в голове вопрос-как сделать простой, надежный якорь для лодки.
Ниже в статье представлено краткое описание самодельного якоря-кошки для лодок, как резиновых, так и ПВХ. Отличительной особенностью и преимуществом данного якоря является невозможность засадить его в корягу или камни.
По фото полностью видна конструкция якоря и как его сделать тоже понятно. Для умельцев, при наличии определенной технической базы это не составит труда. . .
Позвольте друзья и мне показать свои якорёчки. Изготовлены весной, опробованы летом. Работают неплохо, но только в тихую погоду, а в ветреную приходится подгружать за передние петли дополнительным грузом кг.2.
И тогда всё отлично, главное их преимущество практически не возможно засадить в корягу или ещё какую неприятность,
в этом случаи просто срезается медный шплинт и якоря достаются.
Якорь кошка в сложенном состоянии(очень компактная и технологически выверенная конструкция)
На фото указан медный шплинт, который при застревании якоря просто срезается и якорь спокойно достается.

Фото со срезанным шплинтом, в таком виде якорь выходит из коряг, камней.
Ну, и сами якоря в развернутом виде, здесь понятна конструкия и как сделать подобный якорь для лодки ПВХ или резиновой.
По весу и материалам каждый может выбрать для себя более приемлемый вариант исполнения и сделать себе якоря, которые будут радовать и служить верой и правдой многие годы при рыбалке с лодки.
Понравилась статья? Подпишитесь на канал, чтобы быть в курсе самых интересных материалов
ПодписатьсяСамодельный якорь для лодки. Что нужно знать о якорях для лодок ПВХ? Чем покрасить якорь для лодки
Каждый рыболов мечтает обладать плавсредством. Самое доступное из них – лодка ПВХ. Многие изготавливают якорь для лодки ПВХ своими руками.
Якоря служат для удерживания судна на определенном месте в заданном положении. Основной (носовой) груз отвечает за сопротивление лодки ветру, волнам и течению, а кормовой (верп) – за осевое расположение лодки относительно сектора облова и за безопасное поднятие со дна. Якоря для надувных лодок являются еще и средством безопасности при ловле в условиях нахождения берега с подветренной стороны. Рыбалка – занятие азартное и увлекательное, очень легко упустить момент, когда ветер или течение отнесет плавсредство дальше, чем нужно. Выгребать после этого против подводного течения обратно к суше может оказаться трудной задачей.
Многие изготавливают якорь для лодки ПВХ своими руками
Российские рыбаки – люди экономные и умелые, поэтому чаще всего они предпочитают изготовить тормозное приспособление для лодки своими руками. Использование подручных средств (кирпичей, камней, кусков железа) несет неудобство в транспортировке, потерю времени на крепление и опасность повреждения самого средства.
Кроме того, их использование возможно лишь на водоемах с каменистым дном, в остальных случаях они малоэффективны. Именно поэтому настоящие рыбаки предпочитают изготавливать самодельные якоря для лодок ПВХ.
Среди множества конструкций наиболее распространены следующие виды самоделок:
- система Курбатова;
- “кошка”;
- система Дэнфорта.
Система Курбатова – устройство, отлично работающее на двухместных лодках при небольшом течении и силе ветра до 6 м/с. Конструкция представляет собой раздвоенный хомут из крепкой проволоки и одной лапы с наклоном в 45º. Удлиненный шток гарантирует проникновение лапы в грунтовое дно независимо от угла падения. Такое изделие обладает компактностью и небольшим весом. Для изготовления понадобятся следующие материалы:
- стальная проволока диаметром 7-8 мм;
- лист стали толщиной 3 мм;
- прут из стали диаметром 13-15 мм.
Имея чертежи и сварной аппарат, сделать подобную конструкцию своими руками несложно:
- проволоку изгибают в форме веретена, к верхней части которого приваривают планку;
- шайбы и планку для фиксации лапы в раскрытом положении приваривают к штоку;
- полосу металла приваривают к концам веретена, соединяя их между собой.

Система Курбатова отлично подходит для лодок ПВХ длиной до 5 м. Вес ее составляет 2-3 кг, поэтому при рыбалке на водоемах с заметным течением следует предусмотреть возможность крепления дополнительного груза массой 4-5 кг. Желательно изготовить брезентовые чехлы для утяжелителя и самого якоря, чтобы не повредить материал резиновой лодки.
Система Курбатова – устройство, отлично работающее на двухместных лодках при небольшом течении и силе ветра до 6 м/с
Пирамидальный якорь для относится к классу гравитационных. Его изготовление возможно в двух вариантах:
- Заливной. Понадобится около 5 кг свинца, добываемого обычно из выработавших свой ресурс автомобильных аккумуляторов, кусок стальной проволоки и листы железа. Из листов составляется форма, образующая вид пирамиды, которую заполняют расплавленным свинцом. Проволоку скручивают в кольцо и вставляют в неостывший до конца свинец.
- Составной. Понадобятся листы металла разного размера и шпилька с нарезанной резьбой.
Куски металла просверливаются по центру и набираются на шпильку, начиная с меньшего по размеру. Набрав необходимое количество грузов, всю конструкцию фиксируют с помощью гайки. Весомым плюсом является простота устройства и возможность регулировать его массу, при необходимости добавляя или убирая листы металла.
Какой вариант будет удобнее в использовании, выбирает сам рыболов.
Якорь для лодки ПВХ (видео)
Якорь-кошка
Рыбаки предпочитают легкие якорьки для надувных лодок, которые при наличии сильного ветра можно просто оборудовать дополнительным весом. Немалую роль играет компактность конструкции и отсутствие острых выступающих элементов или граней. Этим требованиям полностью отвечает конструкция “кошка”, имеющая несколько модификаций:
- разборная с лапами под углом 90º;
- складная с различными углами наклона лап.
Изготовление якоря в разборном варианте потребует следующих материалов:
- 2 полосы из стали толщиной 4 мм, длиной 260-270 мм и шириной 40 мм;
- стальная трубка диаметром 250 мм и длиной 270-300 мм;
- гайка и втулка, подходящие по диаметру для стальной трубки 25 мм;
- 2 кольца для крепления веревок.

По центру стальных полосок высверливаются отверстия. Втулка вставляется в трубку, полоски монтируются на ее выступающую часть и крепятся с помощью гайки. Металлические кольца располагаются в верхней и нижней частях конструкции. Сама трубка может быть залита свинцом для увеличения массы. Нижнее кольцо и второй канат отвечают за подъем якоря и освобождение лап из грунта. В упрощенном варианте металлические полоски заменяют на толстую проволоку или арматуру диаметром 4 мм без нижнего крепления. В этом случае при вытягивании кошки лапы, освобождаясь, разгибаются – это настоящий якорь-“незацепляйка”.
Складная кошка выглядит похоже, но благодаря скользящей муфте и раздельному шарнирному креплению лап на штоке она имеет возможность складываться. При крайнем нижнем положении муфты лапы раздвигаются и фиксируются, а при крайнем верхнем – смыкаются. Часто лапы крепятся к штоку с помощью медных шплинтов, что при критическом зацепе позволяет сохранить самодельный якорь – мягкие вставки срезаются, освобождая всю конструкцию.
Якорь Данфорта
Якорь Данфорта – изобретение американца Р. Данфорта, обладающее отличной удерживающей силой. Основное отличие от других изделий состоит в удлиненной нижней поперечине, не дающей изделию опрокинуться при соприкосновении с дном. Плоские лапы устройства имеют треугольную форму и расположены близко друг к другу, что обеспечивает дополнительную устойчивость в рабочем положении. Главное преимущество якоря Денфорта является одновременно и его недостатком – в некоторых случаях он так глубоко зарывается в дно, что его крайне трудно или невозможно вытащить.
Самоделка потребует следующих материалов:
- стальная трубка диаметром 30 мм и длиной 600 мм;
- листовая сталь толщиной 3-4 мм;
- 2 гайки М5;
- 3 гайки М8;
- болт 8 х 60;
- 2 шайбы Д8;
- 2 болта 5 х 35;
- рым-гайка и болт к ней;
- металлическое кольцо.
Из листовой стали по трафарету вырезаются две треугольные лапы со скошенными углами. Стальная трубка разрезается на две части – 400 мм и 200 мм.
В более коротком отрезке делают 2 пропила, подходящие по размерам для лап. В центре вырезается секция длиной 34 мм и глубиной немного больше половины диаметра трубки. Высверливается 5 отверстий – 1 под рым-гайку по центру заготовки, 4 для монтажа лап (с каждой стороны по 2). В прорези вставляются лапы и просверливаются соосно с отверстиями в трубке.
Якорь Данфорта – изобретение американца Р. Данфорта, обладающее отличной удерживающей силой
На втором отрезке с одной стороны сверлятся отверстия под кольцо, а с другой – делаются косые спилы с таким расчетом, чтобы обеспечить вращение относительно короткого (200 мм) куска трубки. В оставшихся ушках сверлятся отверстия под болт М8.
Схема сборки выглядит следующим образом:
- К короткому отрезку прикручивается рым-гайка, к ней будет крепиться канат для извлечения приспособления из грунта.
- Соединяются болт, шайба и гайка – это заготовка для оси вращения.
- Более длинный отрезок трубки вставляется в короткий, а через отверстия на нем продевается ось вращения и фиксируется гайкой.
Затем накладывается шайба и ось окончательно затягивается с помощью еще одной гайки. - С помощью болтов монтируются лапы, а для исключения люфта в торцы трубки забиваются деревянные заглушки.
- В верхний конец длинной трубки вставляется кольцо для основной якорной веревки.
Если устройство требует утяжеления, то в полую трубку заливают свинец. Из минусов можно выделить одно свойство якоря – он плохо подходит для дна, усыпанного галькой.
Якорь своими руками (видео)
Другие известные системы
Якорь Холла – устройство, используемое с начала прошлого века. Его особенность – длинные и плоские качающиеся лапы, закрепленные на коробке. Сама коробка свободно ходит на нижней поперечине штока, а к ней крепятся приливы, отвечающие за поворот лап. При падении на дно изделие ложится плашмя, после чего приливы поворачивают лапы для углубления в грунт. К серьезным недостаткам устройства относятся неглубокое проникновение лап в дно и слишком широкое их расположение, из-за чего якорь часто выворачивает.
Якорь Холла – устройство, используемое с начала прошлого века
Якорь Матросова отличается от устройства Холла дополнительными щечками на штоке. Обладает хорошей удерживающей силой, но на песке работает хуже, чем на гальке. Недостаток, как и у Холла, заключается в заклинивании подвижной коробки.
Модель системы “Плуг” представляет собой лемех, закрепленный шарнирно на поперечине штока. Легко проникает сквозь придонную растительность, но на илистом дне работает не так хорошо, как на песке или мелких камнях.
Якорь, выставленный в магазине, может иметь довольно высокую цену, при этом всегда существует опасность приобрести продукцию с заводским браком. В наше время рыболовы предпочитают изготовить такое приспособление для надувной лодки своими руками – это гарантирует получение именно того, что необходимо для успешной рыбалки.
При рыбалке с лодки необходимо заранее продумать вопрос установки лодки в неподвижном состоянии, а значит – выбора якоря.
Виды якорей для надувной лодки пвх
Сразу следует отметить, что в настоящее время, запатентовано порядка 2000 якорей для надувных лодок ПВХ. Наиболее распространенными из них являются:
На сегодняшний день, якорь плуг является одним из наиболее эффективных при использовании на илистом или плотном песчаном грунте.
Кроме вышеперечисленных видов, наиболее распространенными и применяемыми можно считать следующие виды якорей: кошка, гриб, речной и некоторые другие. Например, якорь-кошка является достаточно популярным, так как имеет предельно простую конструкцию и при этом, эффективно работает. Якорь-гриб является лучшим решением для тех, кто любит ловить рыбу на водоемах с песчаным дном. А вот речной якорь в принципе считается самым универсальным, так как может использоваться на любой глубине и в любых речках.
Выбор якоря и основные требования к якорям
При выборе якоря стоит ориентироваться на такие критерии как:
- Коэффициент держащей силы.
Рассчитывается либо по специальным формулам, либо из значений таблиц. Специалисты рекомендуют больше ориентироваться на вес якоря. В среднем, его масса должна составлять примерно 10% от грузоподъемности надувной . Вес якоря также можно определить по следующему соотношению. Он должна быть не менее 1% от длины лодки. Например, если длина 4,5 м. (450 см.), то умножаем это значение в (см.) на 0,01. В результате получаем, что для такой надувной лодки ПВХ, вес якоря должен быть не менее 4,5 кг. - Обязательно нужно учитывать тип грунта в месте , где планируется рыбачить, а также характер и особенности водоема (глубины, сила течения, как часто бывают сильные ветра и прочие факторы). К примеру, на водоемах с большой глубиной рекомендуется использовать стандартный якорь плуг, а вот на водоемах с сильным течением либо якорь-гриб, либо якорь Норхила.
Также важными требованиями, предъявляемые к якорям для надувных лодок ПВХ являются: безопасность, удобство использования, компактность, универсальность.
Как изготовить якорь своими руками
Одним из наиболее распространенных и универсальных якорей, которые к тому же довольно просто изготовить самостоятельно, является якорь-кошка.
Для его изготовления понадобиться:
- металлический прут ил труба, длиной от 200 мм. – до 300 мм. и диаметром 25 мм. – 30 мм.
- небольшой кусок полой трубы, диаметров – 40 – 50 мм.
- монтажные кольца – 3 штуки.
- металлически листы – толщина 4-6 мм.
Этапы работы:
- Из металлических листов вырезать:
- Четыре полоски прямоугольной формы (размеры: ДхШ) – 50х20 мм.
- Четыре полоски с закругленными краями (размеры: ДхШ) – 50х20 мм.
- Восемь полосок с закругленными краями только с одной стороны и просвероить в них отверстия для крепления рук (ДхШ) – 80х20 мм (диаметр отверстий – 5-7 мм.).
- Четыре треугольника (лапы якоря).
- К основной трубе необходимо приварить монтажные кольца (сверху и снизу).

- Приварить к нижней части основы четыре полоски с закругленными концами (4 из 8).
- Оставшиеся полоски приварить к второй трубе. Она должна свободно перемещаться по первой.
- Просверлить отверстие в средних и длинных полосках – во-первых – по краям – а во-вторых, только с одной стороны.
- Приварить треугольники к данным полоскам (к сужающимся сторонам). В средней части этих полосок, сделать небольшие надрезы и согнуть. После этого, сварить в данном месте. Таким образом, рогам придается изогнутая форма. Прикрепить сделанные рога, с помощью металлических прутков к нижним “ушам”. Таким же способом прикрепить четырех сантиметровые полоски к ушам, расположенным на куске трубы и после чего надеть ее на основную трубу. Просверлить в рогах отверстия так, чтобы можно было соединить их прутками с отверстиями в других концах четырехсантиметровых полосок.
Курбатовский якорь
Для якоря данного типа понадобятся:
- листовая часть, толщиной в 3 мм;
- кусочек высококачественного металлического прута, общей длиной с 12 см;
- проволоки с диаметром не менее 9 мм.

К пруту, длиной в 12 см. посредством проволоки прикрепляется главная листовая часть, которая предварительно подгоняется под объемный якорь и все вместе сваривается.По финансам – это один из самых доступных якорей, а на изготовление уходит не более 2-3 часов.
Что потребуется помимо якоря
Кроме якоря, для установки надувной лодки ПВХ в неподвижное положение потребуется еще и специальный канат или трос. Их лучше всего выбирать из синтетических материалов. Это обусловлено тем, что синтетика прочнее и надежнее, а во-вторых – более стойкая к воздействию внешних факторов.
К якорному тросу также предъявляются определенные требования:
- Прочность. Чтобы ее рассчитать, необходимо массу якоря умножить на 70.
- Толщина. Трос, толщиной в 7 мм. и выдерживающий усилия на разрыв в 1000 кг. вполне подойдет для большинства якорей, используемых для надувных ПВХ лодок.
- Длина. Здесь также существуют определенные стандарты.
Считается, что этот показатель должен превышать глубину в местах плавания в среднем в 4-5 раз. Кроме этого рекомендуется использовать специальные рым-кольца для стопорения якорного каната.
На самом деле, возможна и предельно привязка якорных шнуров.
Она заключается в том, что сам якорный шнур через гаечную серьгу не пропускается – он просто привязывается за нее. К самой серьге якоря шнур закрепляется стандартным способом и дополнительно привязывается леской или проволокой. В текущем варианте также исчезает и риск зацепа непосредственное за какие-либо серьезные подводные препятствия. петлей, которая образована самим шнуром между двумя серьгами, но при этом также возникает опасность возможность потери.
Правильное использование якоря
Мало грамотно подобрать якорь – необходимо также уметь им пользоваться. К примеру, при эксплуатации якоря-кошки профессионалы рекомендуют привязывать такие якоря именно за нижнюю часть петли, а не за привычную верхнюю. В таком случае, при зацепе за корягу или камень можно оборвать верхнее крепление и освободить якорь.
Максимально грамотная установка лодки – по течению. Для этого стоит зайти чуть выше места стоянки и опустить якорь. Стравливание якорного тросса зависит от силы течения и размера якоря (обычно – от 3 до 8 метров). При сильном течении рекомендуется установка лодки на два якоря: один на корму, второй на нос. Здесь сначала опускаем якорь с носа, а затем – после того как течение выровняет лодку – устанавливаем второй якорь с кормы. Также можно поставить лодку на два якоря, опустив их с обоих бортов.
- Важно грамотно подобрать тип якоря.
- При нечастой эксплуатации стоит использовать якоря, имеющие универсальные характеристики.
- В случае частой эксплуатации якоря, рекомендуется использовать якорный тросс из паракордового материала, характеризующегося надежностью и долговечностью.
Я, специально для фотографии, вытащил из гаража и свалил свои якоря в эту живописную кучу. Это не все мои якоря. Часть из них — самодельные; несколько штук вытащил из воды, когда доставал завоз; два подарили.
Вот тема-то! Якорь не проблема — купил в рыболовном магазине американский DANFORTH SUPERHOOKER или китайский Wancheng и все дела. Вроде всё просто, но такое простое решение вопроса не соответствует опыту рыбалки. Точнее, совсем не соответствует.
Первая проблема это стоимость якорей. Даже за сравнительно дешёвые китайские якоря для рыбацких лодок не всем хочется платить деньги. Это может быть не пресловутая «грудная жаба», а простой расчёт ибо есть местности, где якорь является расходным предметом рыболовного снаряжения.
Это могут быть реки с затопленным лесом, либо судоходные густонаселённые реки, где дно сплошь покрыто проволокой и обрывками верёвок от сеток, вентерей и других рыболовных снастей.
Кроме стоимости якорей имеет значение их вес, габариты, способность удерживать лодку на разных грунтах и на течении разной силы. Именно здесь спрятаны неразрешимые противоречия и не существует якорей способных их удовлетворить.
Конечно, среди посетителей сайта есть рыболовы имеющие возможность покупать якоря для лодки.
Часть рыболовов ещё живут в многоэтажных домах и вынуждены покупать якоря так как им физически негде организовать рабочее место.
Неясно какой смысл в покупке якоря рыболовом, живущим в частном доме. Любые куски трубы и проволоки можно превратить в якорь за несколько минут, так как якорь это просто кусок железки определённой формы.
Расходный кусок железа, ибо зацепы никто не отменял.
В местах рыбалки с большим количеством зацепов лучше пользоваться весовыми гирями, кусками рельс, «плашками» из-под железнодорожных рельс, отслужившими свой срок коленвалами и другими подходящими грузами.
Здоровье надо иметь приличное, потому как поднимать вес превышающий 20 кг., на глубине метров 10 и на течении может быть весёлым занятием.
Это «магазинные» якоря для лодок.
Кажется, один я всё-же покупал: это якорь номер 1. Якорь маленький, наверно подходит для малюсенькой резиновой лодки. «Лапы» прокручиваются, неудобное «колёсико» фиксирующее лапы в раскрытом положении. В общем, на мой взгляд, совершенно бесполезный якорь.
Необходимо высказать своё мнение по якорям 2 и 3. Главное отличие это длина квадратной части. Я считаю, якорь номер 3 предпочтительнее.
Складной якорь-кошка для лодки.
Это самодельные якоря.
Якоря №1 мне подарили. Изготовлены якоря хорошо, но имеют большие недостатки: короткий квадрат и большой внутренний размер квадрата на подвижной части якоря. Приходится привязывать проволокой или верёвкой иначе при опускании на дно якорь складывается.
Якоря №2 и №3 выловлены мной в Дону и в основном отличаются диаметром проволоки. У №2 лапы тонкие и могут разогнуться на зацепе. Квадрат тоже длиннее у якоря №2.
Якорь-кошка для лодки своими руками.
Распространённая конструкция самодельного якоря-кошки.
Как быстро сделать самый простой якорь-кошку для лодки?
Самый простой якорь-кошка для лодки.В обрезок трубы подходящей длины просунуты куски проволоки.
ВСЁ!
Длина якоря показанного на фото 37 см.
Якорь лёгкий поэтому может понадобиться подрузка.
Как самому сделать хороший якорь для лодки, совершенно бесплатно?
Из-за якорей показанных на следующих трёх фотографиях и была создана данная страница сайта.Распространённый раскладной якорь-кошка имеет неприятный недостаток: он стоит денег, а самодельные занимают много места. То есть рыбацкий якорь должен быть компактным и занимать очень мало места в сложенном состоянии.
Именно этим требованиям отвечают данные якоря.
Данные якоря самодельные и очень простые. Надо сказать, у них тоже есть недостаток: якоря плохо держат лодку на илистом грунте. Зато в глину врезаются так, что не вытащишь.
10.10.2013 9:42:49 Время последнего редактирования.
Продолжение следует…
Покупайте с хорошими скидками для личного пользования и в подарок друзьям, знакомым.
Приобретайте качественные товары по доступным ценам в . Делайте подарки себе и своим близким!
Подписывайтесь на нас в Facebook, Youtube, Вконтакте и Instagram. Будьте в курсе последних новостей сайта.
При ловле с лодки обязательно необходимо использовать якорь. Учитывая цены на это изделие, многие рыболовы решают изготовить самодельный якорь для лодки. В данной статье рассмотрим более простые и сложные способы изготовления данного аксессуара. Укажем, какие материалы и инструменты необходимы для такой работы.
Способ №1. Самостоятельное изготовление якоря из свинца
В данном способе мы рассмотрим, как сделать якорь из свинца и стального болта. Для этого нам потребуется газовая горелка и один или несколько кусков свинца весом 6-8 килограмм. Плавить его будем в стальной глубокой тарелке.
Ждем, пока свинец полностью расплавится и получится вот такая жидкая масса:
Держим немного его в вертикальном положении. Перед этим лучше одеть на руку перчатку, чтобы не обжечься. Подождали, пока свинец остынет после чего окунаем его в воду. Очень важный момент. Перед заливкой самодельного якоря для лодки хорошо смазываем емкость изнутри.
Используем для этого машинное масло или солидол. Если нет их, то можно обойтись подсолнечным маслом. Главное, чтобы вся поверхность была жирной. Это делается для того, чтобы якорь из свинца легко извлекался из тарелки. Чтобы не пришлось потом кувалдой выбивать его, испортив форму.
Если все сделать правильно, то мы получим вот такое аккуратное изделие:
Чем хорошо данный якорь? Во-первых, он хорошо держит лодку, плотно прилегая к поверхности дна. Во-вторых, данный якорь не будет застревать в корягах и в зарослях, как это иногда случается с магазинными якорями. И в-третьих, данное изделие на порядок дешевле магазинных. Если у вас имеется возможность добыть свинец в достаточном количестве, то проблем с изготовлением у вас не возникнет.
Важный момент, касающийся диаметра ушка. Вместо болта можно взять стальную скобу. При заливке просто утопите ее на нужную глубину, чтобы виднелась проушина. Делайте это с расчетом толщины каната, который будет продеваться сквозь отверстие.
Способ №2. Как сделать якорь для лодки из металлических заготовок
Для изготовления данного якоря нам потребуется металлическая трубка диаметром 4 см, две заготовки и болт с проушиной
Пластины затачиваем и привариваем их между собой, а потом получившуюся заготовку привариваем к трубке. В трубке делаем резьбу, в которую вкручиваем болт с проушиной. В результате у нас получится вот такой якорь весом 3,5 кг.
Как видим заготовки обточены со всех концов. Изготовления резьбы и подбор болта лучше доверить токарю. Он выточит и подгонит трубку до нужного состояния. Лучше создать чертеж якоря для лодки с указанием толщины и длины трубки и отдать его токарю.
Способ №3. Изготовления якоря своими руками из цементного раствора
Представляем еще один вариант, как сделать якорь из подручных средств. Для этого нам потребуется пакет цемента определенного веса. Разводим цемент в воде в соотношении по объему 1 к 4. Для размешивания используем специальный венчик.
После получения цемента его заливаем в емкость. В нашем случае мы будем использовать часть пластиковой бутылки. В результате получим якорь весом 5-6 кг. Для получения более тяжелого изделия используем емкость большего объема и больше цемента. После заливки цемента берем заготовку из толстой проволоки или металлическую скобу и вставляем ее в цемент. Получится вот так:
После того, как цемент застынет, обрезаем лишнюю часть пластика. Изделие можно использовать.
Как видим, в данном случае не потребуются чертежи якоря для лодки. С этой задачей справится даже человек, не особо умеющий что-нибудь создавать своими руками.
Якори для лодок из блина для штанги, гусеничного трака и старого утюга
Якорь можно сделать из гусеничного трака ДТ-75. Его вес составляет 14,8 кг. Есть еще траки весом чуть больше 8 кг. Если они для вас будут более предпочтительными, то используйте их. Данные модели раз подходят для наших задач. Выглядит звено гусеницы таким образом:
Для надежной фиксации данного элемента к канату к нему в местах, отмеченные стрелками лучше всего приварить металлические кольца, или можно одно большое.
Через кольцо будет крепиться канал.
Найти трак можно в ремонтной мастерской, где чинят сельскохозяйственную технику. Там же можно попросить приварить кольцо. Наверняка там есть неисправные траки, которые сдают как металлолом. Заплатите чуть больше, или отблагодарите человека правильными продуктами, и вы получите замечательный якорь. Он очень хорошо лежит на дне и держит лодку.
Чтобы он не ржавел, оберните его толстой липкой пленкой.
Еще один вариант самодельного якоря для лодки — это блин для штанги. Выбираем такой, чтобы весил 5-6 кг и имел отверстие, в которое проходил канат.
Блин можно покрасить водоэмульсионной краской, чтобы он не ржавел.
Весьма оригинальным самодельным якорем для рыбалки будет старый утюг, которым гладили с прошлом веке. Выбираем такой, чтобы весил от 10 до 15 кг и чистим его от ржавчины, если она есть. Чтобы легко убрать ржавчины помещаем утюг в какой-нибудь мощный растворитель вроде диметиловой кислоты или уксуса. Полежав примерно сутки, утюг сможет легко избавиться от ржавчины.
Для ускорения процесса можно использовать щетку по металлу.
Это изделие также можно покрасить водоэмульсионкой. Как видим, у данного утюга имеется достаточно большая проушина, через которую легко пройдет канат.
Выводы об изготовлении якорей своими руками
В данной статье описаны не все способы изготовления якорей. Например, некоторые рыболовы используют автомобильные амортизаторы-пружины, гири, отрезки рельсов, другие тяжелые предметы. Достаточно обратить внимание на подобные, казалось бы, ненужные предметы, включить немножко фантазии, и из них вы сможете сделать себе якорь для рыбалки.
Позволят вам приобрести любые по выгодным ценам!
Подписывайтесь на нас в — через них мы публикуем много интересной информации, фото и видео.
Популярные разделы сайта:
Позволит вам понять, как клюют все рыбы в зависимости от времени года и месяца.
Страница расскажет о многих популярных снастях и приспособлениях для ужения рыбы.
Подробно описываем живые, растительные, искусственные и необычные.
В статье вы познакомитесь с основными видами, а также с тактиками их использования.
Изучите все , что бы стать настоящим рыболовом и научиться правильному выбору.
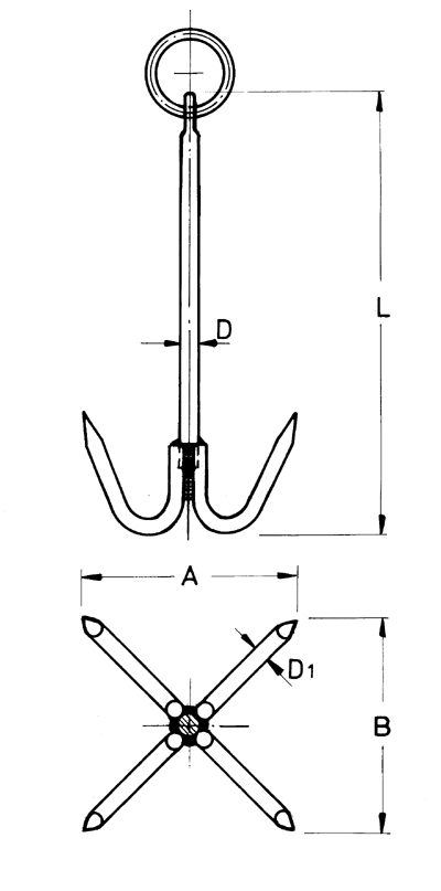
Складной лодочный якорь самодельный. Якорь для надувной лодки из ПВХ своими руками: пошаговая инструкция
При ловле с лодки нужно заранее подумать об установке лодки в стационарное состояние, а значит и о выборе якоря.
Типы якорей для надувных лодок пвх
Сразу стоит отметить, что в настоящее время запатентовано около 2000 якорей для надувных лодок ПВХ. Наиболее распространенные:
На сегодняшний день анкерный плуг является одним из самых эффективных при использовании на илистом или плотном песчаном грунте.
Кроме вышеперечисленных видов, наиболее распространенными и применяемыми являются якоря следующих типов: кошачий, грибной, речной и некоторые другие. Например, якорь-кот довольно популярен, так как имеет предельно простую конструкцию и при этом эффективно работает.
Якорь-гриб – лучшее решение для любителей ловить рыбу на водоемах с песчаным дном. Но речной якорь, в принципе, считается самым универсальным, так как его можно использовать на любой глубине и в любых реках.
Выбор анкера и основные требования к анкерам
При выборе анкера следует ориентироваться на такие критерии, как:
- Коэффициент удерживающей силы. Рассчитывается либо по специальным формулам, либо из значений таблиц. Специалисты рекомендуют больше ориентироваться на вес якоря. В среднем его масса должна составлять примерно 10% от грузоподъемности надувной лодки. Вес якоря также можно определить по следующему соотношению. Он должен составлять не менее 1% длины лодки. Например, если длина 4,5 м (450 см), то умножаем это значение в (см) на 0,01. В итоге получаем, что для такой надувной лодки ПВХ вес якоря должен быть не менее 4.5 кг.
- Обязательно учитывайте тип почвы в месте , где вы планируете ловить рыбу, а также характер и характеристики водоема (глубина, сила течения, как часто бывают сильные ветра и другие факторы).
Например, на водоемах с большой глубиной рекомендуется использовать стандартный плуговой якорь, а на водоемах с сильным течением либо грибовидный якорь, либо якорь Norhil.
Также важными требованиями к якорям для надувных лодок из ПВХ являются: безопасность, удобство использования, компактность, универсальность.
Как сделать якорь своими руками
Одним из самых распространенных и универсальных якорей, который к тому же довольно легко сделать самому, является якорь-кошка.
Для изготовления нужно:
- илотруба металлическая стержневая, длина от 200 мм. — до 300 мм. и диаметром 25 мм. — 30 мм.
- небольшой отрезок полой трубы, диаметры — 40 — 50 мм.
- кольца монтажные — 3 шт. Металлические листы
- — толщина 4-6 мм.
Этапы работы:
- Из металлических листов вырезанных:
- Четыре полосы прямоугольные (размеры: ДхШ) — 50х20 мм.
- Четыре полосы с закругленными краями (размеры: ДхШ) — 50х20 мм.

- Восемь планок с закругленными краями только с одной стороны и просверлить в них отверстия для крепления рук (ДхШ) — 80х20 мм (диаметр отверстий — 5-7 мм.).
- Четыре треугольника (анкерные ножки).
- Монтажные кольца должны быть приварены к основной трубе (сверху и снизу).
- Приварите четыре полоски с закругленными концами (4 из 8) к нижней части основания.
- Приварите оставшиеся полоски ко второй трубе. Он должен свободно двигаться по первому.
- Просверлите отверстие в средних и длинных полосах, во-первых, по краям, а во-вторых, только с одной стороны.
- Приварите к этим полосам треугольники (со скошенными сторонами). Посередине этих полосок сделайте небольшие надрезы и загните. После этого готовьте в этом месте. Таким образом, рогам придается изогнутая форма. К нижним «ушкам» прикрепите рожки, сделанные с помощью металлических стержней.Таким же образом прикрепите четырехсантиметровые полоски к ушкам, расположенным на куске трубы, а затем наденьте его на основную трубу.
Просверлите в рожках отверстия, чтобы можно было соединить их прутьями с отверстиями на других концах четырехсантиметровых полосок.
За 7 лет активного рыболовного увлечения я нашел десятки способов улучшить клев. Вот самые эффективные:
- Активатор клева … Эта добавка с феромонами наиболее сильно привлекает рыбу в холодной и теплой воде… Обсуждение активатора клева «Голодная рыба».
- Усиление Чувствительность снасти. Прочтите соответствующие руководства для вашего конкретного типа снастей.
- Приманка на основе феромонов .
Якорь Курбатовский
Для анкера этого типа вам потребуется:
- листовая деталь толщиной 3 мм;
- кусок качественного металлического стержня, общей длиной 12 см;
- провода диаметром не менее 9 мм.
Основная листовая часть крепится к стержню длиной 12 см с помощью проволоки, предварительно подогнанной к объемному анкеру и сваренной между собой.
По финансам это один из самых доступных анкеров, а на изготовление уходит не более 2-3 часов.
Что потребуется кроме анкера
Помимо якоря, для установки надувной лодки ПВХ в стационарное положение вам также понадобится специальная веревка или трос. Лучше всего выбирать их из синтетических материалов.Это связано с тем, что синтетика прочнее и надежнее, во-вторых, она более устойчива к внешним факторам.
К анкерному тросу также предъявляются определенные требования:
- Прочность. Для его расчета нужно массу якоря умножить на 70.
- Толщина. Веревка толщиной 7 мм. и выдерживать растягивающие усилия в 1000 кг. подходит для большинства якорей, используемых для надувных лодок из ПВХ.
- Длина. Здесь тоже есть определенные стандарты. Считается, что этот показатель должен превышать глубину в местах купания в среднем в 4-5 раз. Кроме того, для крепления якорного каната рекомендуется использовать специальные кольца с проушиной.

На самом деле возможна и окончательная вязка анкерных шнуров.
Заключается в том, что сам анкерный шнур через гаечный ключ не пропускается — он просто привязывается к нему. Шнур крепится к самой якорной серьге стандартным способом и дополнительно привязывается леской или проволокой.В текущей версии также исчезает риск быть застигнутым непосредственно за какими-либо серьезными подводными препятствиями. петля, которая образуется самим шнуром между двумя серьгами, но это также таит в себе риск возможности потери.
Правильное использование анкера
Мало правильно выбрать якорь — нужно еще и уметь им пользоваться. Например, при эксплуатации кошачьего якоря профессионалы рекомендуют завязывать такие якоря именно за петли нижней части, а не за обычную верхнюю.В этом случае при ловле коряги или камня можно отломить верхнее крепление и освободить якорь.
Максимально грамотная установка лодки — по течению. Для этого пройдите чуть выше стоянки и опустите якорь.
Освобождение якорной линии зависит от силы течения и размеров якоря (обычно от 3 до 8 метров). При сильном течении рекомендуется ставить лодку на два якоря: один на корме, второй на носу. Здесь сначала опускаем якорь с носа, а затем — после того, как течение выровняет лодку — ставим второй якорь с кормы.Также можно поставить лодку на два якоря, опустив их с двух сторон.
- Важно правильно выбрать тип анкера.
- Для нечастого использования стоит использовать анкеры с универсальными характеристиками.
- В случае частого использования анкера рекомендуется использовать анкерный трос из материала паракорд, который отличается надежностью и долговечностью.
Якорь является важным и обязательным элементом любой лодки или корабля, и надувная лодка ПВХ не исключение.Но именно для лодок из ПВХ якорная система служит только для остановки судна на месте. рыбалка . Очень важно обеспечить устойчивую фиксацию, независимую от течения или ветра, чтобы якорь прочно лежал на дне.
Важнейшими требованиями к любому анкеру являются: удобство использования, небольшой размер и легкость размещения в маленьком месте. Такое изделие должно быть совершенно легко вынимаемым обратно, иметь как можно меньший вес, чтобы уменьшить нагрузку на лодку и, конечно же, должен обладать высокой устойчивостью к химической коррозии.
Анкерная конструкция
В настоящее время существует около десятка известных и проверенных конструкций анкеров:
Наиболее распространенным является якорь-кошка , который чаще всего устанавливается на лодки из ПВХ. Эта модель якоря весит от 2 до 10 килограммов. Чаще всего складные якоря обычно создаются для небольших лодок. Преимущества этого анкера – малый вес, компактность, малые габариты. Есть два типа кошачьих якорей, которые отличаются способом фиксации лап.
В первом случае лапы выпрямляются непосредственно с помощью специальной поворотной втулки, во втором случае механизм фиксации лап аналогичен зонту, то есть лапы выдвигаются из центра.
Большим недостатком этого якоря является слабое сцепление с илистым или каменистым дном.
Вторым по популярности является анкер Денфорта. , напоминающий плуг. Эта модель не может быть очень легкой и малогабаритной, но имеет отличное сцепление с грунтом и камнем.С помощью своих плоских лопат якорь буквально зарывается в дно на довольно внушительную глубину, затем встречается с плотным грунтом и останавливается вместе с лодкой. Якорь Денфорта весом около 2 кг может поддерживать лодку весом до 80 кг. Явным преимуществом этого якоря является простота освобождения подводного крючка.
Якорь-гриб также очень известен. , который по своей форме напоминает гриб. Эта модель весит около 3-10 кг. Хорошо ведет себя на каменистом дне, имеет небольшие размеры и очень компактна.
Еще один вид якоря — якорь Брюса. , имеющий форму огромного крюка, на конце которого в разные стороны торчат два лезвия. При метании закапывается с помощью лопат в землю и фиксирует сосуд.
Также имеется раздвоенный анкер , который по своей форме напоминает двойную вилку, между двумя концами которой находится ножка. Таким образом, при броске лапа зарывается в землю и фиксируется в ней, а вилка дает еще больший захват.Недостатком является то, что устройство трудно вытащить обратно.
На лодках чаще редко используется ПВХ, но применяется якорь Nortill , имеющий форму звезды с четырьмя концами, на двух концах звезды, находящихся параллельно, устанавливаются ножки, с помощью которых анкер закапывается в землю, а две дополнительные балки, торчащие в разные стороны, только увеличивают сцепление. Недостатками этой модели являются большой вес и габариты, высокая цена, сложно вытащить.
Адмиралтейский якорь обычно используется на больших кораблях , но известны и случаи использования ПВХ на катерах. Он включает веретено, транец, два рога, форштевень, скобу и проушину. Главным преимуществом такого якоря является его универсальность.
Его можно использовать на водоемах с абсолютно любым типом дна. Он также отличается большим коэффициентом удерживающей силы и очень простой конструкцией. Основными недостатками этого типа якоря являются: большие размеры и вес, высокая цена, сложность в эксплуатации.
Есть еще один вид якоря — якорь Портера. , который очень похож на Адмиралтейский, отличаясь только способом крепления ножек, которые крепятся перпендикулярно стержню с помощью болтовых соединений. Благодаря этому якорь может колебаться из стороны в сторону. Важным преимуществом этой модели является то, что при погружении в воду одна лапа цепляется за землю, а другая за веретено, поэтому обеспечивается большая удерживающая сила, и вероятность того, что якорный трос зацепится за выступающую лапу, равна почти минимальный.
Основные критерии выбора анкера
- Важнейшим требованием является основное назначение якоря , то есть якорь должен обеспечивать надежную и качественную фиксацию в акватории, сопротивляясь течению и ветру.

- Коэффициент удерживающей силы , который обычно рассчитывается по специальным математическим формулам, обычно указывается на каждом анкере в магазине.
- Масса не должна быть слишком большой но и не слишком маленькой, оптимальным вариантом будет якорь весом 7-9 кг.
- Очень важным критерием выбора является тип грунта , так как каждый анкер ведет себя по-разному на разных грунтах.
- Также очень важным требованием являются погодные условия , в зависимости от того, где будет проходить рыбалка, где постоянный ветер или штиль.
- Очень важно выбрать анкер, который будет защищен от химической коррозии. Самый популярный и качественный способ защиты – цинкование.
Как самому сделать якорь
Если Денег нет на покупку готового якоря, либо нет доверия к производителям, то качественный и надежный якорь для лодок ПВХ можно сконструировать в домашних условиях самостоятельно, имея должный опыт и знания.
Рассмотрим создание якоря на примере сварного якоря Курбатовского.
Для изготовления такого якоря необходимо иметь:
- Металлический стержень длиной 2 см;
- Сталь в виде листа толщиной 2-3 мм;
- Проволока металлическая диаметром не менее 6 мм;
Вес такого изделия будет примерно 3 кг.Пошаговая инструкция:
Такой якорь сможет уйти с лодки в любой день, отличный вариант для лодки длиной 4 метра.
Также кроме сложной конструкции можно изготовить анкер, не прибегая к сварке, просто заливая горячий металл в нужную форму.
Для этого метода вам понадобится около 5-6 кг свинца:
- Сначала нужно расплавить металл , желательно плавить в огнеупорном глиняном тигле.
- Подготовьте необходимую форму для заливки , форму можете выбрать сами.
- Залить расплавленный металл в форму.
- Просверлите отверстие для веревки.
- Деформировать заготовку так, чтобы был крючок или лапка, таких лапок желательно сделать три , свинец достаточно мягкий металл и хорошо поддается пластической деформации. Или сделать заготовку в виде грибовидного якоря.
Таким образом, для создания анкера такого типа не нужно обладать большими познаниями в дизайне.Достаточно просто иметь немного фантазии.
Также можно самостоятельно изготовить раскладной кошачий якорь, так что ножки конструкции будут крепиться снизу на петлях, а изменение самочувствия ног будет изменяться с помощью специальной кольцевой муфты.
При самостоятельном создании конструкция анкеров намного надежнее, так как все работы выполняются своими руками, естественно, денежных затрат намного меньше.
Помимо сложной конструкции, можно изготовить якорь, не прибегая к сварке, просто заливая раскаленный металл до необходимой формы.Как увеличить улов рыбы?
За 7 лет активного рыболовного увлечения я нашел десятки способов улучшить клев.
Вот самые эффективные:
- Активатор клева … Эта добавка с феромонами больше всего привлекает рыбу в холодной и теплой воде. …
- Усиление Чувствительность снасти. Прочтите соответствующие руководства для вашего конкретного типа снастей.
- Приманка на основе феромонов .
Правильное крепление
Необходимо, чтобы лодка была надежно закреплена на поверхности воды якорем, но одного якоря будет недостаточно.Очень важно выбрать надежный и качественный якорный трос, соединяющий якорь с лодкой. Сегодня в магазинах продается огромное количество различных тросов, изготовленных как из синтетических, так и из натуральных материалов.
Синтетические канаты при одинаковом диаметре превосходят натуральные благодаря высокой стойкости к истиранию, высокой прочности на растяжение и изгиб, и эти виды канатов практически не подвержены гниению. Важнейшими критериями при выборе троса являются прочность на растяжение и разрыв, толщина и вес.
Трос очень высокого качества должен иметь значение прочности на разрыв, превышающее массу самого анкера в восемьдесят раз. Для определения точной длины троса необходимо знать точную глубину водоема, на котором вы собираетесь ловить рыбу, при этом длина троса должна быть примерно в шесть раз больше, ведь чем длиннее трос, тем лучше и надежнее анкерная фиксация.
Вместо якоря можно использовать цепь, но это значительно увеличит вес лодки, но имеет более высокие показатели прочности и надежности.
- Перед рыбалкой необходимо выяснить, какое дно у водоема, чтобы полностью определиться с выбором якоря;
- Вам необходимо знать глубину водоема для правильной покупки кабеля;
- Якорь надежнее сконструировать самому, но если такой возможности нет, то опирайтесь на отзывы предыдущих покупателей;
- К покупке якоря нужно отнестись очень серьезно;
- Очень важно не утопить драгоценный якорь, использовать только самые надежные типы узлов.

- При сильном течении целесообразно использовать два анкера для лучшей фиксации.
- Также якорь можно усилить цепью для лучшей фиксации и сцепления.
- Также необходимо правильно бросать якорь в воду под правильным углом.
Многие рыбаки сами делают наживку и рыболовные снасти. Не является исключением и такая рыбацкая вещь, как якорь.
Якорь необходим при ловле с резиновой лодки ПВХ, без него лодку снесет течением или порывами ветра.
Существует большое количество способов изготовления якоря. Бывает, что рыбаки обходятся без якоря, а для крепления лодки используют обычные кирпичи, мешки, наполненные песком и прочее. Но тут есть большой минус, они не умеют нормально закрепиться на дне водоема и приходится корректировать положение лодки (подплывать) и периодически перебрасывать груз. А это не только доставляет дискомфорт, но и пугает рыб. Поэтому советуем приобрести якорь в магазине, а лучше сконструировать его самостоятельно, чтобы сэкономить.
Выбор анкера и требования к его конструкции
Якорь должен быть прочно и надежно прикреплен к земле, чтобы удерживать лодку в нужном для рыболова месте. Чтобы лодка стояла очень крепко и не двигалась при большом речном течении и ветре, рекомендуем использовать сразу несколько якорей (не менее двух). Один из них будет оставлен возле носа лодки, а другой возле кормы. Рыбаки говорят «растянуться на лодке», поэтому становитесь на якорь двумя якорями.
Основные недостатки использования других видов укрепления лодок (камней, мешков, кирпичей):
- Большие габариты и вес (бывает, что нужно держать якорь одной рукой, а другой делать что-то еще, так например, с сумкой так не получится).
- Необходимо сгладить острые края груза, чтобы не повредить лодку (например, кирпичи или рельсы).
- Много времени тратится на укрепление груза (тяжело крепко связать большой камень или кирпич).
Конечно, можно использовать альтернативные якоря, но только на сильно засыпанном камнями дне.
Основные недостатки магазинного якоря:
- Цена конечно высокая;
- Приобретение некачественного (бракованного) товара.
Поэтому самым лучшим вариантом будет анкер самодельный, если сделать его по всем правилам, он будет соответствовать следующим характеристикам:
- Способность идеально удерживать лодку на месте.На это влияет масса якоря.
- Быстро и легко избавиться от крючков. Чтобы якорь не остался на дне.
- Мобильность при транспортировке.
- Антикоррозийная способность.
- Оптимальный вес и, конечно же, удобство в обращении.
Определить размеры каната и вес якоря
- Произведите необходимые расчеты.
- Или определитесь со специализированными столами.
В основном вес якоря рассчитывается на основе одного процента длины лодки и ее собственного веса.В итоге получается, что для 420-килограммовой лодки нужен якорь весом 4,2 килограмма, в общем, пяти-шестикилограммовые якоря легко справляются с лодками весом до 600 килограммов.
Анкерные канаты подразделяются на:
Натуральный.
Состоит из такого материала, как пенька и тому подобное (редко где сейчас можно найти).
Синтетика.
Состоящие из капроновой нити или прочного нейлона (очень прочные, не подвержены воздействию солнечных лучей и не гниют).
Усилие для разрыва каната на расстоянии от его начала до анкера должно быть в семьдесят раз больше веса последнего. Веревки лучше использовать витого типа, диаметром не менее 10 миллиметров (меньшие повредят руки). Длину веревки следует брать в пять раз больше глубины (особенно на реках с большим течением).
Конструируем типовой разборный анкер
Рассмотрим компоненты такого якоря:
- Стальная труба длиной 270 миллиметров и диаметром 25 миллиметров.
- Кусок расплавленного свинца (около двух килограммов).
- Гайка с втулкой M12 (25 мм).
- Полоса стальная — две штуки (с размерами 260х40х4 миллиметра) и две меньшего размера.

- Кольца металлические (две штуки).
Теперь детали изготовления:
- Привариваем втулку к концу трубы.
- Берем стальные полоски и проходимся по краям наждачной бумагой.
- Делаем лапки из полосок и в начале одной из них привариваем пару полосок, чтобы конструкция не прокручивалась.
- Укрепляем лапы на штоке и закрепляем гайкой.
- С другой стороны анкера делается отверстие и к нему с гайкой привариваются подготовленные кольца (необходимо для удобного доставания анкера из глубины и простоты сборки).
Чтобы якорь устойчивее располагался на дне, в его стержень можно залить расплавленный свинец. Большинство опытных рыбаков предпочитают именно такую конструкцию якоря.
Анкер по методу Курбатовского
Якорь Курбатова считается самым простым в изготовлении, поэтому именно этот якорь, а не указанный выше, часто изготавливают в домашних условиях.
Для его изготовления не нужно иметь специальный материал, достаточно нескольких деталей:
- Стальные полосы толщиной 3 мм.

- Металлический стержень длиной 12 миллиметров.
- Проволока диаметром около восьми миллиметров (не более).
Вы можете начать делать:
- Берем проволоку и делаем из нее что-то вроде «веретено».
- К верхней части «веретена» привариваем (или веревкой) планки, которые помогут провернуть лапу, а также обеспечат отличное сцепление с грунтом водоема.
Когда камней на дне много, якорь Курбатовского заменяется своеобразной заготовкой.
Якорная кошка и якорная пирамида
Если у вас трехметровая или четырехметровая лодка, то без якоря-кошки не обойтись. Якорь такой конструкции имеет возможность складываться, а его ножки можно устанавливать по своему усмотрению. Они перемещаются с помощью специальной муфты по всему валу «веретена». Они хороши в спокойные моменты, но при сильном ветре кошка не пролезет, соскользнет со дна (для предотвращения скольжения их утяжеляют за счет свинца).
В заключение хотелось бы рассказать вам об изготовлении еще одного распространенного вида якоря, которым является якорь-пирамида.
Как вы уже догадались, название происходит от внешнего вида его формы. Якорь можно сделать двумя способами.
Способ первый:
- Для изготовления якоря нужен свинец (твердый) и сама форма как пирамида.
- Возьмите металлические листы и сложите их соответствующим образом (так, чтобы получилась пирамида).
- Листы фиксируются проволокой и получается нужная форма.
- Теперь вы можете выкопать яму в земле и определить там форму.
- Осталось заполнить форму расплавленной свинцовой массой.
Перед затвердеванием свинца необходимо установить в форму проволочное кольцо (оно будет служить крепежом).
Рыбалку можно назвать любимым занятием многих представителей сильного пола. Особое внимание уделяется ловле рыбы на воде. Это связано с тем, что для изучения глубоководных ям, где может затаиться хищник размером с трофей, необязательно проводить дальние забросы.
Необходимым оборудованием любой лодки можно назвать якорь, который позволяет транспорту держаться на плаву в течение длительного времени.
Лодки из ПВХ, как правило, не имеют в комплекте якоря. Именно поэтому вам предстоит самостоятельно изготовить этот нехитрый помощник.
Разновидности самодельных анкеров
Рыбачить на большой воде без якоря не получится, так как сильный ветер или лодку может унести течением. Существует несколько вариантов исполнения такого оборудования для водного транспорта… Рассмотрим детали каждой конструкции.
Простой складной анкер
В целях экономии места при транспортировке надувной лодки можно создать разборную конструкцию. Особенности создания такого устройства включают в себя:
Результатом этой работы станет конструкция весом около 1,6 кг. Для того, чтобы значительно повысить остойчивость лодки во время шторма, в удар можно насыпать около 2 кг металла.
Анкер Курбатовский
Довольно популярен и якорь Курбатовского.Для его изготовления вам понадобится следующее:
- листовой металл, толщина которого должна быть не менее 3 мм; проволока
- из стали, диаметр которой должен быть не менее 8 мм;
- кусок металлического стержня длиной около 12 сантиметров.

Конструкция будет неразборной и будет иметь раздвоенный шпиндель и одну ножку. Вес составит примерно 2 кг, чего во многих случаях достаточно, чтобы стабилизировать лодку при ветре или сильном течении.
Всю работу можно разделить на следующие этапы:
- Сначала нужно сделать проволочное веретено.В этом случае к верхней части конструкции приваривается брус.
- Следующим шагом будет привязывание фиксирующей планки к штоку. Именно этот момент определяет, что лапа развернется после опускания якоря на дно. Этот момент позволяет лодке стабилизироваться на воде.
- К концам шпинделя у штока приварена полоса металла. Это делается для того, чтобы удерживать созданные стопы в рабочем положении.
Достаточно большое внимание следует уделить качеству сварного шва.
При погружении якорь может довольно сильно удариться о дно, что может привести к повреждению конструкции. Сварные швы чувствительны к ударам.
Якорная кошка
Существует множество различных моделей лодок, при изготовлении которых используется ПВХ.
Для лодки ПВХ длиной 3-4 метра отличным выбором становится якорь-кошка. Довольно часто изготавливается разборный вариант. Положение лапок можно менять с помощью муфты, которая может скользить по созданному шпинделю и фиксироваться в определенном положении.
Как поймать больше рыбы?
Я уже довольно давно занимаюсь активной рыбалкой и нашел много способов улучшить свой клев. И вот самые эффективные:
- Активатор клева. Привлекает рыб в холодную и теплую воду с помощью феромонов и возбуждает их аппетит. Жаль, что Росприроднадзор хочет запретить его продажу.
- Более чувствительное снаряжение. Обзоры и инструкции для других видов снаряжения вы можете найти на страницах моего сайта.
- Приманки с феромонами.
Остальные секреты удачной рыбалки вы можете получить бесплатно, прочитав другие наши статьи на сайте.
Другие конструктивные особенности:
- для предотвращения поломки лап фиксируются на стержне шплинтами;
- при необходимости освобождения конструкции в момент ее заклинивания шплинты срезаются;
- шарнирное крепление ножек внизу конструкции позволяет значительно повысить ее компактность.

Рассматриваемая конструкция имеет относительно небольшой вес, что определяет возможность ее использования только в безветренную погоду. Если есть сильное течение или ветер, то приходится значительно утяжелять устройство.
Пирамидальная модель
При изготовлении анкерного анкера следует использовать сплошной пирамидальный свинец. Рассматриваемая форма может быть изготовлена из листового металла, который сваривается между собой. Для значительного усиления конструкции по периметру приваривается проволока. После этого созданную форму закапывают в подготовленную яму в земле и заливают свинцом.
Плавкость свинца определяет то, что вы можете сделать его пластичным самостоятельно при использовании обычного оборудования. До того момента, пока свинец не остыл, осуществляется проволочный глазковый курс. Свинец можно собрать из старых аккумуляторов.
Основные требования к анкеру
К рассматриваемой конструкции предъявляется довольно много требований.
К ним относятся:
При самодельных анкерах следует обращать внимание на условия, в которых будет эксплуатироваться конструкция: при сильной растительности, завалах на дне, при каменистой местности и так далее.
Анкер делаем сами
Для самостоятельного изготовления якоря потребуются следующие материалы:
Производственные инструкции следующие:
- Для начала необходимо разработать проектный чертеж с нанесением всех размеров. Однако отметим, что часть чертежей можно скачать в Интернете.
- Следующим этапом является подготовка необходимых элементов: резка металла и прутков осуществляется с помощью болгарки или плазменной резки.
- После подготовки и подгонки всех элементов их соединяют сваркой.
После завершения работ следует проверить прочность конструкции, так как в момент применения анкера внести изменения будет уже невозможно.
Как не утонуть якорь?
Для создания рассматриваемой конструкции требуется много материалов и усилий.
Поэтому следует спасти якорь от утопления. Даже при ловле на знакомом водоеме сложно предугадать, какое дно. Именно поэтому стоит обратить внимание на следующие пункты:
Следует иметь в виду, что кошачий якорь тонет чаще других, особенно при каменистом дне.Этого можно избежать следующим образом:
- Буй и буй крепятся к конструкции. Крепление осуществляется на стык ножек и шпинделя.
- Необходимо создать еще одно кольцо.
- Для начала к месту веретена и соединения ног крепится веревка, после чего привязывается к кольцу.
В заключение отметим, что при создании анкера своими силами следует использовать только закаленный металл, не подверженный коррозии.При падении мягкого металла на дно он может серьезно деформироваться, чего нельзя допускать. Однако закаленный металл сложнее использовать при самостоятельном изготовлении анкеров.
Рыбаки часто сталкиваются с проблемой загрязненного берега. Сидеть и забрасывать удочки в куче мусора или на заиленном участке сложно и неудобно, поэтому многие используют плавательные средства для того, чтобы выбраться на середину водоема.
Лодочное оборудование стоит дорого, и рыболовы стараются сэкономить.Итак, многие создают якорь для лодки ПВХ своими руками. Это достаточно просто, если следовать пошаговой инструкции по сборке.
Требования и характеристики
Наличие в арсенале лодки якоря является важным моментом, способствующим удачной рыбалке и решению многих задач. Когда рыбак заплывает на середину пруда, лодку постоянно раскачивает быстрое течение или сильный ветер. Это мешает рыбалке и представляет опасность для человека из-за риска опрокидывания.Якорь, способный помочь в таких ситуациях, должен отвечать ряду общих требований:
- вес должен составлять 10% от веса плавательного снаряжения;
- элементы формы должны иметь крючковатый вид, чтобы якорь мог зацепиться за дно водоема и удержать лодку;
- должно быть отверстие для крепления веревки или цепи.
Даже хорошо продуманный якорь часто не может удержать лодку на месте.
Такой элемент создается исключительно под определенные особенности местности и погодных условий.
В качестве характеристик приняты следующие факторы:
- максимальная высота волны;
- материал и конструкция узла дна лодки;
- сила ветра;
- веревка, используемая для крепления.
Сила ветра и высота волны — показатели, влияющие на скорость течения и движение лодки. Чем сильнее порыв ветра, тем быстрее течение и труднее удержать лодку на одном месте. Все зависит от его веса, большая часть которого приходится на дно.Железные плавучие устройства требуют надежного сцепления со дном резервуара, поэтому важно выбрать кабель правильного типа. На небольших лодках использование цепи проблематично. Остается только веревка в виде веревки, рассчитанная на высокое усилие натяжения.
Веревки для лодочных якорей бывают двух видов:
- Искусственная веревка пользуется наибольшей популярностью среди рыбаков благодаря длительному сроку службы, устойчивости к влаге и гниению.
- Устройство из натуральных материалов — такие кабели редко подходят из-за плохой влагостойкости.

Могут быть полезны оба варианта веревки. Определить, какой из них подходит, можно только после ряда наблюдений. Чтобы якорь выполнял все функции, предварительно следует ознакомиться с погодными условиями в районе, где будет проходить рыбалка. Затем следует определиться с конструкцией якоря и подготовить материалы и инструменты.
При выборе конструкции для незнакомой местности лучше посоветоваться с рыбаками, которые на основании собственного опыта могут подсказать оптимальную схему.
- быть компактным и не слишком много весить;
- имеют длительный срок службы;
- легко снимается снизу;
- быть стойким к коррозионным процессам;
- удерживайте лодку с минимальным движением в пределах натяжения троса.
Этими качествами должен обладать самодельный якорь для лодки ПВХ. Чертежи помогут учесть все необходимые требования в процессе изготовления. Для достижения желаемого результата также необходимо четко следовать инструкции.
Преимущества самодельных приспособлений
Рыбаки часто используют в качестве якорей подручные материалы: камни, кирпичи, куски металлолома и т.д. Такой якорь лучше не использовать. Неправильная форма будет мешать нормальной якорной стоянке лодки в конкретном месте водоема, и якорь не зацепится за дно. Такие элементы занимают много места в лодке, и опасны для надувных поплавков при наличии острых углов. Приспособить такой якорь на борту сложно и неудобно, поэтому остается использовать самодельный механизм или промышленный образец якоря.
Промышленные модели дороги и часто оправдывают свою цену, но они имеют стандартную форму и не приспособлены для конкретного водоема или погодных условий.
Кроме того, такие якоря могут быть бракованными и не отвечать необходимым требованиям. Учитывая эти факты, проще и дешевле изготовить якорь для лодки ПВХ по чертежам своими руками.
Преимущество самодельных моделей состоит в свободе выбора массы и дизайна.
При изготовлении многих анкеров для утяжеления требуется заполнение полостей жидким свинцом. Регулируя количество свинца, можно подобрать необходимую массу под конкретный размер и вес лодки. Есть способ создания разборных конструкций, которые считаются универсальными.
Изготовление своими руками
Рыбалка на лодке без якоря сложна, ведь рыболовы часто сталкиваются с множеством проблем, которые могут даже угрожать их жизни. На самом тихом водоеме возникают подводные течения или появляются порывы ветра, которые уносят лодку с выбранного места.В таких ситуациях специальная система крепления удерживает поплавок. Важно правильно подобрать вид анкеров , так как каждый из них отличается формой и функциональностью.
Якоря для лодок бывают следующих типов:
- кат;
- Якорь Данфорта;
- Курбатов;
- Холл;
- гриб;
- «Безубыточность».
Каждый тип имеет свои особенности. Якорь Данфорта считается универсальным.
Он способен выполнять свою работу на дне с любым рельефом. Грибные крючки используются на водоемах со средним и быстрым течением. Каждая конструкция имеет преимущества и недостатки, которые проявляются в зависимости от условий.
Простые разборные модели
Для водоемов, защищенных от сильных ветров и не имеющих быстрых поверхностных или подводных течений, подойдет простой разборный якорь … Рыбаки часто используют этот тип еще и из-за доступных материалов построить его.
Требуются следующие детали:
- 1 металлическая труба длиной 270 мм и диаметром не менее 25 мм;
- 1 втулка, 1 гайка;
- 2 металлических кольца;
- 2 кг свинца;
- 4 куска металла.
Четыре металлические полоски необходимы для изготовления лап. Муфта крепится к металлической трубе и соединяет всю конструкцию. Сделать это можно при помощи сварки или крепежа для возможности разборки конструкции в случае замены деталей.Свинец нужен для увеличения веса анкера путем заливки его в полость трубы.
Такая простая модель модернизируется путем замены деталей.
К сварным конструкциям относится анкер Курбатова, для которого требуется стальной стержень, проволока и металлические детали.
Стальная проволока сгибается в виде веретена, после чего к заготовке привариваются металлические пластины. Именно за счет металлических сегментов якорь получает надежное сцепление со дном и удерживает лодку на одном месте.
Пирамидальный якорь и кот
Якорь-кошка широко используется рыбаками в самых разных условиях… Этот тип отлично подходит для небольших надувных лодок из ПВХ. Еще одним преимуществом является его складная конструкция, что позволяет разместить его в небольшом пространстве. Небольшой вес не является проблемой, так как при усилении ветра его можно утяжелить дополнительным весом. Лапы, прикрепленные к веретену, регулируются за счет того, что они нанизаны на проволоку. Так можно подстроиться под особенности рельефа дна водоема.
Пирамидальный якорь «безкрючкового» типа подходит для водоемов с замусоренным или неровным дном, что может создавать неудобства при подъеме якоря.Он изготовлен из металлических листов, которые сгибаются и свариваются, образуя цельную конструкцию. При этом необходимо оставить прорезь для заливки жидкого свинца. Именно свинец становится основным утяжелителем анкера. , и вы можете самостоятельно подобрать его количество исходя из желаемого веса.
После заливки свинца в полость конструкции необходимо до его затвердевания установить туда проволоку, которая после остывания металла хорошо закрепится в ней.Пирамида крепится к тросу, и на этом якорь считается готовым.
Перечисленные варианты — не единственные способы изготовления якоря для резиновой лодки. Другой способ — соединить несколько частей вместе. Для этого необходимо изготовить металлические пластины. разных размеров и сделать отверстия, чтобы можно было использовать болты и гайки для соединения их в цельную конструкцию.
Этот вариант хорош тем, что якорь можно в любой момент разобрать, убрать лишние пластины или добавить их для регулировки веса.При работе со свинцом, после изготовления устройства уже нельзя будет изменить вес.
Сделать самодельный якорь в домашних условиях несложно. Это самая легкая часть работы с ним, потому что якорь часто деформируется или теряется в процессе эксплуатации. Во избежание подобных проблем важно соблюдать правила эксплуатации якоря.
Каждый водоем отличается рельефом дна и загрязненностью. Все это влияет на стойкость якоря, поэтому необходимо заранее изучить дно или поговорить с рыболовами, хорошо знакомыми с местностью.Самостоятельно определить специфику дна сложно, поэтому при эксплуатации якоря рекомендуется:
- прикрепить якорь к тренду;
- вытащите его с помощью буйка;
- оборудовать якорь буем.
Если лодка надувная или небольшого размера, чаще всего используется один якорь, но лучше перестраховаться. На это есть несколько причин:
Соблюдая все рекомендации, сделать якорь для надувной лодки своими руками несложно.
Чертежи, видео, инструкции по сборке помогают наглядно увидеть, как собрать конструкцию из простых и распространенных материалов. Главное не забывать о мерах безопасности и правилах эксплуатации якоря в плохую погоду или в условиях рыбалки, он проходит по водоему с илистым или замусоренным дном и неровным рельефом.
Внимание, только СЕГОДНЯ!
Как поставить каяк на якорь: что вам понадобится и шаги для использования
Ветер и течение унесут маленькую пластиковую лодку, как лист в водостоке.Хотя вы можете маневрировать на своей лодке, чтобы бороться со стихией, бывают случаи, когда вы захотите встать на якорь. Постановка на якорь — отличный способ положить педали и весло и сосредоточиться на рыбалке. Но закрепить якорь на опрокинутой байдарке может быть ненадежно. Следуйте этим советам, чтобы научиться ставить каяк на якорь.
ПОСМОТРЕТЬ ВСЕ КРЕПЛЕНИЯ И СИСТЕМЫ ДЛЯ КАЯКОВ
[Эта статья является частью Руководства покупателя каяков для рыболовов по лучшим снастям для рыбалки на каяках на 2022 год.
Найдите все лучшие рыболовные снасти для каяков от ведущих брендов на все случаи жизни.]
Типы анкеров
Хитрость при постановке каяка на якорь заключается в том, чтобы закрепить лодку с наименьшим весом. Большой тяжелый якорь занимает ценное пространство и добавляет ненужный вес. Большинство рыболовов используют якорь-кошку с четырьмя острыми зубцами, которые складываются, чтобы поместиться в каяке. На мелководье используйте шест, чтобы быстро закрепить лодку. Лучшие палки — алюминиевые или стекловолоконные с заостренным концом, чтобы вонзаться в мягкое дно.
Самый быстрый способ закрепить лодку — это якорная система с электроприводом.Чтобы остановить лодку, нажмите кнопку на брелоке, и мотор на корме бросит шест в песок.
Использование якоря поможет вам сосредоточиться на рыбалке.
Речные рыболовы бросают якорь на каменистом дне с помощью буксировочной цепи. Вы можете использовать двухфутовый отрезок тяжелой цепи (хорошо подойдет 7/16-дюймовая), обернутый в велосипедную трубку или клейкую ленту и привязанный к 12-футовой веревке.
Некоторые рыболовы используют выдвижной поводок. При первом методе цепь висит в скалах, не застревая, работая, чтобы закрепить каяк в быстрой воде.Попрактикуйтесь в том, как поставить каяк на якорь в контролируемых условиях, прежде чем отправиться в большую воду.
Выбор анкера
Для разных типов дна требуются разные типы якорей для рыболовных каяков. На песчаном или мягком дне используйте складной якорь-кошку. На мелководье над песком или илом используйте веху, равную глубине воды. Большинство рыболовов выбирают шести- или восьмифутовые удилища. Алюминий прочнее, но столбы из стекловолокна обычно легче. Быстрее и проще использовать разбивочный столб, чем устанавливать якорь.
Рыболовы, которым необходимо быстро остановить лодку, выберут систему с механическим якорем. Если вы ловите рыбу на мелководье или в медленных реках, удобство якорной установки с толкающим дном окупится тем, что у вас будет больше времени на рыбалку. Большинство речных рыболовов изготавливают собственные буксировочные цепи — инструкции см.
выше.
Насколько тяжелым должен быть якорь для каяка?
Якорь для рыболовного каяка должен быть достаточно тяжелым, чтобы удерживать каяк, не увеличивая вес лодки. Для более легкого каяка в спокойной воде дно удержит трехфунтовый якорь.Если вы ловите рыбу с большого каяка в более глубокой воде, вам понадобится якорь-кошка весом от пяти до семи фунтов.
Цепи для буксировки достаточно тяжелые, чтобы быстро тонуть и не зацепляться за камни. Сверхмощный столб для разбивки пронзит мягкий песок или грязь и удержит каяк на ветру и течении. Рыболовы используют шесты для разбивки на мелководье, поэтому шестифутового шеста достаточно, чтобы не занимать слишком много места на каяке.
Что еще вам понадобится
Что такое якорная тележка для каяка?
Одно из первых изобретений в истории современной каяковой рыбалки — якорная тележка.Столкнувшись с дилеммой, как закрепить опрокинутый каяк в бурной воде и на ветру, рыболовы нуждались в способе завести якорь с носа или с кормы лодки.
В результате получается якорная тележка. Тонкая веревка (паракорд 550) проходит от миделя к носу или корме и обратно к миделю. Концы веревки привязываются к небольшому карабину.
Опустите якорь в воду и проденьте веревку через карабин. Затем, подобно поднятию флага на флагштоке, потяните трос тележки, чтобы переместить карабин и якорную веревку на нос или корму лодки.Когда якорь цепляется, каяк поворачивается так, что течение и ветер давят на острый конец лодки.
Веревка какого размера для якоря байдарки?
Выбор веревки правильного размера для якоря байдарки — это тонкий баланс. Вам нужна веревка, достаточно прочная, чтобы удерживать каяк, и достаточно тонкая, чтобы использовать самый легкий из возможных якорей. Многие рыболовы выбирают веревку диаметром 3/16 дюйма. Слишком тяжелый, и давление воды на веревку может затянуть якорь или помешать ему зацепиться за дно. Если веревка слишком легкая, она порежет вам руки или порвется под давлением.
Какая веревка для якоря байдарки?
Чтобы удовлетворить эти потребности, многие рыболовы используют веревку для белья из полиэстера.
Бельевая веревка будет удерживать каяк, не растягиваясь. Он не спутывается и завязывает прочный узел. Бельевая веревка из полиэстера имеет круглую форму, поэтому она менее водостойкая, что позволяет использовать более легкий анкер. Лучше всего то, что полиэстер водостойкий, поэтому он не впитывает воду и быстро сохнет. Когда придет время тянуть якорь, бельевая веревка не будет впиваться в ваши руки.
Цепь какого размера для якоря байдарки?
Добавление двухфутовой цепи длиной 3/8 дюйма между анкерным крюком и веревкой утянет анкер на дно. Это необходимо только для тяжелого каяка на быстрой или глубокой воде. Для большинства рыболовов привязывание якоря-кошки непосредственно к якорной веревке удержит лодку. Речные рыболовы используют 7/16-дюймовую цепь.
Какой длины должен быть якорный канат каяка?
Как правило, якорный канат должен быть в два раза длиннее глубины воды.Если вы бросаете якорь на глубине 10 футов, рассчитывайте заплатить 20 футов веревки.
Дополнительный объем позволяет якорю тянуться и цепляться за дно. При сильном течении или в суровых условиях выпустите больше лески, чтобы плавнее ехать.
Как прикрепить якорь к каяку
Постановка каяка на якорь — один из самых важных навыков, которым нужно овладеть. Если каяк повернется на бок по течению или ветру, лодка может перевернуться, и рыболов может запутаться в леске. Чтобы избежать этого, научитесь ставить каяк на якорь, а затем попрактикуйтесь в разработке безопасных протоколов.
Отработайте эти приемы в контролируемых, спокойных условиях, прежде чем отправиться в большую воду.
- Начните с веревки, свободно намотанной на палубу каяка. Бросьте якорь за борт и быстро закрепите линь через карабин на якорной тележке.
- Когда трос размоется, переместите якорную тележку на нос или корму. Когда якорь коснется дна, продолжайте отпускать линь до тех пор, пока у вас не будет примерно в два раза больше троса, чем глубина воды.
- Держите якорную веревку и дайте ей натянуться.
Если якорь тянется, выпустите больше веревки. Как только лодка остановится, закрепите веревку в каяке. - Лучший способ закрепить анкерный канат — это небольшая пластиковая скоба. Для низкопрофильного и быстроразъемного соединения используйте стопорную скобу, чтобы удерживать леску. Важным соображением в том, как привязать якорь к каяку, является возможность быстро и плавно отпустить якорь.
- Когда пришло время тянуть якорь, начните с расчистки места на палубе для якорного каната. Потяните за веревку, накинув ее на палубу, пока каяк не окажется прямо над якорем.Затем втяните якорную тележку и вытащите якорь из песка в лодку.
Прочие примечания
Постановка каяка на якорь в море
Океан бурный, с быстрым течением и глубокой водой, поэтому поставить каяк на якорь практически невозможно. Рыболовы могут поставить свой каяк на затонувший корабль или риф. Чтобы прикрепить якорный канат к рифу и не застрять, используйте якорь для затонувшего каяка.
Этот якорь состоит из четырех проволочных шипов, воткнутых в два фунта свинца. Бросьте якорь к обломкам и дайте шипам зацепиться.Когда пришло время идти, сильно потяните, и шипы отогнутся назад, чтобы освободить якорь.
Постановка каяка на якорь в реках
Из-за сильного течения поставить байдарку на якорь в реке особенно сложно. Чтобы закрепить лодку и не застрять в скалах, речные рыболовы используют буксировочную цепь. Вместо использования якорной тележки речные рыболовы пропускают веревку прямо через корму каяка. Эта оснастка позволяет быстро и легко разворачивать и тянуть якорь, не рискуя перевернуть лодку на бок по течению.
Где хранить якорь на каяке
Переноска якоря значительно увеличивает вес, затрудняя греблю или вращение педалей на байдарке. Для лучшего баланса храните якорь в центре каяка рядом с сиденьем или под ним. Это приближает вес якоря к весу рыболова и меньше влияет на ходовые качества каяка
.Связанные статьи
Оставайтесь на месте: держите каяк неподвижным
Вот и вы, там, где вы хотите быть, на идеальном расстоянии заброса от этой медовой дыры.
Но ветер крутит тебя или течение подхватывает. Ваше окно возможностей только что захлопнулось. Но это не обязательно так. Рыболову на байдарках доступно несколько вспомогательных средств позиционирования.
ЯКОРЬ ОТСУТСТВУЕТ: Стандартный способ удержать плавучее судно на одном месте (кроме песчаной отмели) — поставить на якорь. Это верно и в случае с каяком. Здесь применимы те же принципы, что и для более крупных моторных судов, только в меньшем масштабе.Помните, что определяющим фактором для анкера является не вес, а размер.
ТИПЫ ЯКОРЕЙ и ПРИМЕНЕНИЕ: Многие люди будут использовать что-либо тяжелое в качестве якоря для каяка только для того, чтобы оно скользило по дну в неблагоприятных условиях. Это может быть опасно, не говоря уже об ущербе, наносимом днищу. Наиболее распространенный якорь, используемый в рыболовном сообществе на байдарках, — это складной якорь весом 1,5 или 3,0 фунта.
Это устройство удивительно эффективно.
Он работает, просто лежа на боку и хватаясь за дно.Вот где важен «масштаб». Размах — это не что иное, как отношение глубины воды к количеству троса, протянутого от судна к якорю. Некоторые источники утверждают, что 7:1 дает магическое число. Итак, если глубина воды 10 футов, вам понадобится 70 футов лески. Это может быть излишним для каяка, но для того, чтобы этот тип якоря был эффективным, потребуется достаточный ход, чтобы якорь встал на бок и зацепился. Вы можете немного схитрить, поставив пару футов цепи прямо на якоре, а затем привяжите к нему нейлоновую веревку.Дополнительный вес помогает удерживать лапы якоря на дне. Когда этот тип якоря вытаскивают на поверхность, он вращается в воде, которая сбрасывает большую часть того, за что он был зацеплен на дне. Если я собираюсь идти по сильному течению, я буду использовать якорь весом 3,0 фунта с большим количеством удилищ. Для типичной рыбалки на отмелях мне хорошо подходит 1,5-фунтовая модель.
50 лет легким, маневренным, высокопроизводительным каякам.
Посмотрите это интервью с Томом Кином, совладельцем Eddyline Kayaks, об их путешествии!
НОСОВАЯ / КОРМОВАЯ / БОКОВАЯ: По возможности избегайте стороны, особенно если вы находитесь в каком-либо значительном течении. Ваш каяк спроектирован таким образом, чтобы правильно справляться с водой, когда она течет по всей длине судна, а не сбоку. Носовая и кормовая части — очевидный лучший выбор, и у каждой есть свои преимущества и недостатки.Станьте на якорь с носа, и вы будете забрасывать течение. Это делает презентацию очень естественной, но вы также должны быть осторожны с якорной линией перед собой. Если вы разворачиваете с кормы, якорный канат больше не является проблемой, но вскоре вы обнаружите, что ваша приманка находится прямо перед вами, подброшенная туда течением. Это отличный способ ловить рыбу, если вы используете приманку на дне. Если вы подключитесь, вы увидите, что ваш каяк действительно будет двигаться вместе с рыбой.
Скотти (те же люди, которые делают те держатели для удилищ, которые мне так нравятся) теперь делает расцепляющую анкерную планку, которую вы можете установить в любом месте, где у вас достаточно пластика для размещения основания.
ЯКОРНАЯ ТЕЛЕЖКА: Но допустим, вы хотите пересесть с носа на корму, не выходя из каяка. Решением является гениальное устройство, называемое якорной тележкой. По сути, это устройство, которое проходит по всей длине каяка с одной стороны. Вы пропускаете свой якорный канат через кольцо в такелаже, и это позволит вам перемещать кольцо через такелаж, чтобы изменить положение вашего якоря. Это будет выглядеть примерно так.
СТОЛ РАЗБИВКИ:
Теперь вы говорите: «Это самый смешной якорь, который я когда-либо видел».Нет, эта штука, прикрепленная к якорной тележке, — это столб. Это гениальное устройство просто вставляется в дно и удерживает вас на месте. Его также можно использовать через отверстия шпигата в каяке.
Еще одна альтернатива этому красивому промышленному шесту — изготовленный из ПВХ. Поездка в любой магазин товаров для дома позволит вам построить пару таких менее чем за 10 долларов. Все, что вам нужно, это немного ПВХ 1/2″ sch50, и вы в деле.
Я слышал, что некоторые люди используют старые клюшки для гольфа и даже сломанные удочки.Преимущество использования столба для разбивки — удобство. Вы можете легко за считанные секунды застолбить место, где установка якоря заняла бы несколько минут. Очевидным недостатком является то, что он работает только на относительно мелководье. Уловка, которую я люблю использовать на равнинах Флориды, заключается в том, чтобы просунуть удочку через один из моих шпигатов и дрейфовать. Как только я останавливаюсь, я знаю, что нахожусь на краю обрыва, и рыба должна быть там.
СЛИВНЫЕ ЖЕЛОБЫ:
Это тоже отличная идея.Если вы не хотите полностью останавливаться, а хотите просто замедлиться, вам нужен дрейфующий парашют.
После развертывания это устройство ловит воду, которая замедляет вас. Это также эффективно, если вы боретесь с крупной рыбой и вам нужно применить дополнительное давление. Ни один уважаемый тарпончик не будет запускаться без него.
Когда вы снова будете готовы к работе, просто потяните его и возьмите сзади. Вода кончается, и вы хорошо бросаете ее в аквариум. Показанная модель представляет собой 30-дюймовую модель, идеально подходящую для каяка.Из него также получится уникальная праздничная шляпа для позднего вечера, по крайней мере, так мне сказали.
ПРОГУЛКА С СОБАКОЙ, СОРТА: Большинство рыболовов на байдарках используют для своих якорей какой-нибудь нейлоновый трос. Тем не менее, некоторые мои друзья недавно поделились со мной отличной идеей. Вместо этого они используют выдвижной поводок для собак. Блестящий.
БЕЗОПАСНОСТЬ: Наконец, якорь может быть бесценным, если вы оказываетесь в точке «А», и, несмотря на все ваши усилия, вы дрейфуете в точку «Б», а в точку «Б» вам совсем не хочется.
Местом «В» может быть оживленный канал для лодок, водопад и т. д. Как и с любым защитным снаряжением, лучше всего научиться правильно его использовать задолго до того, как оно вам действительно понадобится.
Увидимся на воде…
Связанные статьи
Смотрите и слушайте историю о том, как Раф Варгас поймал 170-фунтового тунца.Зацепив его на глубине…
Каждый год индустрия активного отдыха приоткрывает завесу, чтобы продемонстрировать все больше и больше «вещей», чтобы мы могли пускать слюни…
Мудрость иногда можно найти в самых странных местах.
Недавно мы совершили поездку в Ки-Уэст на…
Рыбалка с «прогулочного» каяка, будь то гладкий плавучий катер или широкий и устойчивый «рек»…
отзывов о надувных байдарках и каноэ 380x (стр. 2)
отзыв о надувных байдарках и каноэ 380x (стр. 2) Перейти к содержимому страницыДоступны 7 пакетов скидок.от 899 долларов
Сьюзан Яндель Проверенный владелец 27.08.2021 3,0 из 5 звезд.
Как новичок, менее опытный каякер, я чувствую себя в этой лодке в большей безопасности на порогах класса II. Недостатком является то, что лодка тяжелая (50 фунтов) и имеет собственное мнение о Уайтуотере.
Мой супруг и я вместе сплавлялись на байдарках и обнаружили, что лодкой трудно управлять и маневрировать вокруг скал и через пороги.Я, скорее всего, буду использовать лодку для плавания по ровной воде, в качестве каяка для рыбалки или для друзей, у которых практически нет опыта плавания на каяках, чтобы они были в большей безопасности. К сожалению, с этой лодкой не так много возможностей для каякинга в более сложной воде (из-за недостаточной маневренности)
Ответ морского орла:
Спасибо за отзыв, Сьюзен.Обратите внимание, что корпус без какого-либо снаряжения весит 40 фунтов, и его может быть легче нести отдельно. Для другого транспорта вы можете использовать одну из наших тележек, ссылки на которые приведены здесь: www.seaeagle.com/Accessories/ez-cart/ez-cart-small-
Для получения дополнительной помощи обращайтесь к нам в любое время.
Джордж Смити Проверенный владелец 22.08.2021 4.0 из 5 звезд.
Лодку очень просто надуть ручным насосом — это занимает около 10 минут.Удобный и довольно простой в управлении. Быстро складывается и прекрасно помещается в багажнике автомобиля.
Ричард Бин Проверенный владелец 21.08.2021 4.0 из 5 звезд.
Отлично провел время с 380, но сломал нижний плавник, проходя через пороги с бурной водой во время нашего почти трехнедельного путешествия по Гранд-Каньону, и нам нужно будет заказать новый
Роберт Стин Проверенный владелец 09.08.2021 3.0 из 5 звезд.
отличная лодка, за исключением проблем с клеем на полу, вызывающих лук-порей
Ответ морского орла:
Спасибо за отзыв, Роберт.
Свяжитесь с нами, и мы поможем вам решить любые вопросы по ремонту. Обратите внимание, что вашей лодке исполнилось 16 лет, и срок ее службы превышает ожидаемый срок службы любой надувной лодки из ПВХ.
Пол Торнтон Проверенный владелец 29.07.2021 5.0 из 5 звезд.
Обожаю этот каяк. Я собираюсь взять свой 380-кратный кемпинг на озере Тахо. Его очень легко транспортировать, устанавливать и чувствовать себя в безопасности на воде. Моя собака тоже любит в ней гулять!
Том Катлип Проверенный владелец 23.07.2021 5.0 из 5 звезд.
Простота хранения, использования и высокая устойчивость для 2 человек! Вы можете легко загрузить кулер в течение дня! Инфляция и дефляция — это быстро и просто! Абсолютная необходимость для RV, если вы любите кататься на байдарках! Проверено в Океане, озерах и реках… спасибо показать полный обзор ▼ SeaEagle!!!!
Морской Орел!!!! Джеймс Уолтер
Проверенный владелец
12.
07.2021
5.0 из 5 звезд.
Мы выбрали 380x из-за стабильности и долговечности. Любить это! Устойчивый, легко гребет. быстро надувается. Настоятельно рекомендую сумку для переноски за 29 долларов. Вмещает весла, насос, спасательные жилеты, скег, сиденья.
Уоррен Бридж Проверенный владелец 12.07.2021 5.0 из 5 звезд.
Это была потрясающая покупка.Супер стабильный, супер портативный, пуленепробиваемый. У нас была моя жена и я в каяке с нашими 2 внуками. Тонны комнаты. Они думают, что это взрыв. Я бы порекомендовал вам потратить деньги и получить этот каяк. Вы определенно получаете то, за что платите. Я не видел конкурентов, которые приближались бы к
Крейг Рогальский
Проверенный владелец
11.07.2021
5.
0 из 5 звезд.
Получил свой 380x без проблем.Был немного не уверен в покупке паруса, но использовал его несколько раз, и вы действительно можете двигаться с ним при умеренном ветре. Я купил тандемный пакет, который хорошо работает как в одиночку, так и вдвоем. Только одна маленькая проблема с каяком, который я люблю. Один из маленьких клапанов для выпуска воздуха не фиксируется в положении спуска, поэтому вам нужно удерживать его, чтобы выпустить воздух. Это правильный каяк, особенно если вы используете бурную воду от слабой до умеренной. Определенно купил бы его снова!
Ответ морского орла:
Благодарим вас за отзыв. Наша служба поддержки свяжется с вами по этому вопросу.
Крис Йи
Проверенный владелец
11.
07.2021
5.0 из 5 звезд.
Мы купили 380X в качестве рождественского подарка и научились использовать его в качестве рыбацкой лодки в доступном озере в нашем районе. Теперь у нас есть поворотное сиденье для рыбалки, новый скег (родной оторвался при спуске на воду), надувные подушки сиденья от SeaEagle.Больше всего нам понравились наши собственные самодельные дополнения: зарядное устройство, свет для вечернего освещения, ящик на колесиках для рыболовных снастей, самодельный якорь, мягкий пол и тележка для путешествий по пересеченной местности. Перевозим лодку в надутом виде на нашем маленьком джипе Патриот. Мы провели часы на нашем озере и нашли множество мест для ловли сома, черного и белого окуня, голубой жабры и краппи. И мы, пенсионеры, наслаждаемся всем этим!
КОНТАКТЫ
Sea Eagle Boats, IncШтаб-квартира и выставочный зал — карта
19 Н.
Колумбия стрит Порт Джефферсон, Нью-Йорк 11777
США
Copyright © 2022 Sea Eagle Boats, Inc.
Надувной каяк Custom Additions
Некоторое время назад я получил электронное письмо от одного из наших посетителей по имени Бен, который объяснил, как он специально оборудовал свой надувной каяк SE 370 в соответствии со своими потребностями.
Я подумал, что то, что он сделал, было действительно творческим и показало возможности того, что вы можете сделать со своим каяком, если у вас есть желание немного поработать.
Для тех, кто заинтересован в создании пользовательских дополнений, таких как добавление двигателя, дополнительных скегов или держателя весла, ознакомьтесь с пояснением Бена ниже о том, что именно он сделал, чтобы приподнять свой Sea Eagle 370.Многие из этих дополнений можно сделать практически на любом надувном каяке.
Ниже приводится объяснение дополнений со слов Бена…
Дополнения к SE 370
«Если нам надоело грести, почему бы не добавить троллинговый мотор? Я видел их на каноэ, так почему бы не SE 370?
Чтобы начать с крепления троллингового двигателя, я купил кусок ПВХ-плиты размером 9 1/2″ x 60″ x 3/4″ (~ 5 долларов США) и закруглил нижние края с помощью фрезера.
Затем я прикрепил алюминиевые детали (бесплатно) сверху и закрепил винтами из нержавеющей стали 3/4 дюйма (4 доллара США) для прочности.
Я просверлил отверстия в панели ПВХ и алюминии, чтобы использовать их для банджи и т. д.
Для вертикального монтажа я вырезал 2,5-дюймовые куски панели из ПВХ, склеил их водостойким ПВХ-клеем и закрепил их 2,3-дюймовыми оцинкованными угловыми скобами (2 доллара США) с 3/4-дюймовыми винтами, прикрепив их к алюминию. Рамка. Вероятно, он весит 10 фунтов.
Мы приобрели мотор MinnKota C30 (~17 фунтов.) и аккумулятор (~35 фунтов) в Cabellas. Чтобы уравновесить двигатель, я сделал якорь, который весит около 15 фунтов.
В целом установка работает отлично, так как я могу прикрепить крепление к SE 370 с помощью 2 коротких 8-дюймовых банджи к точкам веревки на юбке. Мы все еще в пределах 650 фунтов веса SE370 даже с нашим снаряжением, кулером и т. д.
Кроме того, я сделал аксессуар «держатель весла», чтобы весло было надежно закреплено и не мешало во время рыбалки или под нагрузкой. Он показывает только 1, но у меня есть еще один для правой стороны.Что касается дополнительных скегов, которые я добавил, они имеют большое значение, особенно при гребле, даже в ветреную погоду! Отлично отслеживает!
Все лето мы «бродили по нескольким озерам и рекам, и люди, которых мы видим в других надувных лодках, включая SE350, поражены нашей настройкой и тем, как быстро мы движемся! Я уверен, что SE могли бы добавить эти предметы в качестве аксессуаров в свой каталог :-).
Моим следующим улучшением SE будет добавление 3 «люверсов» с каждой стороны на расстоянии 2 фута друг от друга».
Спасибо Бен!! Приятно видеть возможности того, что можно сделать, и очень ценится руководство о том, как это сделать.
10 лучших обзоров речных якорей на 2022 год
Якоря являются одной из наиболее важных частей многих типов гидроциклов. Они удерживают лодки и корабли надежно пришвартованными и, следовательно, защищенными от дрейфа из-за ветра или течения. С помощью лучшего речного якоря на рынке вы сможете быть уверены, что ваше судно не будет потеряно или повреждено.
Анкерымогут быть разных форм, размеров и конструкций. Хотя все они выполняют одну и ту же важную функцию, вы можете выбрать из различных конструкций якорей, чтобы найти лучший вариант для вашей лодки.Ваш выбор также будет зависеть от таких факторов, как тип и размер лодки, которую вы используете.
Таким образом, выбор правильного анкера для ваших нужд требует некоторого размышления и предусмотрительности.
С таким большим выбором может быть сложно сузить ваши варианты до сливок урожая. К счастью, мы можем помочь вам выбрать только самые доступные анкеры на рынке и получить максимальную отдачу от ваших денег.
10 лучших отзывов о речных якорях
1. Чугунный речной якорь Seachoice
Дизайн может создать продукт или сломать его; К счастью, чугунный речной якорь Seachoice с виниловым покрытием спроектирован так, чтобы быть эффективным, надежным и неизменно безопасным.Однажды воспользовавшись этим якорем, вы удивитесь, почему раньше не отказались от своего старого якоря в пользу этого.
Грибовидные якоря довольно часто используются в реках и озерах из-за их совместимости с условиями этих водоемов. Тем не менее, этот якорь для речного судна значительно отличается от типичных грибовидных якорей.
В то время как стандартные грибовидные якоря могут довольно хорошо проникать на дно рек и озер, этот якорь гораздо более эффективен благодаря своей конструкции.
Кроме того, этот анкер также имеет черное виниловое покрытие, которое обеспечивает защиту и обычно не встречается в других анкерах.Таким образом, вы можете рассчитывать на то, что этот анкер прослужит дольше, чем многие другие варианты на рынке.
Вы также оцените этот якорь, потому что он может очень хорошо удерживать лодку, но не будет слишком тяжелым в обращении. Он достаточно легкий, чтобы его можно было без труда транспортировать, но в то же время он достаточно тяжелый, чтобы надежно пришвартовать лодку.
Этот якорь не только достаточно легкий для удобной транспортировки. Он также оснащен большим ушком для веревки. Веревочная проушина такого размера значительно упрощает крепление анкерной линии, помогая предотвратить неудачи и несчастные случаи в будущем.Поскольку этот анкер прост в использовании, но при этом надежен и безопасен, он может оказаться отличной покупкой.
Однако стоит обратить внимание на то, что этот якорь поставляется не в лучшей упаковке.
Скорее всего, вы обнаружите, что сам якорь цел и не поврежден. Тем не менее, упаковка могла бы быть лучше и надежнее, на что вам нужно обратить внимание.
Плюсы
- Более эффективны, чем традиционные грибовидные анкеры
- Поставляется с защитным черным виниловым покрытием
- Закрепляет лодки, не будучи слишком тяжелым для переноски
- Большая проушина для веревки облегчает крепление анкерных тросов.
Минусы
- Поставляется в некачественной упаковке
Благодаря инновационному дизайну и защитному виниловому покрытию этот анкер более надежен и эффективен, чем многие другие анкеры. Он также достаточно тяжелый, чтобы обеспечить безопасность вашей лодки, но достаточно легкий и портативный для удобной транспортировки.
2. Речной якорь MarineNow
Если у вас более компактная лодка, вам следует рассмотреть речной якорь MarineNow с виниловым покрытием.
У него практичная и надежная конструкция, а виниловое покрытие обеспечивает его защиту и долгий срок службы.
Это может быть лучший якорь для лодок для рек, особенно для малых и средних лодок. Он может очень хорошо работать для лодок длиной около 11 футов, но также может работать и для лодок длиной 20 футов. Однако, если вы собираетесь использовать этот якорь для больших лодок, было бы неплохо иметь на борту еще один якорь.
Кроме того, этот может очень хорошо работать на разных типах дна, будь то илистое, грязное или заросшее водорослями.Он также очень эффективен на мелководье с большим количеством камней, веток и других объектов на дне. Он не застрянет, и вы сможете управлять им более плавно, чем вы могли бы ожидать.
Поскольку этот анкер имеет виниловое покрытие, его намного легче чистить. Когда вы бросаете якорь в воду, он может всплыть со всевозможным мусором и грязью, прилипшими к нему. Однако виниловое покрытие не только защищает анкер, но и обеспечивает максимально гладкую очистку.
Еще одна вещь, которая вам понравится в этом якоре, это его компактность. Его легко транспортировать и легко хранить, потому что он не занимает много места. Вы даже можете держать два таких якоря на борту своей лодки без каких-либо хлопот.
Однако следует обратить внимание на целостность винилового покрытия. Со временем он может отслоиться, хотя анкер можно снова окунуть, чтобы он снова получил свежее виниловое покрытие.
Плюсы
- Подходит для малых и средних лодок (от 11 до 20 футов).)
- Хорошо работает на илистом, илистом, заросшем или каменистом дне
- Виниловое покрытие облегчает очистку анкера.
- Компактный; легко транспортировать и хранить
Минусы
- Виниловое покрытие со временем может отслоиться.
Это очень надежный и практичный якорь, который может эффективно работать на илистом, илистом, водорослевом или каменистом дне. Его также легко чистить, легко транспортировать, легко хранить и легко эффективно использовать.
3. Оцинкованный анкер Danielson
Если вы ищете что-то более подходящее для более спокойной воды и небольших судов, безусловно, стоит попробовать оцинкованный складной якорь Danielson. Это хорошо спроектированный якорь, который прост в использовании и может помочь сохранить душевное спокойствие, когда вы хотите провести расслабляющий день на озере.
Возможно, этот якорь не предназначен для больших лодок или более суровых условий, но он идеально подходит для спокойного дня на байдарке по озеру.Это легкий якорь, поэтому его лучше всего использовать на небольших лодках и в безветренных условиях.
Поскольку это легкий якорь, вы можете использовать его в хороший день для рыбалки. Его вес также дает еще одно преимущество: его легко транспортировать, и он поставляется с простым в эксплуатации скользящим грузом, который может открывать и закрывать лапы для удобства развертывания и хранения.
Скользящий груз прост в использовании и надежен, гарантируя, что якорь не откроется или не закроется, когда он не должен.
Все, что вам нужно сделать, это повернуть вес, чтобы заблокировать или разблокировать его. Он достаточно прост в эксплуатации, но его не так легко сбить.
Кроме того, этот якорь хорошо спроектирован и полезен в различных ситуациях. Конструкция позволяет ему хорошо держаться на камнях на озере, речном дне или песке. Он подходит для каяков и других небольших лодок, а также различных надувных лодок.
Хотя механизм блокировки и разблокировки этого якоря сделан хорошо, вам придется следить за винтом, который крепит проушину веревки к якорю.Винт имеет тенденцию ослабевать, что может привести к потере анкера. Чтобы избежать этого, вам придется прижать конец винта к корпусу анкера.
Плюсы
- Подходит для небольших судов и тихой погоды
- Легкий; легко транспортировать и хранить
- Простота блокировки и разблокировки с помощью скользящего груза
- Хорошо держится на камнях и песке
Минусы
- Веревочный рым-болт может ослабнуть, поэтому для безопасности его необходимо забить.

Это легкий и хорошо спроектированный якорь, который лучше всего подходит для небольших лодок и надувных лодок. Он хорошо работает в безветренных условиях и может эффективно цепляться за камни и песок.
4. Речной якорь Extreme Max BoatTector
Ищете самый надежный якорь для речной рыбалки? Речной якорь Extreme Max BoatTector с виниловым покрытием, безусловно, заслуживает внимания. Благодаря своей конструкции и дизайну этот анкер может удовлетворить ваши потребности и оставаться надежным в течение длительного времени.
Подходит для использования в реках и озерах, этот якорь может надежно удерживать вашу лодку даже при быстром течении. При весе 30 фунтов он также может хорошо работать на различных судах длиной от 20 до 25 футов.
Еще одна вещь, которая вам понравится в этом якоре, это то, что он пригодится практически на любом дне озера или реки. Заросшее, грязное, грязное, каменистое или твердое дно — все это честная игра, и этот якорь сможет защитить вашу лодку, независимо от того, что находится на дне озера или реки.
Этот анкер очень хорошо работает благодаря своей конструкции и дизайну. Он не только довольно здоровенный, но и использует свои лапы, чтобы прочно ухватиться за дно озера или реки.
Кроме того, канатная проушина запрессована в анкер и не является отдельной деталью, прикрепленной винтом. Таким образом, веревочная проушина намного надежнее и не рискует отсоединиться, а это означает, что у вас гораздо меньше шансов потерять якорь.
Еще одной особенностью дизайна является виниловое покрытие.Это покрытие обеспечивает большую защиту анкера, а также облегчает очистку. Грязь, навоз и грязь, как правило, легче соскальзывают с винила, а это значит, что вам не придется беспокоиться об очистке якоря после долгого дня рыбалки или катания на лодке.
Тем не менее, вы должны следить за любыми сколами на виниловом покрытии. Покрытие защищает металл под ним от ржавчины, но оно довольно тонкое.
Плюсы
- Может работать с лодками длиной до 25 футов
- Используется в озерах и реках с заросшим, илистым, илистым или каменистым дном
- Формованная веревочная проушина предотвращает потерю анкера.

- Виниловое покрытие для легкой очистки
Минусы
- Виниловое покрытие относительно тонкое и не полностью устойчиво к ржавчине.
С прочным, хорошо сконструированным и высоконадежным якорем вам не придется беспокоиться о безопасности лодки даже при быстром течении. Он также поставляется с виниловым покрытием, которое может защитить якорь и облегчить его очистку.
5. Универсальный анкер Seachoice
Якорябывают разных конструкций и подходят для разных типов судов.В частности, Seachoice Utility Anchor довольно универсален и обеспечивает большую безопасность при правильном использовании.
Это высоконадежный якорь для плавсредств среднего размера. Благодаря своим 9-дюймовым лапам он может глубоко зарываться в поверхность дна и, таким образом, надежно удерживать вашу лодку на якоре. Хотя этот якорь легкий, он может удержать вашу лодку, несмотря на ветер, волнение или быстрое течение. Ваша лодка останется устойчивой и не будет дрейфовать.
Поскольку анкер легкий, его легко хранить и транспортировать.Вы также не сломаете себе спину, пытаясь вытащить его снизу вверх. Однако на случай, если якорь застрянет, он оснащен хвостовиком с контактным кольцом, чтобы вам было легче вытащить якорь из воды.
Еще одна вещь, которая вам понравится в этом якоре, это то, что он рассчитан на долгий срок службы. Он изготовлен из оцинкованного металла, а также доступен в вариантах с ПВХ-покрытием. Оцинкованный металл сделан прочным и крепким, а это означает, что этот анкер может прослужить довольно долго.
У вас также будет возможность выбрать один из других вариантов этого же якоря. Вы можете выбрать в зависимости от размера вашей лодки, так как варианты могут вместить суда длиной от 15 до 30 футов. Выбор даже включает различные цвета ПВХ, включая черный, красный, синий и белый.
Однако, если вы выберете отделку из оцинкованной стали, вам придется следить за ее острыми краями. Отделка анкера не очень гладкая, поэтому все еще могут быть шероховатые и острые края, которые необходимо отшлифовать или спилить.
Плюсы
- Надежный и подходит для судов среднего размера
- Легкий, но способный противостоять ветру, волне и течению
- Поставляется с хвостовиком контактного кольца на случай заедания
- Из оцинкованного металла, с вариантами с покрытием из ПВХ
- Есть варианты для судов разных размеров
Минусы
- Следует помнить об острых краях и шероховатых поверхностях
Этот якорь представляет собой легкое, но прочное и надежное оборудование, которое может надежно удерживать лодки среднего размера на якоре даже при ветре, волне или быстром течении.Он также поставляется в различных вариантах, которые подходят для различных размеров лодок.
6. Якорь реки Аттвуд
Приобретите качественный и надежный якорь, который прослужит долгое время без больших затрат. Хороший якорь не обязательно должен быть дорогим, что доказывает якорь Attwood River Anchor.
Вы не пожалеете о покупке этого оборудования, и оно, несомненно, прослужит дольше, чем вы могли ожидать.
Этот якорь отличается от стандартного грибовидного якоря, потому что он оснащен лапами.Однако его дизайн по-прежнему отлично подходит для рек и озер. Сосальщики могут цепляться за камни, ветки и другие предметы на поверхности дна. Этот якорь может затем надежно пришвартовать вашу лодку без какой-либо опасности отсоединения.
Несмотря на то, что конструкция якоря проста и понятна, она также стратегична и эффективна. Например, петля для веревки отформована прямо на анкере. Это означает, что проушина веревки не оторвется и останется неповрежденной, что снижает вероятность потери якоря в воде.
Ушко для веревки также сделано достаточно большим. Веревочная проушина такого размера облегчит вам фиксацию и раскрытие якоря. Он может вместить более прочную и толстую веревку, что поможет вам лучше закрепить якорь.
Еще одной замечательной особенностью является покрытие из ПВХ, которое защищает расположенный под ним чугунный анкер.
Это покрытие может не только защитить от ржавчины, но и помочь вам сохранить ваш якорь чистым и без грязи, когда вы вытаскиваете его из воды. Благодаря ПВХ-покрытию вам будет легче смывать грязь, грязь, мусор с якоря.
Несмотря на то, что этот якорь довольно прочный, вам все равно придется быть осторожным с ним, когда он находится вне воды. При неправильном обращении он может развалиться, поэтому обращаться с ним нужно осторожно.
Плюсы
- Прочный, но относительно недорогой
- Поставляется с лапами, которые могут удерживать предметы на нижней поверхности
- Большая проушина для толстой веревки
- Защитное покрытие из ПВХ, облегчающее очистку
Минусы
- Может развалиться на части при неправильном обращении
Прочный якорь с простой, но надежной конструкцией — это все, что вам нужно для спокойного и безопасного отдыха на реке или озере.Этот якорь — отличный выбор благодаря хорошо спроектированным лапам и защитному ПВХ-покрытию.
7. Якорь Five Oceans Fluke
Есть причина, по которой анкеры типа Danforth так популярны, и это потому, что они, как правило, универсальны и легки. Якорь Five Oceans Danforth Style Fluke Anchor ничем не отличается. Этот якорь является отличным оборудованием, потому что он работает очень хорошо и довольно прост в использовании.
Лучше всего использовать для малых и средних лодок длиной до 25 футов, этот якорь подходит для различных плавсредств.Вы можете использовать его во время различных морских видов спорта и занятий, включая рыбалку, охоту и катание на лыжах.
Имейте в виду, что этот якорь очень хорошо работает в реках и озерах с песчаным или илистым дном. Ему не понадобятся камни, ветки или мусор, чтобы держаться; вместо этого он может надежно зарыться в песок или грязь, чтобы предотвратить его дрейф.
Благодаря конструкции из оцинкованной стали вы можете быть уверены, что этот анкер будет оставаться пригодным для использования в течение длительного времени.
Он также легкий, хотя его конструкция позволяет надежно удерживать лодки даже при умеренно сильном течении.Кроме того, он быстро затвердеет, как только коснется нижней поверхности.
Условия окружающей среды не всегда будут идеальными, и они могут внезапно ухудшиться. К счастью, этот якорь сможет хорошо удерживать вашу лодку, даже когда погода начинается благоприятно, а позже днем становится ненастной. Якорь будет работать стабильно, и вам не придется сильно беспокоиться о погоде.
Несмотря на то, что эта речная якорная система очень хорошо сделана и может оказаться очень надежной, она не оснащена хвостовиком с контактным кольцом.Стержень с токосъемным кольцом может облегчить вам подъем этого якоря, поэтому вам может потребоваться некоторое усилие, чтобы вытащить его из воды.
Плюсы
- Лучше всего подходит для рыболовных, охотничьих и прогулочных лодок длиной до 25 футов
- Предназначен для использования на песчаном или илистом дне
- Изготовлен из прочной и легкой оцинкованной стали
- Очень быстро застывает №
- Обеспечивает безопасность лодок даже в суровых условиях.

Минусы
- Стержень без контактного кольца облегчает вытягивание анкера
Если вы увлекаетесь рыбалкой, охотой или водными видами спорта, этот якорь для лодок для озер станет отличным снаряжением для лодок длиной до 25 футов.Он хорошо работает с песчаным или илистым дном и быстро схватывается, несмотря на легкий вес.
8. Речной якорь Камко
Ваша рыбалка может стать намного лучше с помощью речного якоря Camco с ПВХ-покрытием. Хотя рыбалка уже сама по себе расслабляет, вы можете чувствовать себя еще более непринужденно, когда у вас есть правильный якорь, на который можно положиться.
Каяки, понтонные катера, басовые лодки, джонботы и многое другое хорошо совместимы с этим якорем. Вы обнаружите, что это тот якорь, который вы искали, если вам нужен прочный продукт, который будет держать вас в устойчивом положении на воде.С этим якорем вы сможете оставаться на месте даже при сильном течении.
Кроме того, этот якорь также лучше всего работает в реках и озерах с илистым дном.
Конструкция и дизайн этого якоря также заслуживают пристального внимания. Анкер имеет черное покрытие из ПВХ, которое защищает металл анкера от ржавчины. Между тем, покрытие также защищает якорь от грязи, навоза и копоти, потому что оно делает очистку гораздо более удобной.
Кроме того, анкер поставляется с большой проушиной для веревки, которая подходит для разных веревок разной толщины.Ушко для веревки также надежно прикреплено к анкеру, поэтому вам не придется беспокоиться о его отсоединении во время использования анкера. Таким образом, у вас гораздо меньше шансов потерять якорь в воде.
Многие другие якоря предназначены для спокойной воды и не будут работать при ветре и течении. Тем не менее, этот якорь достаточно тяжелый, чтобы удерживать лодки на якоре даже в ветреную погоду и при быстром течении. У него также есть лапы, которые могут захватывать осадок, тем самым дополнительно защищая лодку.
Вам нужно обратить внимание на то, что этот якорь не всегда совместим со всеми лодками этого размера.
Например, это может не подойти лодке с V-образным корпусом, даже если она подходящего размера.
Плюсы
- Хорошо сочетается с понтонами, окунями, джонботами и т. д.
- Подходит для рек и озер с илистым дном
- ПВХ-покрытие защищает от ржавчины и грязи
- Удерживает лодки на якоре даже в ветреную погоду
Минусы
- Иногда может быть несовместим с лодками такого же размера
Этот якорь отлично подходит для понтонов и рыбацких лодок, что делает его полезным инструментом, если вы занимаетесь рыбной ловлей в качестве хобби.Он хорошо спроектирован и изготовлен с защитным ПВХ-покрытием, которое предотвращает ржавчину.
9. Анкерная коробка скользящего анкера
Не каждый продукт может оправдать высокие ожидания, но этот может. Оффшорный коробчатый анкер Slide Anchor хорошо сделан, хорошо спроектирован и очень надежен. Он может похвастаться исключительными характеристиками, которые более чем стоят затраченных средств и могут улучшить ваши впечатления от катания на лодке.
Пожалуй, одна из лучших особенностей этого якоря — простота использования.Ему не нужна механическая энергия от вашей лодки, и он может легко установить в пределах 1 фута от места, где он приземляется. Все, что вам нужно сделать, это выключить двигатель вашей лодки, а затем бросить якорь за борт. Через мгновение якорь встанет, и ваша лодка будет надежно пришвартована.
Между тем, вытащить якорь из воды почти так же просто, как и бросить его. Все, что вам нужно сделать, это потянуть линь, чтобы поставить лодку прямо на якорь. Как только ваша лодка окажется на месте, вы сможете вытащить якорь со дна без пота.
Якорь позволяет лучше контролировать положение лодки. Кроме того, вам не нужно будет использовать цепь, и вам понадобится гораздо более короткая веревка, чем та, которая требуется для якоря в стиле Данфорта.
Этот якорь подходит для различных морских судов длиной от 18 до 30 футов. Его также лучше всего использовать в реках и озерах с мягким дном, потому что он может легко погрузиться в осадок и зацепиться за него.
Хотя этот тяжелый якорь легко устанавливается, вам придется следить за отделкой.Отделка может легко отслаиваться и трескаться, хотя это не влияет на работу анкера.
Плюсы
- Легко устанавливается без использования механической силы лодки.
- Легко вытаскивается из воды
- Позволяет контролировать положение лодки
- Подходит для лодок длиной от 18 до 30 футов, для мягкого речного и озерного дна
Минусы
- Отделка склонна к растрескиванию, отслаиванию и отслаиванию.
Если вы ожидаете, что ваш якорь сможет легко удерживать вас на якоре без особых усилий с вашей стороны, этот якорь для вас. Все, что вам нужно сделать, это бросить его в воду и дать ему застыть, после чего вы сможете без проблем наслаждаться катанием на лодке.
10. Речной якорь SeaSense
Практичность имеет большое значение, особенно когда речь идет о плавании на лодке.
Речной якорь с виниловым покрытием SeaSense — это простой якорь с простой, но очень эффективной конструкцией.Он сделан, чтобы быть эффективным, прочным и полезным в течение длительного времени.
Это один из лучших речных якорей для лодок, которые можно использовать на рыбалке. Он достаточно тяжелый, чтобы безопасно пришвартовывать различные рыбацкие лодки, в том числе понтоны и лодки для ловли окуня. Его лапы и вес также позволяют ему хорошо работать на реках и озерах с илистым дном. Якорь достаточно тяжелый, чтобы легко держаться на грязи.
Поскольку этот анкер имеет ПВХ-покрытие, он защищен от ржавчины.Это означает, что пока это покрытие не повреждено, вы сможете использовать этот анкер, не беспокоясь о повреждениях и коррозии. Кроме того, покрытие облегчает очистку якоря от мусора и грязи.
Вы также обнаружите, что проушина для веревки отформована прямо на самом анкере. Это не отдельная деталь, прикрепленная к анкеру винтом. Это более безопасно, потому что веревочная проушина никогда не оторвется от анкера.
Таким образом, у вас гораздо меньше шансов потерять якорь в воде.
Возможно, самое лучшее в этом якоре то, что для его эффективного использования практически не требуется суеты или усилий. Все, что вам нужно сделать, это бросить его в воду и подождать, пока он выдержит. Не тратя время на попытки правильно пришвартовать лодку, вы сможете посвятить больше времени рыбалке.
Несмотря на то, что это удобный и хорошо сделанный якорь, вы можете обнаружить, что ушко для веревки слишком маленькое. Если вы хотите прикрепить этот анкер к скобе или использовать более толстую веревку, скоба или веревка могут не пройти через проушину веревки.
Плюсы
- Подходит для рыболовных лодок, таких как понтоны и лодки для окуня
- Предназначен для работы в реках и озерах с илистым дном
- ПВХ-покрытие защищает от ржавчины и облегчает очистку
- Формованная веревочная проушина для предотвращения потери анкерного крепления.
Минусы
- Ушко для веревки может быть слишком маленьким для скоб или более толстой веревки.

Сделайте вещи практичными и простыми с этим тяжелым и прочным якорем, который лучше всего подходит для рыбалки.Поскольку он прост в использовании и обслуживании, с ним не возникнет проблем.
Руководство покупателя
Не все анкеры одинаковы, и есть некоторые существенные различия, которые необходимо учитывать. Определенный якорь может хорошо работать в определенных условиях и на лодках определенных размеров, но может выйти из строя, если эти условия изменятся или если он будет использоваться с лодкой неподходящего размера.
Таким образом, перед покупкой речного якоря, наиболее подходящего для ваших конкретных нужд, необходимо учитывать ряд важных факторов:
Размер вашей лодки помогает определить вес необходимого якоря.Якорь должен быть достаточно тяжелым, чтобы правильно пришвартовать лодку, не сбиваясь с места. Также важно убедиться, что ваш якорь не слишком тяжелый для вашего гидроцикла.
Реки и озера имеют разные типы поверхности дна.
Одни каменистые, другие грязные, третьи песчаные, третьи заросшие травой. Каждый из различных типов речных якорей подходит для конкретных поверхностей дна. Например, якоря Данфорта лучше всего подходят для песчаного или илистого дна.
Лучше всего изучить типы речных якорей и условия, для которых они подходят. Таким образом, вы будете уверены, что выбранный вами якорь оптимизирован для условий на реке или озере, которые вы часто посещаете.
Обратите внимание на различные типы речных якорей, которые обычно используют яхтсмены. Есть типичный грибовидный якорь, а также своего рода подтип, у которого есть хвостовые плавники. Есть также якорь Данфорта, якорь с лапой, якорь-кошка и многое другое.
Уход и техническое обслуживание
После того, как ваш день на воде закончился, очень важно убедиться, что ваш якорь хорошо вымыт, прежде чем убрать его.Снимите якорь с лодки и убедитесь, что вы сняли цепь, если вы ее используете.
Убедитесь, что вы удалили всю грязь, мусор, грязь и т.
п. с якоря. Затем вы можете промыть его и его цепь пресной водой. После этого внимательно проверьте цепь на наличие признаков износа. В частности, важно проверить ту часть, где цепь соединяется с якорем.
Кроме того, убедитесь, что ваш якорный ящик или место, где вы храните якорь, также чистые.Удалите всю грязь, песок или грязь перед хранением якоря.
Еще одна вещь, за которой вам нужно следить, — это покрытие или отделка вашего якоря. Регулярно проверяйте свой якорь, чтобы увидеть, как держится его отделка. Если вы видите трещины или отслоения, возможно, вам придется каким-то образом отремонтировать отделку.
Некоторые анкеры также поставляются с покрытием из ПВХ или резины. Тем не менее, это покрытие также может отслаиваться или отслаиваться со временем. К счастью, вы можете повторно погрузить якорь, чтобы восстановить его покрытие. Это покрытие предотвращает ржавчину и облегчает очистку, поэтому важно поддерживать его как можно лучше.
Часто задаваемые вопросы
Кто делает лучший речной якорь?
Известно, что такие бренды, как Attwood, Extreme Max, MarineNow, Five Oceans и Seachoice, производят высококачественные речные якорные системы для лодок и различные другие изделия для плавсредств.
Однако важно также отметить, что другие производители и бренды также продают высококачественные и надежные речные якоря. Такие имена, как Danielson и Camco, возможно, не так известны, как другие, но их, безусловно, стоит проверить.
Какие существуют типы якорей для речных судов?
Типы речных якорейвключают:
- Грибовидные анкеры
- Анкеры Danforth
- Складные якоря-кошки
- Коробчатые анкеры
Анкеры бывают разных размеров, форм и конструкций. Таким образом, разные типы якорей могут работать по-разному, хотя все они имеют одну и ту же основную функцию. Некоторые больше подходят для рек и озер с каменистым или заросшим дном, а другие больше подходят для илистого или песчаного дна.
Поскольку эти типы якорей имеют важные различия, важно выяснить, какой тип лучше всего подойдет для вашей лодки и водоема, который вы чаще всего посещаете.
Речной якорь какого размера мне нужен?
Это зависит от размера вашего гидроцикла и водоема, по которому вы плывете.
Следует учитывать условия на реке или озере, а также течение. Некоторые якоря могут выдерживать быстрое течение и ветреную погоду, в то время как другие лучше всего подходят для использования в тихие дни на спокойной воде.
Вы можете свериться с таблицей размеров речных якорей, чтобы узнать, какой размер или вес якоря вам нужен. Например, речной якорь весом 30 фунтов подходит для лодки определенного размера. Хотя такие руководства не являются абсолютно безошибочными, они являются хорошей отправной точкой.
Чем больше опыта плавания вы приобретете, тем лучше вы сможете понять, какой размер и тип якоря вам нужен в зависимости от вашей лодки.
С какой стороны судна никогда не следует бросать якорь?
Один из самых важных советов, о котором следует помнить, никогда не опускайте якорь с кормы.Это может привести к попаданию воды в лодку и ее опрокидыванию.
Как сделать речной якорь?
Изготовление речного якоря требует использования металлических труб и отрезков.
Поэтому лучше всего, если вы умеете сваривать и работать с металлом. Если вы не умеете сваривать, наймите кого-нибудь, кто сделает это за вас.
Как поставить лодку на якорь на реке?
Поставить лодку на якорь можно так же просто, как бросить якорь в воду. Вы можете делать это в стоячей воде или даже при течении.Однако очень важно использовать правильный якорь для лодки, на которой вы находитесь, и условий, в которых вы находитесь.
Также важно знать, насколько глубока вода, потому что так вы узнаете, сколько линий вам понадобится. В зависимости от других факторов, таких как тип поверхности дна и скорость течения, постановка лодки на якорь может быть в разной степени затруднена.
Если вы не уверены, подходит ли вам якорь, вы можете обратиться к таблице размеров речных якорей.
Заключение
Существует широкий выбор речных якорей, поскольку они бывают разных типов, размеров и веса.Поскольку вариантов слишком много, выбор одного якоря требует много размышлений и размышлений.
Чтобы сузить свой выбор, вы можете просто посмотреть на лучших среди лучших. Лучшие речные якоря хорошо сделаны, долговечны и могут надежно работать в тех условиях, для которых они созданы. Имея это в виду, вы сможете сделать осознанный выбор, чтобы убедиться, что вы выбрали правильный якорь для себя и своего гидроцикла.
Хотя выбор лучшего речного якоря может потребовать некоторых усилий, это не должно быть трудным.
Просто помните об условиях на реке или озере, которые вы часто посещаете, и о характеристиках вашей лодки. Обладая этой информацией, вы сможете принять взвешенное решение.
Линия на песке: 6 потрясающих шпилей для скользящего якоря
Когда вы прибудете на берег, вам нужно закрепить свою лодку.
Но если нет ни доков, ни даже одной ветки, к которой можно было бы привязаться, что делать?
Ответ заключается в развертывании берегового шипа скользящего анкера. Таким образом, вы можете расслабиться, зная, что ваша лодка в безопасности, где бы вы ни находились.
А если у вас есть тендер или надувная шлюпка, вам особенно нужен скользящий анкерный шип в вашей жизни.
Береговые шипы скользящего якоря — это хитроумные маленькие приспособления, которые делают возможной швартовку в дикой природе или на берегу .
Я решил более подробно рассмотреть шесть лучших шпилей для скользящих анкеров и рассказать вам о достоинствах и доступных типах.
Что такое скользящий анкерный шип?
Береговой штырь для скользящего анкера — это самый простой элемент комплекта, который только можно придумать, но также и один из самых эффективных.
Обычно он состоит из длинного прямого шипа либо с Т-образной рукояткой, либо с захватом наверху . Зайдите в бухту и вставьте скользящий якорь в землю, чтобы было где закрепить лодку.
Они также недороги, легки и просты в хранении, что делает их идеальными спутниками при высадке на берег.
Наилучшее применение шпилей для скользящего анкера
Стоит отметить, что скользящий анкерный шип имеет смысл использовать только в случае отсутствия более надежного способа привязать лодку.Однако, если не существует других средств, шип скользящего анкера спроектирован таким образом, чтобы его можно было легко установить и он был эффективен на мелководье. Все, что вам нужно сделать, это вставить шип в песчаный берег и толкнуть или повернуть его в нужное положение.
Шип хорошо работает как на песчаных, так и на галечных пляжах, и даже на траве или грязи, если вы хотите зашвартоваться.
Лучше всего использовать анкерный шип только при слабом ветре и хорошей погоде. Песчаный пляж будет удерживать ваш шип и лодку на месте, но если вы слишком сильно натянете леску, она может ослабнуть, когда мелкое морское дно будет двигаться вместе с приливом.Точно так же галька, почва и трава могут не выдержать вес вашего скользящего анкерного шипа с прикрепленной лодкой, если натяжение канатов станет слишком большим.
Еще одна вещь, которую следует помнить, это то, что шипы скользящего анкера действительно предназначены только для использования на берегу или на мелководье. Вам будет сложно использовать один из шести футов воды, если вы не захотите нырнуть на морское дно, чтобы развернуть его. В идеале скользящий анкерный шип наиболее эффективно работает на глубине от 12 до 24 дюймов.
Преимущества береговых шипов для скользящих анкеров
Каждый элемент морского оборудования имеет свое применение и свое место на вашем судне, но скользящий анкерный шип является одним из таких необходимых предметов, поскольку он дает вам душевное спокойствие на берегу.
Итак, каковы преимущества?
- Легкий — Нам всем нравится легкое оборудование, верно? «Я бы хотел, чтобы мой скользящий анкерный шип был действительно тяжелым», — никто никогда не говорил!
- Простота установки — забейте их молотком, толкните или поверните, чтобы установить на место. Это действительно так просто!
- Защитит вашу лодку в любом месте — Пока есть берег или пляж, шип скользящего якоря защитит вашу лодку.
- Дает душевное спокойствие — Вам не придется беспокоиться о том, что ваша лодка уплывает по течению.Точно так же это означает, что вы можете расслабиться и наслаждаться днем, зная, что ваша лодка в безопасности.
- Дешевая покупка — Некоторые скользящие анкерные шипы стоят всего 40 или 50 долларов.
- Легко хранить — Поскольку это длинные тонкие шипы, их достаточно легко хранить в шкафчике и задвигать под многоместные сиденья в лодке.

Характеристики береговых шипов скользящего анкера
Материалы для береговых шипов
- Пластиковая смола — Пластиковая смола износостойкая, прочная и не подвержена разрушительному воздействию моря.Это будет длиться вечно. Единственный недостаток пластикового шипа в том, что он предназначен для небольших или легких лодок.
- С порошковым покрытием — Анкерные шипы с порошковым покрытием предназначены для защиты от непогоды и воды. Часто, когда стальные или другие металлические рамы подвергаются воздействию элементов, они начинают подвергаться коррозии, поэтому, нанося на них порошковое покрытие, вы снижаете этот риск и увеличиваете срок службы.
- Оцинкованный металл — Оцинкованный металл, обычно сталь, имеет цинковое покрытие для защиты от ржавчины.
Стили береговых шипов
- Шип — обычно эти скользящие анкеры представляют собой длинные тонкие трубки из стали или полимера с резиновой ручкой, облегчающей развертывание.
Они имеют форму стрелы и вонзаются в землю.
- Т-образный стержень — Эти анкерные шипы закручиваются в землю, с перекладиной наверху, которая действует как ручка. Конец шипа имеет наконечник с эффектом штопора, который при скручивании захватывает песок или почву, обеспечивая надежную опору в земле.
- Штопор — они работают по тому же принципу, что и Т-образные разновидности, но весь стержень шипа спиральный, как длинный штопор, и закручивается в землю.
Какой размер шипа скользящего анкера?
- Маленький якорный шип — Обычно небольшой якорный шип выдерживает вес лодки длиной примерно до 21 фута. Это зависит от веса судна и того, какой комплект вы несете, но они идеально подходят для использования с надувной лодкой или каяком.Небольшой анкерный шип имеет длину примерно два-три фута.
- Средние анкерные шипы — предназначены для использования с лодками до 35 футов.
Обычно средний шип имеет длину от трех до четырех футов.
- Большие якорные шипы — предназначены для удержания веса судов примерно 36 футов или более и могут быть любого размера в зависимости от требований.
Скользящий анкерный шип
Этот скользящий анкерный шип бывает двух размеров: маленький и большой.
Он изготовлен из оцинкованной стали , поэтому он должен выдерживать суровые условия жизни на лодке и быть защищенным от любых воздействий.
Этот шип прост в использовании, потому что он использует кинетическую энергию, чтобы вонзить его в землю и извлечь.
Этот продукт очень хорошо держится, поэтому, если вы, как и я, хотите спокойствия, этот анкер будет отличным выбором.
- Материал : Оцинкованная сталь
- Стиль : Шип
Пляжный якорь «Песчаная акула»
Что отличает этот якорь от других представленных береговых шипов, так это то, что он состоит из трех секций, что позволяет вам решить, какой длины он вам нужен.
Т-образная конструкция и наконечник штопора позволяют получить дополнительное преимущество в земле. Он прост в эксплуатации, и с помощью нескольких поворотов ваша лодка будет в безопасности.
Изготовленный из пластиковой смолы, этот шип легкий, простой в использовании и недорогой по сравнению с некоторыми, которые мне нравятся.
Другим преимуществом смоляного шипа является то, что он обладает антикоррозионным покрытием и не ржавеет .
- Материал : Пластик Смола
- Тип : Т-образный стержень
Анкер повышенной прочности Ironwood Pacific
Это еще один Т-образный дизайн , но в отличие от Песчаной Акулы, стержень съемный.Это означает, что после того, как вы поставили свою лодку на якорь, кому-то будет труднее попытаться удалить якорный шип.
Порошковое покрытие защищает эту сталь от воды и непогоды, увеличивая срок службы анкера.
Он также поставляется с удобной сумкой для хранения . С точки зрения безопасности я бы выбрал этот анкерный шип.
- Материал : Сталь с порошковым покрытием
- Тип : Т-образный стержень
Анкер Ultimate PWC Premium
Итак, этот якорь довольно дорогой, но товар хорошего качества.
Имеет складывающуюся Т-образную ручку , которая вставляется на место. Это легкий и простой в использовании , и это второй продукт Sand Shark с функциями.
В этой песочной акуле используется система шнеков , которая создает всасывание и сцепление , позволяя якорю наполняться песком, и является регулируемым, состоящим из трех секций с помощью регулировочных штифтов.
В целом, этот якорь хорошо сделан и очень эффективен.
- Материал : Алюминий
- Тип : Т-образный стержень
Пляжный шип Гринфилдс
Как и шип из Айронвуда, этот тоже имеет порошковое покрытие.
Компания Greenfields попыталась максимально упростить использование этого берегового шипа, разработав самоходный молоток , чтобы закрепить его в почве.
Для удобства предусмотрена рукоятка из ПВХ , а компания Greenfields даже добавила стальную скобу, облегчающую крепление лески. Как и мне, вам понравится цена, что делает этот якорь качественным бюджетным вариантом.
- Материал : Сталь с порошковым покрытием
- Стиль : Шип
Пляжный шип Seachoice
Эти пляжные шипы Seachoice самозабиваются и имеют обрезиненную ручку для удобства.
Он весит всего один фунт, поэтому он сверхлегкий, но выдержит нагрузку 30-футовой лодки .
Единственным недостатком является то, что стальная конструкция, скорее всего, изнашивается при использовании, а это означает, что вам может потребоваться заменить ее раньше, чем некоторые шипы скользящего анкера, представленные в этом списке.
Цена конкурентоспособна, но она дороже, чем анкеры Greenfields или смоляные анкеры Sand Shark.
- Материал : Сталь
- Стиль : Шип
Заключительные мысли
Надеюсь, прочитав это, вы увидите значение шипа скользящего якоря.За относительно небольшую сумму вы можете обеспечить безопасность своего судна, а это значит, что вы можете расслабиться на пляже или отправиться на прогулку, чтобы исследовать новые окрестности.
И когда ты вернешься, твоя лодка все еще будет там.
Какой бы скользящий анкерный шип вы ни выбрали, помните, что он будет подвергаться воздействию суровых условий, поэтому постарайтесь приобрести оцинкованный или окрашенный шип. Другой вариант — использовать смоляной шип, потому что он не подвержен коррозии.
Марк Вейр Живет на лодке в самом сердце Англии со своей женой Джули и сварливым псом Эриком.Марк любит путешествовать по водным путям на своей барже с широкой балкой, снимая свои подвиги во время путешествия.

Стандартный вес профессионального якоря – 3 кг. При такой массе он способен удерживать груз весом до 300 кг, что в разы превышает аналогичные показатели самодельного якоря весом в 15-20 кг.-1000x1000.jpg)

Куски металла просверливаются по центру и набираются на шпильку, начиная с меньшего по размеру. Набрав необходимое количество грузов, всю конструкцию фиксируют с помощью гайки. Весомым плюсом является простота устройства и возможность регулировать его массу, при необходимости добавляя или убирая листы металла.
Рассчитывается либо по специальным формулам, либо из значений таблиц. Специалисты рекомендуют больше ориентироваться на вес якоря. В среднем, его масса должна составлять примерно 10% от грузоподъемности надувной . Вес якоря также можно определить по следующему соотношению. Он должна быть не менее 1% от длины лодки. Например, если длина 4,5 м. (450 см.), то умножаем это значение в (см.) на 0,01. В результате получаем, что для такой надувной лодки ПВХ, вес якоря должен быть не менее 4,5 кг.

Считается, что этот показатель должен превышать глубину в местах плавания в среднем в 4-5 раз. Кроме этого рекомендуется использовать специальные рым-кольца для стопорения якорного каната.
Например, на водоемах с большой глубиной рекомендуется использовать стандартный плуговой якорь, а на водоемах с сильным течением либо грибовидный якорь, либо якорь Norhil.
Просверлите в рожках отверстия, чтобы можно было соединить их прутьями с отверстиями на других концах четырехсантиметровых полосок.







Если якорь тянется, выпустите больше веревки. Как только лодка остановится, закрепите веревку в каяке.
Я просверлил отверстия в панели ПВХ и алюминии, чтобы использовать их для банджи и т. д.





Они имеют форму стрелы и вонзаются в землю.
Обычно средний шип имеет длину от трех до четырех футов.